TOP
|
特許
|
意匠
|
商標
特許ウォッチ
Twitter
他の特許を見る
公開番号
2025166654
公報種別
公開特許公報(A)
公開日
2025-11-06
出願番号
2024070827
出願日
2024-04-24
発明の名称
ガス絶縁開閉装置
出願人
日新電機株式会社
代理人
弁理士法人 HARAKENZO WORLD PATENT & TRADEMARK
主分類
H02B
13/035 20060101AFI20251029BHJP(電力の発電,変換,配電)
要約
【課題】主管と枝管とを結ぶ辺の形状が曲線のみの場合、補強部材の平面面積が小さくなるため、補強部材の強度が低くなる傾向がある。
【解決手段】ガス絶縁開閉装置は、主管(11)と、枝管(12)とを含む圧力容器(1)と、板状の補強部材(10)とを備え、補強部材は、第1辺部(13)と、第2辺部(14)と、第3辺部(15)とを有し、第3辺部は、直線部(151)および曲線部(152)を含む。
【選択図】図2
特許請求の範囲
【請求項1】
主管と、前記主管から分岐する枝管とを含む圧力容器と、
前記主管および前記枝管に接続する板状の補強部材とを備え、
前記補強部材は、
前記主管に接続する第1辺部と、
前記枝管に接続する第2辺部と、
前記第1辺部と前記第2辺部とを結ぶ第3辺部とを有し、
前記第3辺部は、直線部および主管と枝管との接続部位に向かって凹む曲線部を含む、ガス絶縁開閉装置。
続きを表示(約 810 文字)
【請求項2】
前記直線部は、前記第1辺部から、前記主管に対し略垂直に延伸する第1直線部と、前記第2辺部から、前記枝管に対し略垂直に延伸する第2直線部とを含み、前記曲線部は、前記第1直線部と前記第2直線部との間に位置している、請求項1に記載のガス絶縁開閉装置。
【請求項3】
前記第3辺部は、前記曲線部と前記第1直線部との間、または前記曲線部と前記第2直線部との間に、第3直線部を含む、請求項2に記載のガス絶縁開閉装置。
【請求項4】
前記枝管は、前記主管との接続部とは反対側の端部に枝管フランジを備えており、
前記第2直線部の少なくとも一部は前記枝管フランジに接続している、請求項2に記載のガス絶縁開閉装置。
【請求項5】
前記主管の端部は主管フランジを備えており、
前記第1直線部の少なくとも一部は前記主管フランジに接続している、請求項2に記載のガス絶縁開閉装置。
【請求項6】
前記枝管の断面形状は、直線部および円弧部を含む長円形状であり、
前記補強部材は、該直線部に位置している、請求項1に記載のガス絶縁開閉装置。
【請求項7】
前記補強部材は、前記第1辺部と前記第2辺部とが交差する角部に、切欠きを有している、請求項1に記載のガス絶縁開閉装置。
【請求項8】
前記補強部材は、前記第2辺部と前記第2直線部とが交差する角部に、切欠きを有している、請求項4に記載のガス絶縁開閉装置。
【請求項9】
前記補強部材は、前記第1辺部と前記第1直線部とが交差する角部に、切欠きを有している、請求項5に記載のガス絶縁開閉装置。
【請求項10】
前記補強部材は、前記第1辺部において、角部以外の箇所にもさらに切欠きを有している、請求項9に記載のガス絶縁開閉装置。
発明の詳細な説明
【技術分野】
【0001】
本開示はガス絶縁開閉装置に関する。
続きを表示(約 1,400 文字)
【背景技術】
【0002】
特許文献1には、主管と、この主管から分岐する枝管とで構成される容器に発生する応力を抑制する構造として、枝管の側面に補強リブが設けられたガス絶縁開閉装置が開示されている。特許文献1に記載の補強リブは、曲線部を備えている。
【先行技術文献】
【特許文献】
【0003】
国際公開第2015/125307号
【発明の概要】
【発明が解決しようとする課題】
【0004】
しかしながら、上述のような従来技術は、主管と枝管とを結ぶ辺の形状が曲線のみの場合、補強部材の平面面積が小さくなるため、補強部材の強度が低くなる傾向がある。
【課題を解決するための手段】
【0005】
上記の課題を解決するために、本開示の一態様に係るガス絶縁開閉装置は、主管と、前記主管から分岐する枝管とを含む圧力容器と、前記主管および前記枝管に接続する板状の補強部材とを備え、前記補強部材は、前記主管に接続する第1辺部と、前記枝管に接続する第2辺部と、前記第1辺部と前記第2辺部とを結ぶ第3辺部とを有し、前記第3辺部は、直線部および主管と枝管との接続部位に向かって凹む曲線部を含む。
【発明の効果】
【0006】
本開示の一態様によれば、補強部材の強度を向上させることができる。
【図面の簡単な説明】
【0007】
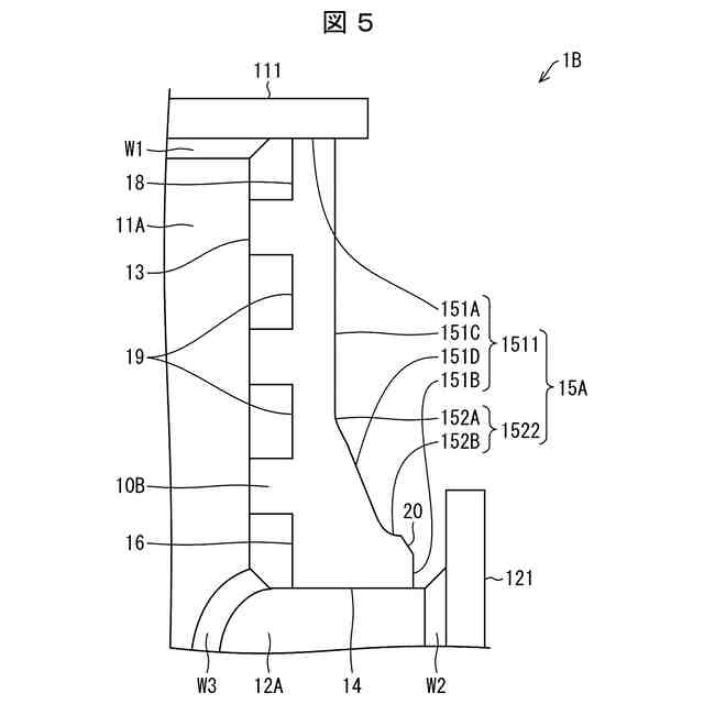
本開示の実施形態に係るガス絶縁開閉装置の外観構成を示す斜視図である。
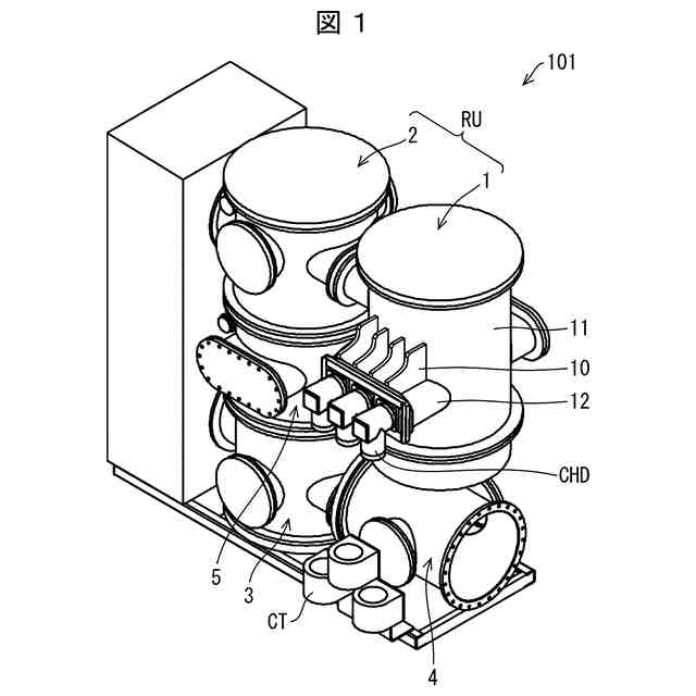
本開示の実施形態に係るガス絶縁開閉装置の部分拡大図である。
本開示の範囲内の補強部材と、本開示の範囲外の補強部材と、を用いた応力解析の結果を示す図である。
本開示の別の実施形態に係るガス絶縁開閉装置の部分拡大図である。
本開示のさらに別の実施形態に係るガス絶縁開閉装置の部分拡大図である。
【発明を実施するための形態】
【0008】
〔実施形態1〕
図1は、実施形態1に係るガス絶縁開閉装置101の外観構成を示す斜視図である。
【0009】
ガス絶縁開閉装置101は、変流器CTと、ケーブルヘッドCHDと、受電ユニットRUと、第2遮断器ユニット3と、接続ユニット4と、母線室5とを、主要部として備えている。受電ユニットRUは、圧力容器1および第1遮断器ユニット2を有している。変流器CTは、電路に流れる電流を計測する。ケーブルヘッドCHDには、電路のケーブルの端部が接続される。
【0010】
第1遮断器ユニット2、母線室5および第2遮断器ユニット3は、上下方向に積み上げられるように配置されている。具体的には、第2遮断器ユニット3が母線室5の下(直下)に配置され、第1遮断器ユニット2が母線室5の上(直上)に配置されている。接続ユニット4は、第2遮断器ユニット3の側方に配置されている。圧力容器1は、接続ユニット4の上方に配置されている。圧力容器1は、主管11と、主管11から分岐した枝管12とを有している。図1で示す枝管12は、ケーブルヘッドCHDと接続され、内部に電路を有する枝管であるが、圧力容器1から分枝した配管であればよく、これに限定されない。
(【0011】以降は省略されています)
この特許をJ-PlatPat(特許庁公式サイト)で参照する
関連特許
日新電機株式会社
遮断装置
2か月前
日新電機株式会社
遮断装置
6日前
日新電機株式会社
ベッセル
1か月前
日新電機株式会社
電子除湿器
28日前
日新電機株式会社
ガス絶縁機器
2か月前
日新電機株式会社
化学蓄熱反応器
1か月前
日新電機株式会社
プラズマ処理装置
1か月前
日新電機株式会社
ガス絶縁開閉装置
6日前
日新電機株式会社
DC-DCコンバータ
13日前
日新電機株式会社
刃先保護部材及び被膜除去方法
1か月前
日新電機株式会社
異常判定装置及び異常判定方法
1か月前
日新電機株式会社
真空漏れ検出器および真空装置
1か月前
日新電機株式会社
欠陥検出方法および真空遮断器
1か月前
日新電機株式会社
真空処理装置、および、ベッセル
1か月前
日新電機株式会社
情報処理装置および情報処理方法
2か月前
日新電機株式会社
ガス絶縁機器およびその製造方法
16日前
日新電機株式会社
モデル生成装置およびモデル生成方法
2か月前
日新電機株式会社
モデル生成装置およびモデル生成方法
2か月前
日新電機株式会社
プラズマ処理装置及びプラズマ処理方法
1か月前
日新電機株式会社
表示装置、表示方法、およびプログラム
26日前
日新電機株式会社
電源システム及び電源システムの制御方法
1か月前
日新電機株式会社
電源システム及び電源システムの制御方法
1か月前
日新電機株式会社
配電システム、および、クラスタの制御方法
21日前
日新電機株式会社
汚泥処理制御システムおよび汚泥処理制御方法
19日前
日新電機株式会社
検出装置、電力供給システム、および検出方法
19日前
日新電機株式会社
制御装置、直流配電システム、および制御方法
2か月前
日新電機株式会社
情報処理装置、評価システム、および情報処理方法
2か月前
日新電機株式会社
通信ユニット、サーバ、通信システムおよび通信方法
1か月前
日新電機株式会社
加工方法、治具及び勾配面加工用3軸マシニングセンタ
28日前
日新電機株式会社
高調波フィルタ設備及び高調波フィルタ設備の設定方法
1か月前
日新電機株式会社
コーティング部品及びコーティング部品を備えるコーティング工具
8日前
日新電機株式会社
電源システム、電源システムの制御方法及び電源システムのプログラム
16日前
日新電機株式会社
ダイヤモンド薄膜、コーティングデバイス及びダイヤモンド薄膜の製造方法
5日前
日新電機株式会社
油入電気機器用の電気絶縁油基油、これを含有する電気絶縁油及び油入電気機器
19日前
国立大学法人神戸大学
サーマルサーキットシステム
2か月前
個人
単極モータ
29日前
続きを見る
他の特許を見る