TOP
|
特許
|
意匠
|
商標
特許ウォッチ
Twitter
他の特許を見る
公開番号
2025161179
公報種別
公開特許公報(A)
公開日
2025-10-24
出願番号
2024064149
出願日
2024-04-11
発明の名称
汚泥処理制御システムおよび汚泥処理制御方法
出願人
日新電機株式会社
代理人
弁理士法人 HARAKENZO WORLD PATENT & TRADEMARK
主分類
C02F
11/00 20060101AFI20251017BHJP(水,廃水,下水または汚泥の処理)
要約
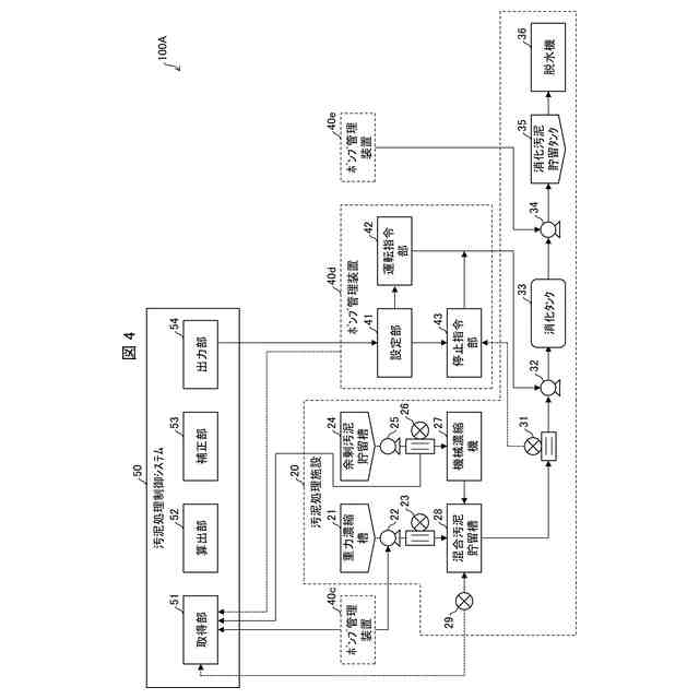
【課題】混合汚泥貯留槽の液位を容易に安定させることができる汚泥処理制御システムを実現する。
【解決手段】汚泥処理制御システムは、混合汚泥貯留槽(28)の現在液位と、初沈汚泥および余剰汚泥の投入予定量と、混合汚泥の移送予定量とに基づき、推定液位を算出する算出部(52)と、前記推定液位が許容上限値を超えていた場合、前記移送予定量を増加させる補正を行う補正部(53)と、を備える。
【選択図】図4
特許請求の範囲
【請求項1】
混合汚泥貯留槽の現在液位と、上流から前記混合汚泥貯留槽に投入される初沈汚泥および余剰汚泥の投入予定量と、前記混合汚泥貯留槽から下流に移送される混合汚泥の移送予定量とに基づき、所定時間後の前記混合汚泥貯留槽の推定液位を算出する算出部と、
前記推定液位が前記混合汚泥貯留槽の液位の許容上限値を超えていた場合、前記移送予定量を増加させる補正を行う補正部と、を備える、汚泥処理制御システム。
続きを表示(約 390 文字)
【請求項2】
前記補正部は、前記推定液位が前記許容上限値を下回るように、前記移送予定量を補正する、請求項1に記載の汚泥処理制御システム。
【請求項3】
前記補正部は、1回あたりの前記混合汚泥貯留槽から下流に移送される前記混合汚泥の移送量を増加させることで、前記移送予定量を増加させる、請求項1に記載の汚泥処理制御システム。
【請求項4】
混合汚泥貯留槽の現在液位と、上流から前記混合汚泥貯留槽に投入される初沈汚泥および余剰汚泥の投入予定量と、前記混合汚泥貯留槽から下流に移送される混合汚泥の移送予定量とに基づき、所定時間後の前記混合汚泥貯留槽の推定液位を算出する算出ステップと、
前記推定液位が前記混合汚泥貯留槽の液位の許容上限値を超えていた場合、前記移送予定量を増加させる補正を行う補正ステップと、を含む、汚泥処理制御方法。
発明の詳細な説明
【技術分野】
【0001】
本発明は、汚泥処理制御システムおよび汚泥処理制御方法に関する。
続きを表示(約 1,400 文字)
【背景技術】
【0002】
下水処理は、水処理と汚泥処理とに大別される。水処理では、下水処理施設に導入された汚水が、水と汚泥とに分離される。具体的には、最初沈殿池により初沈汚泥が沈降分離され、最終沈殿池において余剰汚泥(過剰の活性汚泥)が沈降分離される。汚泥処理では、水処理により分離された汚泥(初沈汚泥および余剰汚泥)の水分を減らすことで、汚泥の減量化が行われる。特許文献1,2は、このような汚泥の量的制御に係る発明を開示している。
【先行技術文献】
【特許文献】
【0003】
特許6621659号明細書
特開昭61-242700号公報
【発明の概要】
【発明が解決しようとする課題】
【0004】
しかしながら、引用文献1,2に開示される発明では、水処理施設からの汚泥投入量の予期せぬ変動を考慮していない。そのため、このような汚泥投入量の変動により、初沈汚泥および余剰汚泥を貯留する混合汚泥貯留槽の液位が変動してしまう。それゆえ、水処理施設からの汚泥の投入を停止する、または汚泥投入量の設定値を変更する必要がある。したがって、メンテナンスに係る労力を要することとなる。
【0005】
本発明の一態様は、上記の問題点を鑑みてなされたものであり、その目的は、混合汚泥貯留槽の液位を容易に安定させることができる汚泥処理制御システムを実現することを目的とする。
【課題を解決するための手段】
【0006】
上記の課題を解決するために、本発明の態様1に係る汚泥処理制御システムは、混合汚泥貯留槽の現在液位と、上流から前記混合汚泥貯留槽に投入される初沈汚泥および余剰汚泥の投入予定量と、前記混合汚泥貯留槽から下流に移送される混合汚泥の移送予定量とに基づき、所定時間後の前記混合汚泥貯留槽の推定液位を算出する算出部と、前記推定液位が前記混合汚泥貯留槽の液位の許容上限値を超えていた場合、前記移送予定量を増加させる補正を行う補正部と、を備える。
【0007】
本発明の態様2に係る汚泥処理制御システムでは、上記態様1において、前記補正部は、前記推定液位が前記許容上限値を下回るように、前記移送予定量を補正してもよい。
【0008】
本発明の態様3に係る汚泥処理制御システムでは、上記態様1または2において、前記補正部は、1回あたりの前記混合汚泥貯留槽から下流に移送される前記混合汚泥の移送量を増加させることで、前記移送予定量を増加させてもよい。
【0009】
上記の課題を解決するために、本発明の態様4に係る汚泥処理制御方法は、混合汚泥貯留槽の現在液位と、上流から前記混合汚泥貯留槽に投入される初沈汚泥および余剰汚泥の投入予定量と、前記混合汚泥貯留槽から下流に移送される混合汚泥の移送予定量とに基づき、所定時間後の前記混合汚泥貯留槽の推定液位を算出する算出ステップと、前記推定液位が前記混合汚泥貯留槽の液位の許容上限値を超えていた場合、前記移送予定量を増加させる補正を行う補正ステップと、を含む。
【発明の効果】
【0010】
本発明の一態様によれば、混合汚泥貯留槽の液位を容易に安定させることができる。
【図面の簡単な説明】
(【0011】以降は省略されています)
この特許をJ-PlatPat(特許庁公式サイト)で参照する
関連特許
日新電機株式会社
DC-DCコンバータ
2日前
日新電機株式会社
ガス絶縁機器およびその製造方法
5日前
日新電機株式会社
表示装置、表示方法、およびプログラム
15日前
日新電機株式会社
配電システム、および、クラスタの制御方法
10日前
日新電機株式会社
検出装置、電力供給システム、および検出方法
8日前
日新電機株式会社
汚泥処理制御システムおよび汚泥処理制御方法
8日前
日新電機株式会社
加工方法、治具及び勾配面加工用3軸マシニングセンタ
17日前
日新電機株式会社
電源システム、電源システムの制御方法及び電源システムのプログラム
5日前
日新電機株式会社
油入電気機器用の電気絶縁油基油、これを含有する電気絶縁油及び油入電気機器
8日前
株式会社ウィズアクア
水質浄化装置
18日前
栗田工業株式会社
排水回収装置
29日前
三浦工業株式会社
汚泥減容方法
1か月前
三浦工業株式会社
汚泥乾燥加熱釜
10日前
株式会社ライトアース
水循環式水質浄化システム
4日前
三浦工業株式会社
精製水供給システム
10日前
栗田工業株式会社
電気イオン濃縮装置
8日前
名古屋メッキ工業株式会社
溶存金属析出装置
8日前
栗田工業株式会社
用水の水質予測方法
29日前
スタンレー電気株式会社
流体除菌装置
2日前
栗田工業株式会社
超純水製造装置の制御方法
18日前
株式会社神鋼環境ソリューション
貯留槽
22日前
WOTA株式会社
液性判定システム及び液性判定方法
8日前
栗田工業株式会社
電気脱イオン装置の運転方法
9日前
水ing株式会社
廃溶液の処理方法
23日前
栗田工業株式会社
水質予測方法及び水質制御方法
29日前
株式会社クボタ
電解水生成装置
23日前
株式会社クボタ
電解水生成装置
23日前
株式会社クボタ
電解水生成装置
23日前
パナソニックIPマネジメント株式会社
軟水化装置
23日前
パナソニックIPマネジメント株式会社
軟水化装置
23日前
オルガノ株式会社
尿素処理装置および尿素処理方法
1か月前
株式会社クボタ
電解水生成装置
23日前
オルガノ株式会社
水処理システムおよびその運転方法
1か月前
水ing株式会社
排水処理方法及び装置
29日前
三浦工業株式会社
汚泥減容システム
22日前
パナソニックIPマネジメント株式会社
電解水生成装置
22日前
続きを見る
他の特許を見る