TOP
|
特許
|
意匠
|
商標
特許ウォッチ
Twitter
他の特許を見る
公開番号
2025156921
公報種別
公開特許公報(A)
公開日
2025-10-15
出願番号
2024059685
出願日
2024-04-02
発明の名称
電子除湿器
出願人
日新電機株式会社
代理人
弁理士法人 HARAKENZO WORLD PATENT & TRADEMARK
主分類
B01D
53/26 20060101AFI20251007BHJP(物理的または化学的方法または装置一般)
要約
【課題】設備箱体の外部に設置される部分を小型化した電子除湿器を提供する。
【解決手段】電子除湿器(1)は、多湿空気(A1)を冷却するペルチェ素子(31)を含み、多湿空気(A1)を除湿する除湿部(3)と、除湿部(3)によって多湿空気(A1)から取り除いた除湿水(W)を超音波振動(U)により霧化する圧電振動子(45)を含み、霧(F)を設備箱体(51)の外部に排出する排出部(4)と、を備える。
【選択図】図1
特許請求の範囲
【請求項1】
設備箱体の内部を除湿する電子除湿器であって、
前記設備箱体の内部の空気を冷却する冷却部を含み、前記空気を除湿する除湿部と、
前記除湿部によって前記空気から取り除いた除湿水を超音波振動により霧化する霧化部を含み、霧化した水を前記設備箱体の外部に排出する排出部と、
を備えることを特徴とする電子除湿器。
続きを表示(約 610 文字)
【請求項2】
前記設備箱体の内部に設置され、前記空気を吸引する吸気口および前記霧化した水を排出する霧排出口を有するケースをさらに備え、
前記除湿部および前記排出部は、前記ケースに収容される、請求項1に記載の電子除湿器。
【請求項3】
前記排出部は、
前記除湿部の下方に配置され、前記除湿水を受ける水受けと、
前記水受けが受けた前記除湿水を溜めるタンクと、
をさらに含み、
前記霧化部は、前記タンクの内部で前記除湿水を霧化する、請求項1または2に記載の電子除湿器。
【請求項4】
前記排出部は、前記水受けに接続され、前記水受けが受けた前記除湿水を前記タンクへ導く導水管をさらに含み、
前記導水管は、前記霧化した水が当該導水管を逆流することを防ぐ逆流防止構造を有する、請求項3に記載の電子除湿器。
【請求項5】
前記排出部は、前記タンクの内部に敷設され、前記除湿水を吸収する吸水パッドをさらに含み、
前記霧化部は、前記吸水パッドが吸収した前記除湿水を霧化する、請求項3に記載の電子除湿器。
【請求項6】
前記排出部は、前記タンクに溜めた前記除湿水を吸い上げる吸水スティックをさらに含み、
前記霧化部は、前記吸水スティックが吸い上げた前記除湿水を霧化する、請求項3に記載の電子除湿器。
発明の詳細な説明
【技術分野】
【0001】
本開示は、設備箱体の内部を除湿する電子除湿器に関する。
続きを表示(約 1,200 文字)
【背景技術】
【0002】
従来、例えば電気設備等の設備箱体の内部を除湿する電子除湿器が知られている。この種の電子除湿器に関し、特許文献1には、設備箱体の内部で除湿した除湿水を排水ホースによって設備箱体の外部に設置した外部水受けへ誘導し、電子除湿器の発熱部からの導熱により除湿水を加熱蒸発させて処理する技術が提案されている。
【先行技術文献】
【特許文献】
【0003】
特開2003-232576号公報
【発明の概要】
【発明が解決しようとする課題】
【0004】
しかしながら、前述した従来技術では、外部水受けおよび当該外部水受けに溜めた除湿水を加熱する加熱機構を設備箱体の外部に設ける必要性があり、設備箱体の外部に設置される部分が大型化するという課題があった。
【0005】
本開示の一態様は、前記課題に鑑みてなされたものであって、設備箱体の外部に設置される部分を小型化することができる電子除湿器を提供することにある。
【課題を解決するための手段】
【0006】
前記課題を解決するために、本開示の一態様に係る電子除湿器は、設備箱体の内部を除湿する電子除湿器であって、前記設備箱体の内部の空気を冷却する冷却部を含み、前記空気を除湿する除湿部と、前記除湿部によって前記空気から取り除いた除湿水を超音波振動により霧化する霧化部を含み、霧化した水を前記設備箱体の外部に排出する排出部と、
を備える。
【発明の効果】
【0007】
本開示の一態様によれば、設備箱体の外部に設置される部分を小型化した電子除湿器を提供することができる。
【図面の簡単な説明】
【0008】
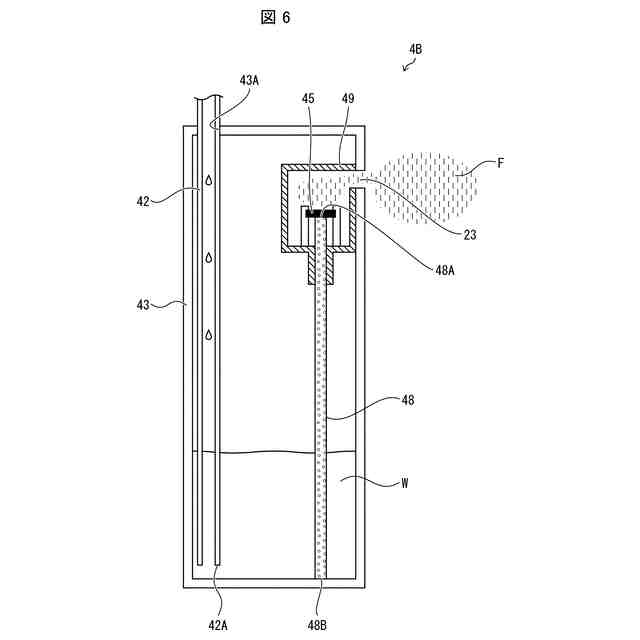
本開示の実施形態に係る電子除湿器を設備箱体に設置した状態を示す断面図である。
図1に示した電子除湿器を示す拡大断面図である。
前記電子除湿器の機能ブロックの要部を示す模式図である。
図3に示した制御回路が行う霧化制御の一例を示すフローチャートである。
図3に示した排出部の第1変形例を示す断面図である。
前記排出部の第2変形例を示す断面図である。
前記排出部の第3変形例を示す断面図である。
【発明を実施するための形態】
【0009】
以下、本開示の一実施形態について説明する。なお、以下の説明は本開示に係る電子除湿器の一例であり、本開示の技術的範囲は図示例に限定されるものではない。
【0010】
〔電子除湿器1の構成〕
まず、本実施形態に係る電子除湿器1の構成例を説明する。図1は、本実施形態に係る電子除湿器1を設備箱体51に設置した状態を例示した断面図である。図2は、図1に示した電子除湿器1を示す拡大断面図である。
(【0011】以降は省略されています)
この特許をJ-PlatPat(特許庁公式サイト)で参照する
関連特許
日新電機株式会社
遮断装置
1か月前
日新電機株式会社
受変電設備
13日前
日新電機株式会社
真空バルブ
6日前
日新電機株式会社
リアクトル鉄心
6日前
日新電機株式会社
ガス絶縁開閉装置
1か月前
日新電機株式会社
電力機器の試験方法
2日前
日新電機株式会社
DC-DCコンバータ
1か月前
日新電機株式会社
ガス絶縁機器およびその製造方法
1か月前
日新電機株式会社
表示装置、表示方法、およびプログラム
1か月前
日新電機株式会社
配電システム、および、クラスタの制御方法
1か月前
日新電機株式会社
DC-DCコンバータ、および、その制御方法
6日前
日新電機株式会社
汚泥処理制御システムおよび汚泥処理制御方法
1か月前
日新電機株式会社
検出装置、電力供給システム、および検出方法
1か月前
日新電機株式会社
加工方法、治具及び勾配面加工用3軸マシニングセンタ
1か月前
日新電機株式会社
DC-DCコンバータ、および、AC-DCコンバータ
21日前
日新電機株式会社
コーティング部品及びコーティング部品を備えるコーティング工具
1か月前
日新電機株式会社
皮膜付きアルミニウム材、及び皮膜付きアルミニウム材の製造方法
今日
日新電機株式会社
電源システム、電源システムの制御方法及び電源システムのプログラム
1か月前
日新電機株式会社
車種識別装置、車種識別モデル生成装置および車種識別モデル生成方法
2日前
日新電機株式会社
ダイヤモンド薄膜、コーティングデバイス及びダイヤモンド薄膜の製造方法
1か月前
日新電機株式会社
油入電気機器用の電気絶縁油基油、これを含有する電気絶縁油及び油入電気機器
1か月前
プライミクス株式会社
攪拌装置
21日前
日本バイリーン株式会社
フィルタ
1か月前
東レ株式会社
遠心ポッティング方法
1か月前
トヨタ自動車株式会社
濾過装置
1か月前
株式会社切川物産
撹拌装置
22日前
株式会社高垣製作所
粉粒体加工装置
6日前
トヨタ紡織株式会社
フィルタ
15日前
トヨタ紡織株式会社
水流帯電装置
15日前
個人
吸着材複合粒子
6日前
栗田工業株式会社
ギ酸の回収方法
22日前
東芝ライテック株式会社
光照射装置
1か月前
富士電機株式会社
ガス処理システム
1か月前
株式会社バンブーケミカル研究所
クリーンブース
今日
株式会社明電舎
成膜装置
1か月前
株式会社MODEL-16
気体溶解器
今日
続きを見る
他の特許を見る