TOP
|
特許
|
意匠
|
商標
特許ウォッチ
Twitter
他の特許を見る
公開番号
2025143004
公報種別
公開特許公報(A)
公開日
2025-10-01
出願番号
2024042668
出願日
2024-03-18
発明の名称
真空漏れ検出器および真空装置
出願人
日新電機株式会社
代理人
弁理士法人 HARAKENZO WORLD PATENT & TRADEMARK
主分類
G01M
3/02 20060101AFI20250924BHJP(測定;試験)
要約
【課題】低コストで真空漏れを検出可能な検出器を実現する。
【解決手段】真空漏れ検出器(10)は、真空容器(20)の内部に配され、真空容器の外部の雰囲気に含まれる絶縁ガス(30)との反応により発熱するアルカリ金属体(12)と、アルカリ金属体の温度を測定可能な温度測定装置(11)と、を備える。
【選択図】図1
特許請求の範囲
【請求項1】
真空容器の内部に配され、前記真空容器の外部の雰囲気に含まれる気体との反応により発熱するアルカリ金属体と、
前記アルカリ金属体の温度を測定可能な温度測定装置と、を備える真空漏れ検出器。
続きを表示(約 310 文字)
【請求項2】
前記真空容器は、電力設備において絶縁ガス雰囲気下に配され、
前記アルカリ金属体は、前記絶縁ガスとの反応により発熱する、請求項1に記載の真空漏れ検出器。
【請求項3】
前記アルカリ金属体は、Liで形成されている、請求項1に記載の真空漏れ検出器。
【請求項4】
前記温度測定装置は、熱電対である、請求項1に記載の真空漏れ検出器。
【請求項5】
前記温度測定装置は、放射温度計またはサーモグラフィーである、請求項1に記載の真空漏れ検出器。
【請求項6】
請求項1から5のいずれか1項に記載の真空漏れ検出器を備える真空装置。
発明の詳細な説明
【技術分野】
【0001】
本開示は、真空漏れ検出器および真空装置に関する。
続きを表示(約 1,000 文字)
【背景技術】
【0002】
特許文献1には、SF
6
ガス中に配された真空バルブの真空漏れを検知する方法が開示されている。当該方法は、真空バルブの接点を所定のギャップ長に調整し、接点の耐電圧を調べるというものである。
【先行技術文献】
【特許文献】
【0003】
特開平11-86696号公報
【発明の概要】
【発明が解決しようとする課題】
【0004】
しかしながら、特許文献1に開示されている方法では、ギャップ長を調整可能な接点および高電圧電源が必要となる。このため、真空漏れの検知に要するコストが増大する。
【0005】
本開示は、低コストで真空漏れを検出可能な検出器などを実現することを目的とする。
【課題を解決するための手段】
【0006】
上記の課題を解決するために、本開示の一態様に係る真空漏れ検出器は、真空容器の内部に配され、前記真空容器の外部の雰囲気に含まれる気体との反応により発熱するアルカリ金属体と、前記アルカリ金属体の温度を測定可能な温度測定装置と、を備える。
【発明の効果】
【0007】
本開示の一態様によれば、低コストで真空漏れを検出可能な検出器などを実現できる。
【図面の簡単な説明】
【0008】
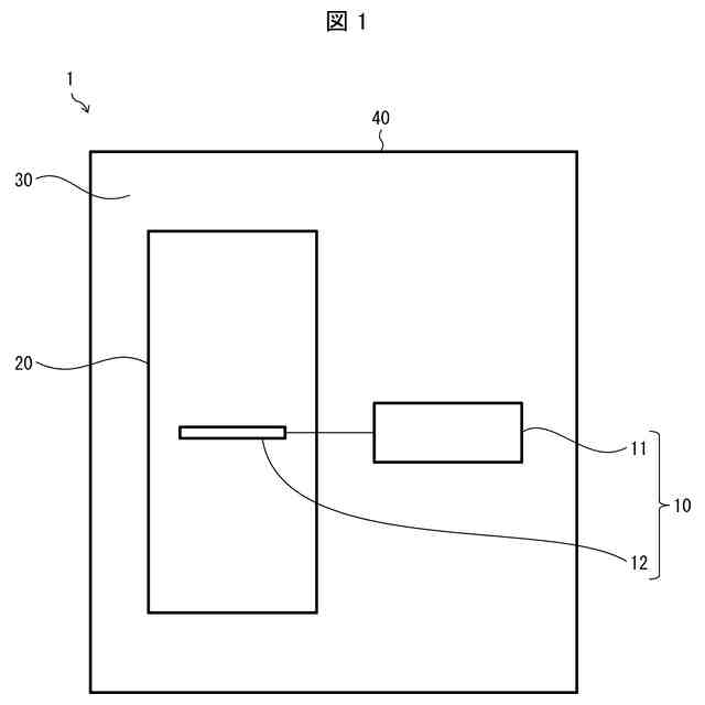
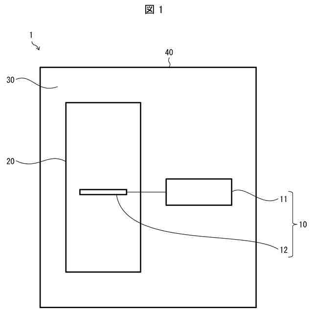
本開示の実施形態1に係る真空漏れ検出器を備える真空遮断器の概略図である。
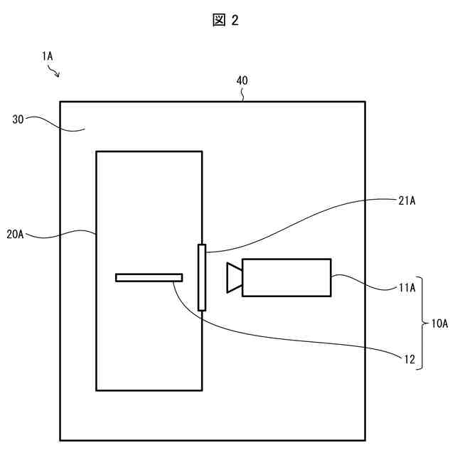
本開示の実施形態2に係る真空漏れ検出器を備える真空遮断器の概略図である。
【発明を実施するための形態】
【0009】
〔実施形態1〕
以下、本開示の一実施形態について詳細に説明する。なお、以下の説明では、真空遮断器は高電圧な電力設備に設置される機器として説明される。しかしながら、本開示の真空漏れ検出器および真空装置は、変電設備などの他の電力設備にも適用することができる。
【0010】
図1は、本開示の一実施形態に係る真空漏れ検出器10を備える真空遮断器1の概略図である。真空遮断器1は、真空の絶縁耐力および消弧能力を利用して、高電圧の電路を遮断する装置である。真空遮断器1は、真空漏れ検出器10と、真空容器20と、容器40とを備える。
(【0011】以降は省略されています)
この特許をJ-PlatPat(特許庁公式サイト)で参照する
関連特許
日新電機株式会社
遮断装置
7日前
日新電機株式会社
ガス絶縁開閉装置
7日前
日新電機株式会社
DC-DCコンバータ
14日前
日新電機株式会社
コーティング部品及びコーティング部品を備えるコーティング工具
9日前
日新電機株式会社
ダイヤモンド薄膜、コーティングデバイス及びダイヤモンド薄膜の製造方法
6日前
日本精機株式会社
検出装置
8日前
個人
採尿及び採便具
14日前
個人
アクセサリー型テスター
1か月前
個人
計量機能付き容器
3日前
個人
高精度同時多点測定装置
29日前
甲神電機株式会社
電流検出装置
8日前
株式会社ミツトヨ
測定器
20日前
アズビル株式会社
電磁流量計
23日前
大成建設株式会社
風洞実験装置
3日前
個人
計量具及び計量機能付き容器
3日前
長崎県
形状計測方法
1か月前
ローム株式会社
半導体装置
28日前
大和製衡株式会社
組合せ計量装置
17日前
日本特殊陶業株式会社
ガスセンサ
1日前
ローム株式会社
半導体装置
28日前
個人
非接触による電磁パルスの測定方法
6日前
双庸電子株式会社
誤配線検査装置
9日前
個人
システム、装置及び実験方法
23日前
愛知時計電機株式会社
ガスメータ
20日前
日本信号株式会社
距離画像センサ
6日前
大和製衡株式会社
組合せ計量装置
17日前
愛知電機株式会社
軸部材の外観検査装置
17日前
株式会社デンソー
電流センサ
28日前
日本特殊陶業株式会社
センサ
20日前
個人
液位検視及び品質監視システム
1日前
日東精工株式会社
振動波形検査装置
9日前
トヨタ自動車株式会社
測定システム
27日前
株式会社不二越
X線測定装置
6日前
株式会社マグネア
磁界検出素子
6日前
株式会社電巧社
試験装置及び試験方法
9日前
アンリツ株式会社
X線検査装置
20日前
続きを見る
他の特許を見る