TOP
|
特許
|
意匠
|
商標
特許ウォッチ
Twitter
他の特許を見る
公開番号
2025140363
公報種別
公開特許公報(A)
公開日
2025-09-29
出願番号
2024039714
出願日
2024-03-14
発明の名称
化学蓄熱反応器
出願人
日新電機株式会社
,
国立大学法人東海国立大学機構
代理人
個人
,
個人
主分類
F28D
20/00 20060101AFI20250919BHJP(熱交換一般)
要約
【課題】熱交換器の流路部材に対して熱抵抗が小さくなるように配置した化学蓄熱体を容易に交換することが可能となる化学蓄熱反応器を提供する。
【解決手段】化学蓄熱反応器11は、化学蓄熱体21と、化学蓄熱体21と熱交換を行う熱交換器31と、化学蓄熱体21を熱交換器31に取り付ける取付部材41とを備える。化学蓄熱体21は、化学蓄熱材HMと、化学蓄熱材HMを保持する保持部材22とを有する。熱交換器31は、熱媒体を流通する流路部材32を有する。化学蓄熱反応器11は、保持部材22と流路部材32との間の伝熱部12に配置されるとともに、伝熱部12の熱抵抗を低下させる熱伝導層51をさらに備える。熱伝導層51は、保持部材22及び流路部材32に対して非接着性を有する。取付部材41は、保持部材22を熱伝導層51に向けて押し付けた状態とする。
【選択図】図2
特許請求の範囲
【請求項1】
化学蓄熱体と、前記化学蓄熱体と熱交換を行う熱交換器と、前記化学蓄熱体を前記熱交換器に取り付ける取付部材と、を備え、
前記化学蓄熱体は、化学蓄熱材と、前記化学蓄熱材を保持する保持部材と、を有し、
前記熱交換器は、熱媒体を流通する流路部材を有する化学蓄熱反応器であって、
前記保持部材と前記流路部材との間の伝熱部に配置されるとともに、前記伝熱部の熱抵抗を小さくする熱伝導層をさらに備え、
前記熱伝導層は、前記保持部材及び前記流路部材に対して非接着性を有し、
前記取付部材は、前記保持部材を前記熱伝導層に向けて押し付けた状態とする、化学蓄熱反応器。
続きを表示(約 880 文字)
【請求項2】
前記伝熱部は、上流側伝熱部と、前記上流側伝熱部よりも前記流路部材の下流側に位置する下流側伝熱部と、を有し、
前記熱伝導層は、前記上流側伝熱部に配置される上流側熱伝導層と、前記下流側伝熱部に配置される下流側熱伝導層と、を有し、
前記下流側熱伝導層は、前記下流側伝熱部の熱抵抗が前記上流側伝熱部の熱抵抗よりも小さくなるように構成されている、請求項1に記載の化学蓄熱反応器。
【請求項3】
前記上流側熱伝導層及び前記下流側熱伝導層は、熱伝導性フィラーを含有し、
前記下流側熱伝導層中の前記熱伝導性フィラーの含有量は、前記上流側熱伝導層中の前記熱伝導性フィラーの含有量よりも多い、請求項2に記載の化学蓄熱反応器。
【請求項4】
前記下流側熱伝導層の厚さ寸法は、前記上流側熱伝導層の厚さ寸法よりも小さい、請求項2に記載の化学蓄熱反応器。
【請求項5】
前記下流側熱伝導層の面積は、前記上流側熱伝導層の面積よりも大きい、請求項2に記載の化学蓄熱反応器。
【請求項6】
前記熱伝導層は、基油と熱伝導性フィラーとを含有する熱伝導性グリースである、請求項1に記載の化学蓄熱反応器。
【請求項7】
前記化学蓄熱体は、前記流路部材を挟み込むように配置される第1化学蓄熱体及び第2化学蓄熱体を含み、
前記熱伝導層は、前記第1化学蓄熱体の前記保持部材と前記流路部材との間の伝熱部に配置される第1熱伝導層と、前記第2化学蓄熱体の前記保持部材と前記流路部材との間の伝熱部に配置される第2熱伝導層と、を含み、
前記取付部材は、前記化学蓄熱材と反応する反応媒体を透過可能とする多孔質構造を有する第1支持部材及び第2支持部材と、
前記第1支持部材と前記第2支持部材とを締結する締結部材と、を備え、
前記第1化学蓄熱体及び前記第2化学蓄熱体は、前記第1支持部材と前記第2支持部材との間に配置される、請求項1に記載の化学蓄熱反応器。
発明の詳細な説明
【技術分野】
【0001】
本発明は、化学蓄熱反応器に関する。
続きを表示(約 1,600 文字)
【背景技術】
【0002】
特許文献1に記載されるように、反応媒体との反応により発熱する化学蓄熱材を備える化学蓄熱反応器が知られている。化学蓄熱反応器は、化学蓄熱材と熱交換する熱交換器を備えている。化学蓄熱材は、熱交換器において熱媒体を流通する流路部材の周囲に配置される。
【先行技術文献】
【特許文献】
【0003】
特開2022-040463号公報
【発明の概要】
【発明が解決しようとする課題】
【0004】
上記のような化学蓄熱反応器において、化学蓄熱材を備える化学蓄熱体と、熱交換器の流路部材との間の熱抵抗が小さくなるように配置することは、化学蓄熱材の反応速度を速める点で有利である。このように配置される化学蓄熱体には、例えば、化学蓄熱材が劣化した場合において、容易に交換できることが求められている。
【課題を解決するための手段】
【0005】
上記課題を解決する化学蓄熱反応器は、化学蓄熱体と、前記化学蓄熱体と熱交換を行う熱交換器と、前記化学蓄熱体を前記熱交換器に取り付ける取付部材と、を備え、前記化学蓄熱体は、化学蓄熱材と、前記化学蓄熱材を保持する保持部材と、を有し、前記熱交換器は、熱媒体を流通する流路部材を有する化学蓄熱反応器であって、前記保持部材と前記流路部材との間の伝熱部に配置されるとともに、前記伝熱部の熱抵抗を低下させる熱伝導層をさらに備え、前記熱伝導層は、前記保持部材及び前記流路部材に対して非接着性を有し、前記取付部材は、前記保持部材を前記熱伝導層に向けて押し付けた状態とする。
【0006】
この構成によれば、熱伝導層及び取付部材によって、熱交換器の流路部材に対して熱抵抗が小さくなるように化学蓄熱体を配置することができる。また、熱伝導層は、保持部材及び流路部材に対して非接着性を有しているため、熱交換器から化学蓄熱体を容易に取り外すことができる。
【発明の効果】
【0007】
本発明は、熱交換器の流路部材に対して熱抵抗が小さくなるように配置した化学蓄熱体を容易に交換することが可能となるという効果を発揮する。
【図面の簡単な説明】
【0008】
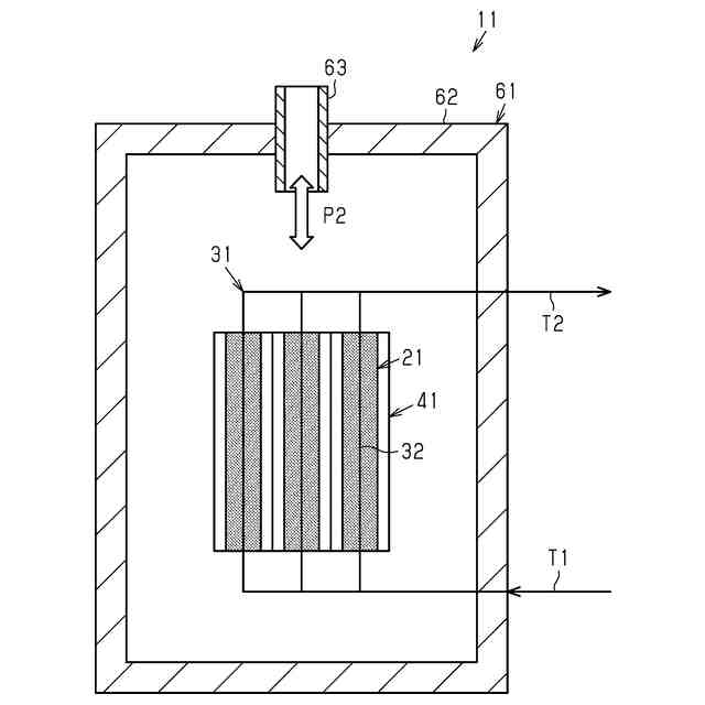
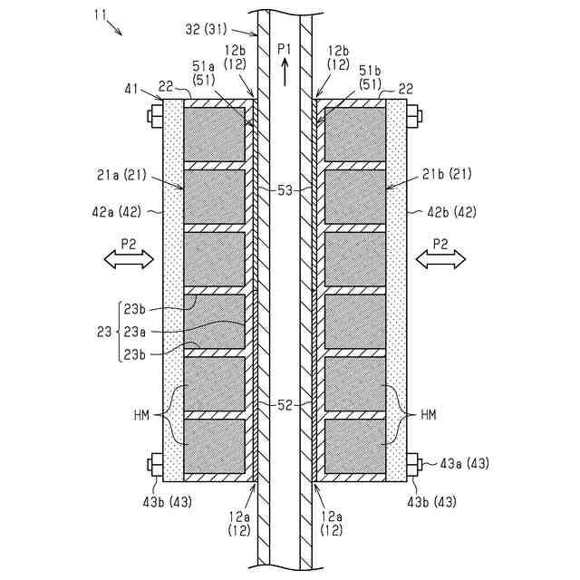
図1は、実施形態における化学蓄熱反応器を示す概略断面図である。
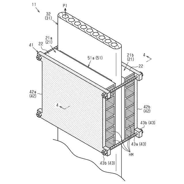
図2は、化学蓄熱反応器の要部を示す分解斜視図である。
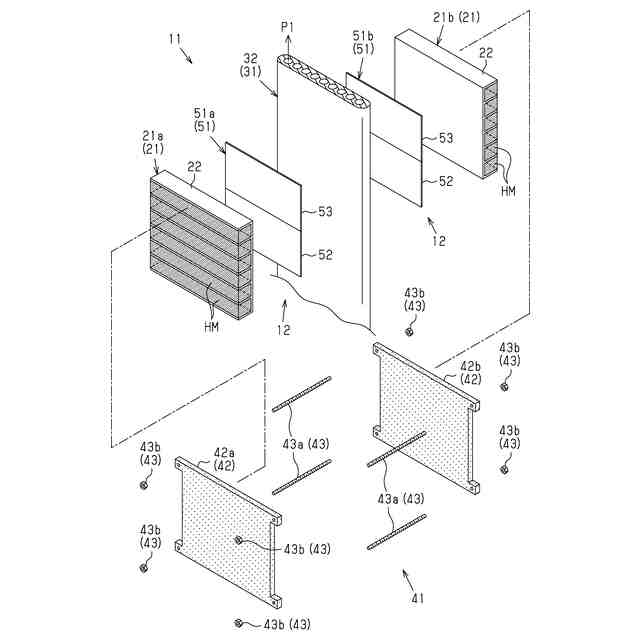
図3は、化学蓄熱反応器の要部を示す斜視図である。
図4は、図3の4-4線に沿った断面図である。
図5は、伝熱部の熱抵抗と、化学蓄熱材の反応速度との関係を示すグラフである。
図6(a)及び図6(b)は、伝熱部の位置と化学蓄熱材の反応速度の関係を示すグラフであり、図6(a)は、上流側伝熱部及び下流側伝熱部の熱抵抗が一定の場合を示し、図6(b)は、下流側伝熱部の熱抵抗が、上流側伝熱部の熱抵抗よりも小さい場合を示す。
【発明を実施するための形態】
【0009】
以下、化学蓄熱反応器の実施形態について図面を参照して説明する。
<化学蓄熱反応器の全体構成>
図1~図4に示すように、化学蓄熱反応器11は、化学蓄熱体21と、化学蓄熱体21と熱交換を行う熱交換器31と、化学蓄熱体21を熱交換器31に取り付ける取付部材41とを備えている。
【0010】
化学蓄熱体21は、化学蓄熱材HMと、化学蓄熱材HMを保持する保持部材22とを有している。熱交換器31は、熱媒体を流通する流路部材32を有している。化学蓄熱反応器11は、保持部材22と流路部材32との間の伝熱部12に配置される熱伝導層51を備えている。
(【0011】以降は省略されています)
この特許をJ-PlatPat(特許庁公式サイト)で参照する
関連特許
日新電機株式会社
遮断装置
14日前
日新電機株式会社
ベッセル
1か月前
日新電機株式会社
電子除湿器
1か月前
日新電機株式会社
ガス絶縁開閉装置
14日前
日新電機株式会社
プラズマ処理装置
1か月前
日新電機株式会社
DC-DCコンバータ
21日前
日新電機株式会社
刃先保護部材及び被膜除去方法
1か月前
日新電機株式会社
ガス絶縁機器およびその製造方法
24日前
日新電機株式会社
プラズマ処理装置及びプラズマ処理方法
1か月前
日新電機株式会社
表示装置、表示方法、およびプログラム
1か月前
日新電機株式会社
配電システム、および、クラスタの制御方法
29日前
日新電機株式会社
汚泥処理制御システムおよび汚泥処理制御方法
27日前
日新電機株式会社
検出装置、電力供給システム、および検出方法
27日前
日新電機株式会社
通信ユニット、サーバ、通信システムおよび通信方法
1か月前
日新電機株式会社
加工方法、治具及び勾配面加工用3軸マシニングセンタ
1か月前
日新電機株式会社
DC-DCコンバータ、および、AC-DCコンバータ
今日
日新電機株式会社
コーティング部品及びコーティング部品を備えるコーティング工具
16日前
日新電機株式会社
電源システム、電源システムの制御方法及び電源システムのプログラム
24日前
日新電機株式会社
ダイヤモンド薄膜、コーティングデバイス及びダイヤモンド薄膜の製造方法
13日前
日新電機株式会社
油入電気機器用の電気絶縁油基油、これを含有する電気絶縁油及び油入電気機器
27日前
個人
排熱回収装置
3か月前
個人
冷却装置の蒸発器
27日前
個人
放射冷却装置
29日前
個人
熱交換装置
6か月前
個人
熱交換装置
1か月前
ホーコス株式会社
熱交換ユニット
10か月前
三恵技研工業株式会社
熱交換器
7か月前
三恵技研工業株式会社
熱交換器
7か月前
アンリツ株式会社
検査装置
6か月前
アンリツ株式会社
検査装置
6か月前
株式会社パイオラックス
熱交換器
9か月前
日産自動車株式会社
熱交換器
9か月前
株式会社ティラド
ラジエータ
10か月前
新光電気工業株式会社
蓄熱装置
2か月前
株式会社アイシン
水噴射冷却システム
10か月前
栗田工業株式会社
冷却塔システム
9か月前
続きを見る
他の特許を見る