TOP
|
特許
|
意匠
|
商標
特許ウォッチ
Twitter
他の特許を見る
公開番号
2025070368
公報種別
公開特許公報(A)
公開日
2025-05-02
出願番号
2023180631
出願日
2023-10-19
発明の名称
転写具
出願人
コクヨ株式会社
代理人
個人
主分類
B43L
19/00 20060101AFI20250424BHJP(筆記用または製図用の器具;机上付属具)
要約
【課題】転写テープの円滑な進行を損ねにくく、且つ、転写ヘッドが未使用の転写テープに対して好適にバックサポートし得る構成の転写具を提供する。
【解決手段】転写具は、未使用の転写テープT(N)の内、巻取用リールMに巻き取られた使用済の転写テープT(D)に接触する箇所から転写ヘッドNに至るまでの部分が、繰出用リールKの軸心ks上及び巻取用リールMの軸心ms上を通過する仮想直線pfよりも下方に配設されており、且つ、未使用の転写テープT(N)における繰出用リールKからの繰り出しが尽きるまでの間において常に前方に向かうに連れて仮想直線pfに対して離れて位置するように設定されている。
【選択図】図22
特許請求の範囲
【請求項1】
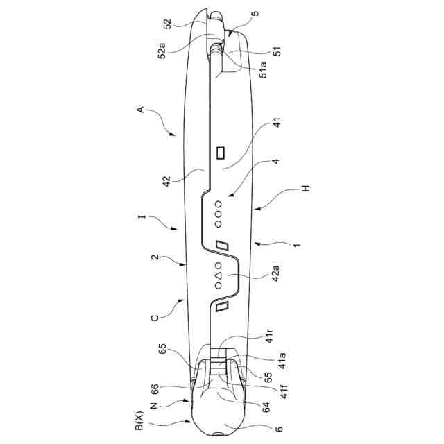
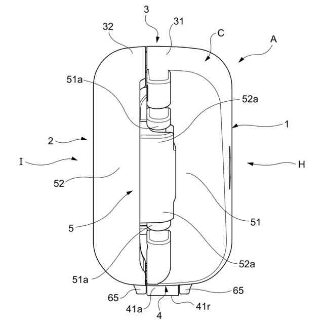
一面側に転写物が添着された未使用の転写テープが繰り出される繰出用リールと、転写ヘッドを経由した後に前記転写物が離脱した使用済の転写テープを巻き取る巻取用リールとを備えた転写具であって、
前記転写ヘッドよりも後に前記巻取用リールが配設されたものであり、当該巻取用リールよりも後に前記繰出用リールが配設されたものであり、
前記未使用の転写テープの内、少なくとも、前記巻取用リールに巻き取られた前記使用済の転写テープに接触する箇所から前記転写ヘッドに至るまでの部分が、前記繰出用リールの軸心上及び前記巻取用リールの軸心上を通過する仮想直線よりも下方に配設されており、且つ、前記繰出用リールからの繰り出しが尽きるまでの間において常に前方に向かうに連れて前記仮想直線に対して離れて位置するように設定されている転写具。
続きを表示(約 590 文字)
【請求項2】
前記未使用の転写テープの内、前記巻取用リールに巻き取られた前記使用済の転写テープに接触する箇所における最下流接触点から前記転写ヘッドに至るまでの前後方向に延びた延出部分の長手寸法が、前記繰出用リールの軸心と前記巻取用リールの軸心との間の離間距離よりも長く設定されている請求項1記載の転写具。
【請求項3】
前記延出部分の長手寸法が、前記離間距離よりも1.5倍以上長く設定されている請求項2記載の転写具。
【請求項4】
前記転写物が糊である請求項1記載の転写具。
【請求項5】
前記転写ヘッドが、支持体に対して回転可能に支持され前記未使用の転写テープを被転写面に対して押し付ける転写ローラを有してなるものである請求項1記載の転写具。
【請求項6】
前記繰出用リール、及び、前記巻取用リールが、ケースに対して着脱可能なリフィルを構成するものであり、
前記リフィルが、リフィルベースと、リフィルベースに対して回転可能に支持された前記繰出用リール及び前記巻取用リールと、前記リフィルベースの先端部に設けられた前記転写ヘッドを備えたものである請求項1記載の転写具。
【請求項7】
前記繰出用リールと前記巻取用リールの回転を連動させるリール連動機構を備えている請求項1記載の転写具。
発明の詳細な説明
【技術分野】
【0001】
本発明は、転写物を転写するための転写具に関する。
続きを表示(約 1,500 文字)
【背景技術】
【0002】
従来から、一面側に糊等の転写物が添着された未使用の転写テープが繰り出される繰出用リールと、転写ヘッドを経由した後に転写物が離脱した使用済の転写テープを巻き取る巻取用リールとを備えた転写具が知られている(例えば、特許文献1を参照)。
【0003】
この種の転写具では、未使用の転写テープに添着された転写物を被転写面に対して転写させる操作に伴って、使用済の転写テープが巻取用リールに巻き取られるようになっている。このとき、巻取用リールに対してロール状に巻き取られた使用済の転写テープは、使用が継続されていくにつれてその最外面が巻取用リールの軸心に対して次第に離間していくものとなっている。換言すれば、転写具は、使用が継続されていくにつれて、使用済の転写テープが巻取用リールに積層され、ロール状をなす使用済の転写テープの外径が大きくなるように構成されている。
【0004】
従来の転写具では、巻取用リールに巻き取られたロール状をなす使用済の転写テープの外径が大きくなるにつれて、未使用の転写テープが転写ヘッドに対して適切な方向から進入し難いものとなり、未使用の転写テープに対する転写ヘッドによる裏側からの支持(いわゆるバックサポート)が十分に確保されないという不具合が生じやすいものとなっていた。
【0005】
詳述すれば、ロール状をなす使用済の転写テープの外径が大きくなると、その外周面に接する未使用の転写テープが次第に下方に変位するものとなり、巻取用リールよりも前に配設された転写ヘッドに対して未使用の転写テープが好適な角度で進入し難くなるおそれがあった。
【先行技術文献】
【特許文献】
【0006】
特開2018-001607号公報
【発明の概要】
【発明が解決しようとする課題】
【0007】
本発明は、以上のような事情に着目してなされたものであり、少なくとも、転写テープの円滑な進行を損ねにくく、且つ、転写ヘッドが未使用の転写テープに対して好適にバックサポートし得る構成の転写具を提供することにある。
【課題を解決するための手段】
【0008】
すなわち、本発明は次の構成をなしている。
【0009】
請求項1に記載の発明は、一面側に転写物が添着された未使用の転写テープが繰り出される繰出用リールと、転写ヘッドを経由した後に前記転写物が離脱した使用済の転写テープを巻き取る巻取用リールとを備えた転写具であって、前記転写ヘッドよりも後に前記巻取用リールが配設されたものであり、当該巻取用リールよりも後に前記繰出用リールが配設されたものであり、前記未使用の転写テープの内、少なくとも、前記巻取用リールに巻き取られた前記使用済の転写テープに接触する箇所から前記転写ヘッドに至るまでの部分が、前記繰出用リールの軸心上及び前記巻取用リールの軸心上を通過する仮想直線よりも下方に配設されており、且つ、前記繰出用リールからの繰り出しが尽きるまでの間において常に前方に向かうに連れて前記仮想直線に対して離れて位置するように設定されている転写具である。
【0010】
請求項2に記載の発明は、前記未使用の転写テープの内、前記巻取用リールに巻き取られた前記使用済の転写テープに接触する箇所における最下流接触点から前記転写ヘッドに至るまでの前後方向に延びた延出部分の長手寸法が、前記繰出用リールの軸心と前記巻取用リールの軸心との間の離間距離よりも長く設定されている請求項1記載の転写具である。
(【0011】以降は省略されています)
この特許をJ-PlatPat(特許庁公式サイト)で参照する
関連特許
個人
両利き筆記具
25日前
ぺんてる株式会社
塗布具
6か月前
個人
ペンスタンド
11か月前
ぺんてる株式会社
塗布具
6か月前
三菱鉛筆株式会社
筆記具
10日前
三菱鉛筆株式会社
塗布具
10日前
ぺんてる株式会社
筆記具
2か月前
個人
ツールホルダー
4か月前
個人
筆記具
1か月前
コクヨ株式会社
転写具
5か月前
コクヨ株式会社
転写具
5か月前
コクヨ株式会社
転写具
5か月前
個人
開封具
7か月前
株式会社東山
ペン
2か月前
三菱鉛筆株式会社
筆記具
15日前
個人
板発条スケールコンパス。
23日前
株式会社3S
塗布具
6か月前
ぺんてる株式会社
消しゴム組成物
12か月前
個人
携帯用消しゴムとその保持形態
11か月前
個人
電子黒板システム
10か月前
ぺんてる株式会社
ボールペンチップ
5か月前
ぺんてる株式会社
ボールペンチップ
1か月前
三菱鉛筆株式会社
筆記具
1か月前
株式会社サクラクレパス
塗布具
1か月前
ぺんてる株式会社
ボールペンリフィル
5か月前
三菱鉛筆株式会社
筆記具
7か月前
株式会社サクラクレパス
塗布具
6か月前
有限会社コスモ
挟着具
23日前
個人
学習用定規及びプリント切断方法
5か月前
三菱鉛筆株式会社
筆記具
4か月前
株式会社パイロットコーポレーション
筆記具
3か月前
株式会社ウッドロード
ボールペン本体
8か月前
三菱鉛筆株式会社
筆記具
5か月前
株式会社パイロットコーポレーション
筆記具
3か月前
株式会社パイロットコーポレーション
筆記具
7か月前
三菱鉛筆株式会社
筆記具
5か月前
続きを見る
他の特許を見る