TOP
|
特許
|
意匠
|
商標
特許ウォッチ
Twitter
他の特許を見る
10個以上の画像は省略されています。
公開番号
2025041299
公報種別
公開特許公報(A)
公開日
2025-03-26
出願番号
2023148494
出願日
2023-09-13
発明の名称
筆記具
出願人
株式会社パイロットコーポレーション
代理人
主分類
B43K
8/02 20060101AFI20250318BHJP(筆記用または製図用の器具;机上付属具)
要約
【課題】製造コストの増加を抑え、ペン先の前端部の形状を容易に認識できる筆記具を提供する。
【解決手段】ペン先2の前端部は、細長の頂面21と、該頂面21の両側から後方に延びる傾斜面22と、該傾斜面22の相互間及び該傾斜面22の後方に形成される円柱状の外面23と、を備える。軸筒3は、前端より開口する前端孔31と、前端孔31の内面に一体に形成され且つ軸方向に延びる複数の縦リブ33と、複数の縦リブ33のうち、少なくとも1本の縦リブ33と一体に形成され且つ軸筒3前端より前方に突出される棒状延長部34と、を備える。各々の縦リブ33が、ペン先2の傾斜面22の後方に形成される円柱状の外面23を保持し、棒状延長部34が外部より視認可能に構成される。
【選択図】 図6
特許請求の範囲
【請求項1】
ペン先と、該ペン先が前端部に取り付けられた軸筒と、を備えた筆記具であって、
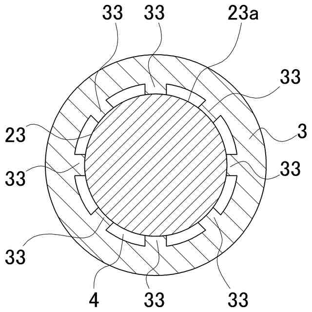
前記ペン先の前端部は、細長の頂面と、該頂面の両側から後方に延びる傾斜面と、該傾斜面の相互間及び該傾斜面の後方に形成される円柱状の外面と、を備え、
前記軸筒は、前端より開口する前端孔と、該前端孔の内面に一体に形成され且つ軸方向に延びる複数の縦リブと、該複数の縦リブのうち、少なくとも1本の縦リブと一体に形成され且つ前記軸筒の前端より前方に突出される棒状延長部と、を備え、
前記各々の縦リブが、前記ペン先の傾斜面の後方に形成される円柱状の外面を保持し、前記棒状延長部が外部より視認可能に構成されることを特徴とする筆記具。
続きを表示(約 390 文字)
【請求項2】
前記棒状延長部の前端が、前記ペン先の傾斜面の相互間の、前記ペン先の最先端部側の円柱状の外面に位置される請求項1に記載の筆記具。
【請求項3】
前記棒状延長部が、ペン先から吐出されるインキの色と異なる色を有する請求項1または2に記載の筆記具。
【請求項4】
前記軸筒の内面の縦リブの相互間と前記ペン先の円柱状の外面との間に、前記軸筒内部と前記軸筒外部とを空気流通可能にする通気路が形成され、前記棒状延長部を除く前記軸筒の前端開口部を通して前記通気路が外部に開口される請求項1に記載の筆記具。
【請求項5】
前記棒状延長部が、対向する前記傾斜面の相互間を二等分する中心線上に設けられる請求項1に記載の筆記具。
【請求項6】
前記棒状延長部が、前記傾斜面を挟むように複数設けられる請求項1に記載の筆記具。
発明の詳細な説明
【技術分野】
【0001】
本発明は、チゼル状のペン先を備えた筆記具に関する。
続きを表示(約 1,500 文字)
【背景技術】
【0002】
従来、蛍光ペン等のラインマーカー等においてチゼル状のペン先を有する筆記具が知られている(例えば文献1)。この種の筆記具は、筆記時、ペン先の前端部の向きを目視で確認して筆記するものである。この種の筆記具は、もし、ペン先の前端部における傾斜面と円柱状の外面とが同じ色を有する場合(例えば多孔質体よりなるペン先のインキ含浸状態においてペン先の全体がインキと同じ色を有する場合)、筆記開始時、ペン先の前端部の形状を容易に認識できず(即ちペン先の前端部の向きを容易に調整できず)、所望する筆跡幅を得ることができないおそれがある。また、筆記途中でも、紙面上の筆跡とペン先の前端部とが略同じ色を呈し、両者の区別がつきにくいため、ペン先の前端部の向きを容易に認識できず、所望する筆跡幅を得ることができないおそれがある。
【0003】
また、文献2には、繊維製ペン先の表面を黒に着色コーティングしたものをチゼル状にカットした蛍光ペンが開示されている。文献2のペン先を用いた筆記具は、コーティング層を設ける構成ため、製造コストが増加し、ユーザー安価に提供できないおそれがある。
【先行技術文献】
【特許文献】
【0004】
特開2019-14056号公報
特開平8-26982号公報
【発明の概要】
【発明が解決しようとする課題】
【0005】
本願発明は、前記従来の問題点を解決するものであって、製造コストの増加を抑え、ペン先の前端部の形状を容易に認識できる筆記具を提供しようとするものである。本願発明で、「前」とはペン先側を指し、「後」とはその反対側を指す。
【課題を解決するための手段】
【0006】
本発明の第1の態様は、ペン先と、該ペン先が前端部に取り付けられた軸筒と、を備えた筆記具であって、前記ペン先の前端部は、細長の頂面と、該頂面の両側から後方に延びる傾斜面と、該傾斜面の相互間及び該傾斜面の後方に形成される円柱状の外面と、を備え、
前記軸筒は、前端より開口する前端孔と、該前端孔の内面に一体に形成され且つ軸方向に延びる複数の縦リブと、該複数の縦リブのうち、少なくとも1本の縦リブと一体に形成され且つ前記軸筒の前端より前方に突出される棒状延長部と、を備え、前記各々の縦リブが、前記ペン先の傾斜面の後方に形成される円柱状の外面を保持し、前記棒状延長部が外部より視認可能に構成されることを特徴とする筆記具である。
【0007】
前記第1の態様の筆記具によれば、部品点数が増加せず製造コストの増加を抑えるとともに、筆記時(筆記開始時及び筆記途中)において棒状延長部を目印にすることによってペン先の前端部の形状を外部より容易に視認でき、ペン先の前端部(即ちペン先の頂面及び傾斜面)の向きを容易に調整できる。
【0008】
本発明の第2の態様は、前記第1の態様の筆記具において、前記棒状延長部の前端が、前記ペン先の傾斜面の相互間の、前記ペン先の最先端部側の円柱状の外面に位置されることを特徴とする。
【0009】
本発明の第2の態様の筆記具は、筆記時において棒状延長部を目印にすることによってペン先の傾斜面の向きを容易に認識することができる。
【0010】
本発明の第3の態様は、前記第1の態様または第2の態様の筆記具において、前記棒状延長部が、ペン先から吐出されるインキの色と異なる色を有することを特徴とする。
(【0011】以降は省略されています)
この特許をJ-PlatPat(特許庁公式サイト)で参照する
関連特許
個人
両利き筆記具
13日前
ぺんてる株式会社
塗布具
6か月前
個人
ペンスタンド
11か月前
ぺんてる株式会社
塗布具
6か月前
ぺんてる株式会社
筆記具
2か月前
個人
ツールホルダー
3か月前
コクヨ株式会社
転写具
5か月前
コクヨ株式会社
転写具
5か月前
コクヨ株式会社
転写具
5か月前
個人
筆記具
1か月前
株式会社東山
ペン
2か月前
個人
開封具
7か月前
個人
板発条スケールコンパス。
11日前
三菱鉛筆株式会社
筆記具
3日前
ぺんてる株式会社
消しゴム組成物
11か月前
株式会社3S
塗布具
6か月前
個人
電子黒板システム
9か月前
個人
携帯用消しゴムとその保持形態
10か月前
ぺんてる株式会社
ボールペンチップ
5か月前
ぺんてる株式会社
ボールペンチップ
1か月前
株式会社サクラクレパス
塗布具
5か月前
三菱鉛筆株式会社
筆記具
6か月前
株式会社サクラクレパス
塗布具
25日前
ぺんてる株式会社
ボールペンリフィル
5か月前
三菱鉛筆株式会社
筆記具
1か月前
有限会社コスモ
挟着具
11日前
株式会社パイロットコーポレーション
筆記具
3か月前
三菱鉛筆株式会社
筆記具
5か月前
個人
学習用定規及びプリント切断方法
5か月前
三菱鉛筆株式会社
筆記具
4か月前
株式会社パイロットコーポレーション
筆記具
6か月前
三菱鉛筆株式会社
筆記具
4か月前
株式会社サクラクレパス
出没式筆記具
11か月前
株式会社パイロットコーポレーション
筆記具
3か月前
株式会社ウッドロード
ボールペン本体
8か月前
株式会社青井黒板製作所
支持装置
11か月前
続きを見る
他の特許を見る