TOP
|
特許
|
意匠
|
商標
特許ウォッチ
Twitter
他の特許を見る
10個以上の画像は省略されています。
公開番号
2025040872
公報種別
公開特許公報(A)
公開日
2025-03-25
出願番号
2023147942
出願日
2023-09-12
発明の名称
パーティクルボード及びパーティクルボードの製造方法
出願人
大建工業株式会社
代理人
弁理士法人前田特許事務所
主分類
B27N
3/02 20060101AFI20250317BHJP(木材または類似の材料の加工または保存;釘打ち機またはステープル打ち機一般)
要約
【課題】ビス引き抜き強度に優れたパーティクルボードを提供する。
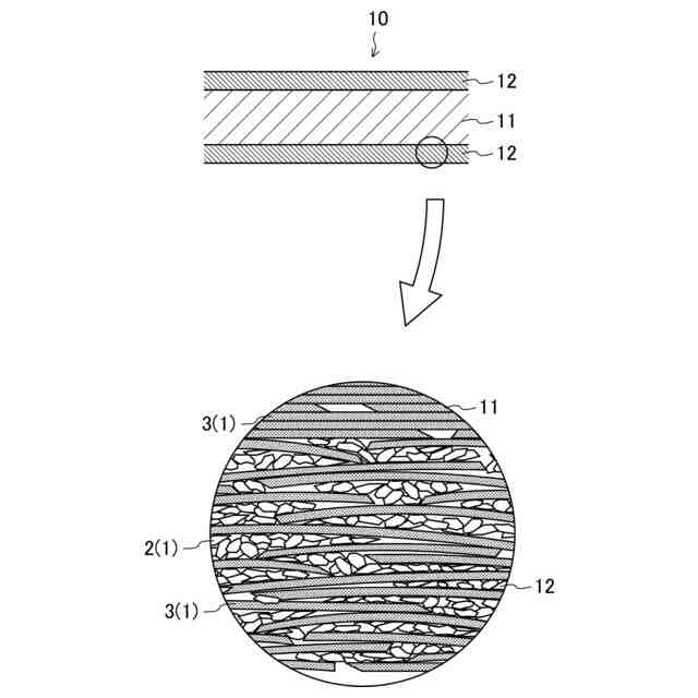
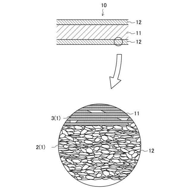
【解決手段】パーティクルボード10は、3層構造に構成され、中間層11は、厚さが0.05~0.35mmの木質切削片3,…,3のみを木質片1,…,1として含む木質切削片層に構成され、2つの表層12,12は、木質粉砕片2,…,2を木質片1,…,1として含む木質粉砕片層に構成されている。
【選択図】図1
特許請求の範囲
【請求項1】
多数の木質片が集合状態で接着一体化された複層構造のパーティクルボードであって、
少なくとも1層は、厚さが0.05~0.35mmの木質切削片のみを上記木質片として含む木質切削片層であり、
上記木質切削片層以外の層は、木質粉砕片を上記木質片として含む木質粉砕片層である
ことを特徴とするパーティクルボード。
続きを表示(約 1,100 文字)
【請求項2】
請求項1に記載のパーティクルボードであって、
2つの表層と、該2つの表層の間に設けられた少なくとも1つの中間層とを備え、
上記表層は、上記木質切削片層である
ことを特徴とするパーティクルボード。
【請求項3】
請求項1に記載のパーティクルボードであって、
2つの表層と、該2つの表層の間に設けられた少なくとも1つの中間層とを備え、
上記中間層の少なくとも1つは、上記木質切削片層である
ことを特徴とするパーティクルボード。
【請求項4】
請求項2に記載のパーティクルボードであって、
上記中間層の少なくとも1つは、上記木質切削片層である
ことを特徴とするパーティクルボード。
【請求項5】
請求項3に記載のパーティクルボードであって、
上記木質切削片層である上記中間層を複数備えている
ことを特徴とするパーティクルボード。
【請求項6】
請求項2~5のいずれか1つに記載のパーティクルボードであって、
上記木質粉砕片層の少なくとも1つは、多数の上記木質切削片を含む混合層である
ことを特徴とするパーティクルボード。
【請求項7】
請求項2~5のいずれか1つに記載のパーティクルボードであって、
上記木質粉砕片層の少なくとも1つは、多数の上記木質切削片を含む混合層であり、
上記木質粉砕片層であって上記木質切削片を含まない非混合層と上記木質切削片層との間には、上記混合層が設けられている
ことを特徴とするパーティクルボード。
【請求項8】
請求項1に記載のパーティクルボードにおいて、
上記木質切削片は、木質素材を切削してなる厚さが0.05~0.35mmの多数の木質薄片を粉砕してなる多数の木質小薄片のうち、分級によって選別された多数の第1木質小薄片を集合状態で接着一体化してなる木質ボードの形成時に、上記木質素材から生成されるものである
ことを特徴とするパーティクルボード。
【請求項9】
請求項2に記載のパーティクルボードにおいて、
上記木質切削片は、木質素材を切削してなる厚さが0.05~0.35mmの多数の木質薄片を粉砕してなる多数の木質小薄片のうち、分級によって選別された多数の第1木質小薄片を集合状態で接着一体化してなる木質ボードの形成時に、上記木質素材から生成されるものであり、
少なくとも上記表層に用いる上記木質切削片は、上記木質小薄片のうち、分級によって選別された上記第1木質小薄片以外のものである
ことを特徴とするパーティクルボード。
発明の詳細な説明
【技術分野】
【0001】
本発明は、パーティクルボードに関するものである。
続きを表示(約 1,200 文字)
【背景技術】
【0002】
従来、ラワン合板等の南洋材合板が広く利用されている。しかし、近年、南洋材合板は、原料の枯渇や環境破壊防止の点で入手自体が難しくなりつつあり、他の木質ボードへの置き換えが図られている。
【0003】
特許文献1には、木材を粉砕した粉砕片に接着剤を付着させたものをマット状に堆積させ、熱盤で熱圧締することによって成形されたパーティクルボードを、合板の代替材料として用いることが開示されている。パーティクルボードには、廃材や再生材等を利用でき、また、芯層と表層とで用いる木質粉砕片のサイズを変えることで木材を無駄なく利用できることから、比較的安価に形成できる点で、合板の代替品として優れている。
【先行技術文献】
【特許文献】
【0004】
国際公開第2005/115705号
【発明の概要】
【発明が解決しようとする課題】
【0005】
しかしながら、パーティクルボードは、細かい粉砕片を用いるため、耐力壁等の耐力下地材に用いる構造用合板の代替品とする場合には、ビス引き抜き強度が不足するという問題があった。
【0006】
本発明は斯かる点に鑑みてなされたもので、その目的は、ビス引き抜き強度に優れたパーティクルボードを提供することにある。
【課題を解決するための手段】
【0007】
上記の目的を達成するために、本発明では、パーティクルボードを複層構造とし、少なくとも一層を、極めて薄い木質切削片のみを木質片として含む木質切削片層に構成することとした。
【0008】
具体的には、第1の発明は、多数の木質片が集合状態で接着一体化された複層構造のパーティクルボードを前提とするものである。
【0009】
そして、第1の発明は、少なくとも1層は、厚さが0.05~0.35mmの木質切削片のみを上記木質片として含む木質切削片層であり、上記木質切削片層以外の層は、木質粉砕片を上記木質片として含む木質粉砕片層であることを特徴とするものである。
【0010】
第1の発明では、パーティクルボードを複層構造とし、少なくとも一層を、厚さが0.05~0.35mmと極めて薄い木質切削片のみを木質片として含む木質切削片層に構成することとした。薄片状の木質切削片は、木質素材を粉砕してなる粒状の木質粉砕片に比べて面積が大きい。そのため、少なくとも一層を木質切削片層で構成することにより、木質粉砕片のみで構成されたパーティクルボードに比べてビスが抜け難くなる。従って、第1の発明によれば、ビス引き抜き強度(木ネジ保持力)に優れたパーティクルボードを提供することができ、該パーティクルボードであれば、耐力下地材に用いられる構造用合板の代替品として用いることができる。
(【0011】以降は省略されています)
この特許をJ-PlatPat(特許庁公式サイト)で参照する
関連特許
大建工業株式会社
吸音体及び音環境調整構造
23日前
個人
薪割り台
11か月前
個人
鋸
1か月前
個人
木材精密加工用ジグ
7か月前
丸大株式会社
竹粉製造装置
7か月前
個人
貼付装置及び貼付方法
5か月前
個人
電動ボードカッターのブレード
2か月前
個人
跳ね上げ式ガイドクランプ
5か月前
株式会社 川上製作所
木材の連結構造
1か月前
株式会社岡田金属工業所
ブレード
6か月前
コニシ株式会社
集成材の製造方法
2か月前
NKE株式会社
トリマー治具
5か月前
株式会社ノダ
木削薄片板および床材
9か月前
舛元木工株式会社
フレーム材の端部処理方法
12か月前
宮川工機株式会社
プレカット加工装置
10か月前
工機ホールディングス株式会社
作業機
9か月前
大建工業株式会社
焼杉風化粧板とその製造方法
7か月前
三和合板株式会社
化粧板の製造装置
11か月前
清水建設株式会社
ビス打ち装置
7か月前
トヨタ自動車株式会社
木粉の熱圧縮成形方法
9か月前
清水建設株式会社
自動ビス打ち機
7か月前
マックス株式会社
リフィル
10か月前
株式会社大林組
木質板材の加工方法
8か月前
有限会社太悦鉄工
ヤニ取り装置および木材切断用鋸盤
3か月前
株式会社大林組
ドリル装置
10日前
トヨタエンジニアリング有限会社
竹割機
5か月前
トヨタエンジニアリング有限会社
竹割機
4か月前
マックス株式会社
ステープラ
9か月前
マックス株式会社
ステープラ
9か月前
マックス株式会社
ステープラ
10か月前
株式会社マキタ
携帯用切断機
4か月前
株式会社マキタ
ソーチェーン
1か月前
トヨタT&S建設株式会社
桂剥き装置
6か月前
大建工業株式会社
人工突板の製造方法
7か月前
清水建設株式会社
防火積層体及びその製造方法
13日前
株式会社マキタ
木工用携帯用切削機
4か月前
続きを見る
他の特許を見る