TOP
|
特許
|
意匠
|
商標
特許ウォッチ
Twitter
他の特許を見る
10個以上の画像は省略されています。
公開番号
2025058680
公報種別
公開特許公報(A)
公開日
2025-04-09
出願番号
2023168769
出願日
2023-09-28
発明の名称
木製軸材及び木製軸材の接合構造
出願人
大建工業株式会社
代理人
弁理士法人前田特許事務所
主分類
B27M
3/00 20060101AFI20250402BHJP(木材または類似の材料の加工または保存;釘打ち機またはステープル打ち機一般)
要約
【課題】外観及び曲げ強度のばらつきが小さく歩留まりのよい木製軸材及びその接合構造を提供する。
【解決手段】断面矩形状の木製軸材10は、矩形筒状に折り曲げられた中密度繊維板からなる芯材1と、該芯材1の周囲に設けられる矩形筒状に折り曲げられた中密度繊維板からなる少なくとも1つの補強材2とを備える。
【選択図】図1
特許請求の範囲
【請求項1】
断面矩形状の木製軸材であって、
矩形筒状に折り曲げられた中密度繊維板からなる芯材と、
上記芯材の周囲に該芯材を取り囲むように設けられる矩形筒状に折り曲げられた中密度繊維板からなる少なくとも1つの補強材とを備える
ことを特徴とする木製軸材。
続きを表示(約 1,200 文字)
【請求項2】
請求項1に記載の木製軸材において、
上記補強材は、上記芯材の外周面又は上記芯材の周囲に設けられた上記補強材の外周面に、帯板状の中密度繊維板を折り曲げながら螺旋状に巻き付けたものである
ことを特徴とする木製軸材。
【請求項3】
請求項2に記載の木製軸材において、
上記補強材は、上記芯材の周囲に複数設けられ、
上記複数の補強材の少なくとも1つは、上記帯板状の中密度繊維板を右ねじ方向に巻き付けた右巻材であり、残りの上記補強材は、上記帯板状の中密度繊維板を左ねじ方向に巻き付けた左巻材である
ことを特徴とする木製軸材。
【請求項4】
請求項3に記載の木製軸材において、
上記右巻材と上記左巻材とは、上記芯材の周囲に交互に設けられている
ことを特徴とする木製軸材。
【請求項5】
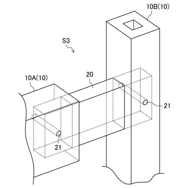
2本の木製軸材を長さ方向に接合する木製軸材の接合構造であって、
上記2本の木製軸材は、請求項1~4のいずれか1つに記載の木製軸材であり、
上記2本の木製軸材の接合部分の上記芯材内には、該2本の木製軸材に跨がるように断面矩形状の接合部材が設けられ、
上記2本の木製軸材の接合部分には、該接合部分に上記接合部材を連結するための連結ピンが挿入されるピン穴がそれぞれ形成され、
上記2本の木製軸材は、該2本の木製軸材の接合部分の上記芯材内に設けられた上記接合部材を上記ピン穴に挿入された上記連結ピンで上記2本の木製軸材にそれぞれ連結することによって接合されている
ことを特徴とする木製軸材の接合構造。
【請求項6】
第1木製軸材の木口面が第2木製軸材の側面に当接するように上記第1及び第2木製軸材を接合する木製軸材の接合構造であって、
上記第1及び第2木製軸材は、請求項1~4のいずれか1つに記載の木製軸材によって構成され、
上記第2木製軸材の上記第1木製軸材の木口面が当接する部分には、上記第1木製軸材の芯材の内側の空洞を上記第2木製軸材の上記芯材の内側の空洞まで延長する断面矩形状の孔が形成され、
上記第1及び第2木製軸材の接合部分には、上記第1木製軸材の上記芯材内から上記孔を介して上記第2木製軸材の上記芯材内まで延びるように断面矩形状の接合部材が設けられ、
上記第1及び第2木製軸材の接合部分には、該接合部分に上記接合部材を連結するための連結ピンが挿入されるピン穴がそれぞれ形成され、
上記第1及び第2木製軸材は、該第1及び第2木製軸材の接合部分の上記芯材内に設けられた上記接合部材を上記ピン穴に挿入された上記連結ピンで上記第1及び第2木製軸材にそれぞれ連結することによって接合されている
ことを特徴とする木製軸材の接合構造。
発明の詳細な説明
【技術分野】
【0001】
本発明は、木製軸材及び木製軸材の接合構造に関するものである。
続きを表示(約 1,100 文字)
【背景技術】
【0002】
従来、木造建築の柱や梁等の軸材には、丸太から切り出した製材や、断面寸法の小さな木材(ラミナ)を積層して接着剤で一体化した集成材を加工したものが用いられている(例えば、下記の特許文献1を参照)。
【先行技術文献】
【特許文献】
【0003】
特開2008-163651号公報
【発明の概要】
【発明が解決しようとする課題】
【0004】
しかしながら、製材や集成材を軸材として用いる場合、周りの端材を廃棄するため、6割程度の歩留まりとなり、歩留まりが悪いという問題がある。また、割れ、反り、節、傷等がある丸太を用いることができず、木質材料の有効活用ができないという問題がある。さらに、製材や集成材は、木目によって外観にばらつきが生じ、また、繊維方向を有するため、曲げ強度にばらつきが生じるという問題もあった。
【0005】
本発明は、かかる点に鑑みてなされたものであり、その目的は、外観及び曲げ強度のばらつきが小さく歩留まりのよい木製軸材及びその接合構造を提供することにある。
【課題を解決するための手段】
【0006】
上記の目的を達成するために、この発明では、中密度繊維板を用いて木製軸材を構成することとした。
【0007】
具体的には、第1の発明は、断面矩形状の木製軸材であって、矩形筒状に折り曲げられた中密度繊維板からなる芯材と、上記芯材の周囲に該芯材を取り囲むように設けられる矩形筒状に折り曲げられた中密度繊維板からなる少なくとも1つの補強材とを備えることを特徴とするものである。
【0008】
ここで、「矩形」には、角が丸まった角丸矩形も含まれる。
【0009】
第1の発明では、木製軸材を、矩形筒状に折り曲げられた中密度繊維板からなる芯材と該芯材を取り囲む中密度繊維板からなる少なくとも1つの補強材とで構成することとしている。つまり、木製軸材を中密度繊維板で構成することとしている。中密度繊維板は、割れ、反り、節、傷等がある木材や廃棄物の木材も原料とすることができる。また、中密度繊維板は、製材や集成材のように、木目による外観のばらつきが生じることがなく、繊維方向を有しないため、曲げ強度のばらつきも生じ難く曲げ強度はほぼ均一である。したがって、第1の発明によれば、外観及び曲げ強度のばらつきが小さく歩留まりのよい木製軸材を提供することができる。
【0010】
ところで、木製軸材を中密度繊維板で構成するにあたり、中密度繊維板と同様の製造方法で、板状体ではなく柱状体を形成して木製軸材とすることも考えられる。
(【0011】以降は省略されています)
この特許をJ-PlatPat(特許庁公式サイト)で参照する
関連特許
大建工業株式会社
吸音体及び音環境調整構造
1か月前
個人
鋸
2か月前
個人
木材精密加工用ジグ
8か月前
個人
貼付装置及び貼付方法
7か月前
丸大株式会社
竹粉製造装置
9か月前
個人
電動ボードカッターのブレード
3か月前
個人
跳ね上げ式ガイドクランプ
6か月前
株式会社 川上製作所
木材の連結構造
2か月前
株式会社岡田金属工業所
ブレード
7か月前
コニシ株式会社
集成材の製造方法
3か月前
NKE株式会社
トリマー治具
6か月前
大建工業株式会社
焼杉風化粧板とその製造方法
8か月前
清水建設株式会社
ビス打ち装置
8か月前
株式会社大林組
ドリルおよびドリル装置
4日前
清水建設株式会社
自動ビス打ち機
8か月前
株式会社大林組
木質板材の加工方法
9か月前
有限会社太悦鉄工
ヤニ取り装置および木材切断用鋸盤
4か月前
株式会社大林組
ドリル装置
1か月前
トヨタエンジニアリング有限会社
竹割機
6か月前
トヨタエンジニアリング有限会社
竹割機
5か月前
セイコーエプソン株式会社
シート製造装置
12日前
株式会社マキタ
携帯用切断機
5か月前
株式会社マキタ
ソーチェーン
2か月前
清水建設株式会社
防火積層体及びその製造方法
1か月前
トヨタT&S建設株式会社
桂剥き装置
7か月前
大建工業株式会社
人工突板の製造方法
9か月前
株式会社マキタ
木工用携帯用切削機
5か月前
株式会社竹中工務店
集成材の製造方法
5か月前
株式会社ショーシン
自走式薪割機
8か月前
大建工業株式会社
化粧板及び化粧板シリーズ
2か月前
広平凱王圧密科技有限公司
定尺圧密板スライスを切り込むスライサー
2か月前
トヨタ紡織株式会社
箱体および車両用内装ボード
9か月前
大建工業株式会社
木製軸材及び木製軸材の接合構造
8か月前
トヨタ紡織株式会社
木質系ボード部材の製造方法
8か月前
株式会社LIXIL
熱処理木材の漂白方法および木材の処理方法
2か月前
トヨタ紡織株式会社
植物繊維含有樹脂ボードの製造方法
2か月前
続きを見る
他の特許を見る