TOP
|
特許
|
意匠
|
商標
特許ウォッチ
Twitter
他の特許を見る
公開番号
2025021415
公報種別
公開特許公報(A)
公開日
2025-02-13
出願番号
2024082430
出願日
2024-05-21
発明の名称
杭頭接合構造
出願人
学校法人福岡大学
,
株式会社テクノ九州
,
株式会社岡本建設用品製作所
代理人
個人
,
個人
主分類
E02D
27/12 20060101AFI20250205BHJP(水工;基礎;土砂の移送)
要約
【課題】施工現場における溶接作業を容易化し、溶接作業時間を短縮することができ、優れた耐力を発揮する杭頭接合構造の提供。
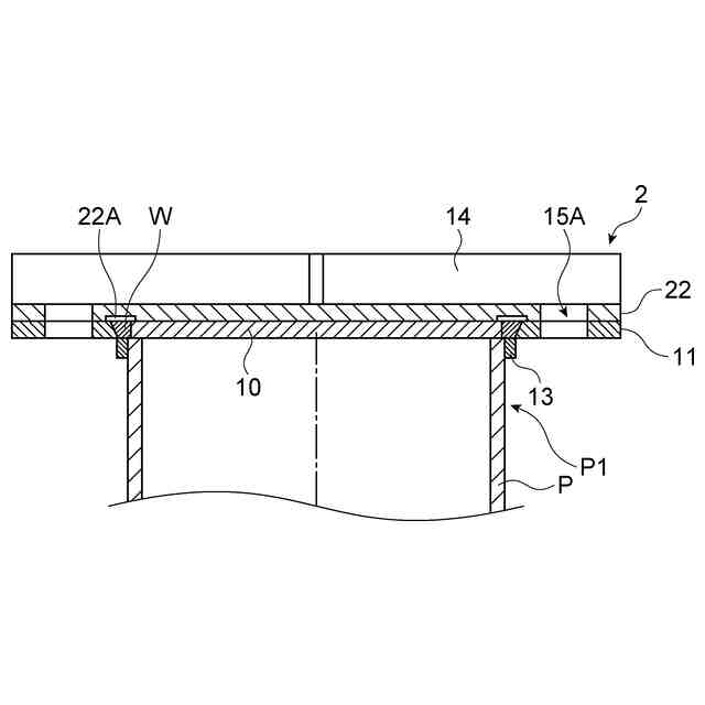
【解決手段】杭頭接合部材1が、杭頭部P1の上端面の開口を閉塞する円盤状の蓋部材10と、蓋部材10の外周部を囲む円環状の第1フランジ11と、蓋部材10と第1フランジ11との隙間部に対し、杭頭部P1側から裏当てする裏当て金13と、隙間部に設けられた溶接部Wと、第1フランジ11上に重ねて配置される第2フランジ12と、第1フランジ11および第2フランジ12を貫通するように設けられた複数の貫通孔と、複数の貫通孔を通じて第1フランジ11および第2フランジ12を挟み込んで締結される複数のアンカーボルト15とを備えた杭頭接合構造である。
【選択図】図3
特許請求の範囲
【請求項1】
地盤に打ち込まれた杭材の杭頭部に杭頭接合部材を固着して形成される杭頭接合構造であって、
杭頭接合部材が、
前記杭頭部の上端面の開口を閉塞する円盤状の蓋部材と、
前記蓋部材の外周部を囲む円環状の第1フランジと、
前記蓋部材と前記第1フランジとの隙間部に対し、前記杭頭部側から裏当てする裏当て金と、
前記隙間部に設けられた溶接部と、
前記第1フランジ上に重ねて配置される第2フランジと、
前記第1フランジおよび前記第2フランジを貫通するように設けられた複数の貫通孔と、
前記複数の貫通孔を通じて前記第1フランジおよび前記第2フランジを挟み込んで締結される複数の鉄筋材と
を備えた杭頭接合構造。
続きを表示(約 300 文字)
【請求項2】
前記第2フランジが円盤状である請求項1記載の杭頭接合構造。
【請求項3】
前記第2フランジの下面に前記溶接部を避ける溝部を有する請求項2記載の杭頭接合構造。
【請求項4】
前記第2フランジが前記溶接部を避ける円環状である請求項1記載の杭頭接合構造。
【請求項5】
前記第1フランジと前記第2フランジとの間に前記溶接部を避ける円環状の第3フランジを備えた請求項1記載の杭頭接合構造。
【請求項6】
前記第2フランジがその中心部を径方向に跨いだ状態で設けられた補強材を有する請求項1から5のいずれか1項に記載の杭頭接合構造。
発明の詳細な説明
【技術分野】
【0001】
本発明は、比較的大型の鉄筋コンクリート構造物の基礎工事において、地盤に打ち込まれた杭材の杭頭部と、その上方に構築される鉄筋コンクリート基礎部と、を接合する部分に施工される杭頭接合構造に関する。
続きを表示(約 1,700 文字)
【背景技術】
【0002】
杭頭接合構造に関しては、従来、多種多様の技術が開発、施工されている。例えば、特許文献1には、鋼管杭の外周面を周方向に囲繞するように複数の板状部材によって形成されるベースプレート部と、鋼管杭の外周面に取り付けられ板状部材をその上に載置させる裏当て金と、板状部材の内周縁と鋼管杭の外周面とを接合させる溶接部とを備えた杭頭構造が記載されている。
【0003】
また、例えば、特許文献2には、翼付鋼管杭の杭頭の外周に、2個以上の弧状の鋼板からなる杭頭支圧金具を各杭頭支圧金具と隣接する杭頭支圧金具の間に隙間を設けてリング状に配置するとともに杭軸と直交する方向へ鍔状に突出するように取付け、杭頭をコンクリートに埋設する翼付鋼管杭の杭頭接合構造が記載されている。
【先行技術文献】
【特許文献】
【0004】
特開2016-3507号公報
特開2013-241731号公報
【発明の概要】
【発明が解決しようとする課題】
【0005】
特許文献1に記載の杭頭構造においては、鋼管杭の外周面に取り付けられた裏当て金の上に複数の円弧プレートを載置し、円弧プレートの内周縁と鋼管杭の外周面とを溶接することによって、鋼管杭の外周面を周方向に囲繞するベースプレート部が形成される。そのため、施工現場においては、裏当て金の上に載置された円弧プレートが溶接作業中に動かないように治具で固定したり、他の作業者が円弧プレートを支えたりする必要があり、溶接作業が煩雑化し、溶接作時間の増大を招くことが多い。
【0006】
同様に、特許文献2に記載の翼付鋼管杭の杭頭接合構造においても、弧状の鋼板からなる複数の杭頭支圧金具は、溶接により、翼付鋼管杭の杭頭に鍔状に取り付けられているため、施工現場においては、杭頭支圧金具が溶接作業中に動かないように治具で固定したり、他の作業者が杭頭支圧金具を支えたりする必要があり、溶接作業が煩雑化し、溶接作時間の増大を招く可能性が高い。
【0007】
そこで、本発明においては、施工現場における溶接作業を容易化し、溶接作業時間を短縮することができ、優れた耐力を発揮する杭頭接合構造を提供することを目的とする。
【課題を解決するための手段】
【0008】
本発明の杭頭接合構造は、地盤に打ち込まれた杭材の杭頭部に杭頭接合部材を固着して形成される杭頭接合構造であって、杭頭接合部材が、杭頭部の上端面の開口を閉塞する円盤状の蓋部材と、蓋部材の外周部を囲む円環状の第1フランジと、蓋部材と第1フランジとの隙間部に対し、杭頭部側から裏当てする裏当て金と、隙間部に設けられた溶接部と、第1フランジ上に重ねて配置される第2フランジと、第1フランジおよび第2フランジを貫通するように設けられた複数の貫通孔と、複数の貫通孔を通じて第1フランジおよび第2フランジを挟み込んで締結される複数の鉄筋材とを備えたものである。
【0009】
本発明の杭頭接合構造では、地盤に打ち込まれた杭材の杭頭部に裏当て金を仮付け溶接し、円盤状の蓋部材および円環状の第1フランジを蓋部材と第1フランジとの隙間部において溶接することにより溶接部を形成する。このとき、円盤状の蓋部材は杭頭部の上端面の開口を閉塞するように杭頭部の上端面に載せるだけで良く、円環状の第1フランジは蓋部材の外周部を囲むように裏当て金の上に載せるだけで良いため、溶接作業は容易である。そして、第1フランジ上に第2フランジを重ねて配置し、第1フランジおよび第2フランジを貫通するように設けられた複数の貫通孔を通じて複数の鉄筋材を締結することで、優れた耐力を発揮することができ、第2フランジの溶接は不要であり、溶接時間を短縮することができる。
【0010】
ここで、第2フランジが円盤状であることにより、円環状の第1フランジ上に円盤状の第2フランジを重ねて配置し、複数の鉄筋材を締結することにより優れた耐力を発揮することができる。
(【0011】以降は省略されています)
この特許をJ-PlatPat(特許庁公式サイト)で参照する
関連特許
学校法人福岡大学
杭頭接合構造
7か月前
学校法人福岡大学
鋼管杭の継手構造
7か月前
学校法人福岡大学
鋼管杭の継手構造
7か月前
学校法人福岡大学
接続部材および木質構造
6日前
株式会社マルアイ
落雷損傷防止層を有する構造体
2か月前
NTT株式会社
置局設計装置、置局設計方法及びプログラム
1か月前
学校法人福岡大学
アスファルト混合物およびその製造方法、ならびにアスファルト舗装方法
6か月前
地方独立行政法人青森県産業技術センター
肺動脈モデル及びその製造方法
6か月前
学校法人福岡大学
蛍光性化合物、その製造方法、脂質過酸化の検出剤及び脂質過酸化の検出方法
1か月前
学校法人福岡大学
眼科手術用トロッカー及び眼科手術用トロッカーを備えたトロッカーシステム
6か月前
日本電信電話株式会社
連携無線通信装置、無線通信システム、空間多重無線伝送方法及びプログラム
6か月前
学校法人福岡大学
特定の感染症の発症予測に利用される予測スコアを算出する算出方法、生成方法、算出装置及びコンピュータプログラム
3か月前
個人
鋼管
13日前
FKS株式会社
擁壁
2日前
株式会社クボタ
作業車
今日
株式会社クボタ
作業車
今日
株式会社奥村組
ケーソン工法
5日前
株式会社武井工業所
積みブロック
22日前
株式会社奥村組
ケーソン刃口金物
5日前
株式会社大林組
袋体付き排水パイプ
12日前
株式会社大林組
袋体付き排水パイプ
12日前
株式会社熊谷組
密度計測方法
今日
大和ハウス工業株式会社
杭抜き先端具
6日前
日立建機株式会社
作業機械
2日前
ヤマト発動機株式会社
浮遊型消波装置
2日前
日立建機株式会社
作業機械
20日前
ヤンマーホールディングス株式会社
作業機械
1か月前
ゼニヤ海洋サービス株式会社
通船ゲート
12日前
鹿島建設株式会社
接続方法および接続構造
12日前
株式会社フジタ
掘削機
21日前
JFEスチール株式会社
鋼管矢板の継手構造
14日前
株式会社フジタ
建築物とその施工方法
12日前
JFEスチール株式会社
鋼管矢板の継手構造
2日前
有限会社 櫂設計事務所
掘削・撹拌具
28日前
JFEスチール株式会社
鋼管矢板の継手構造
14日前
株式会社大林組
建物の構築方法及び建物
12日前
続きを見る
他の特許を見る