TOP
|
特許
|
意匠
|
商標
特許ウォッチ
Twitter
他の特許を見る
10個以上の画像は省略されています。
公開番号
2025037404
公報種別
公開特許公報(A)
公開日
2025-03-18
出願番号
2023144317
出願日
2023-09-06
発明の名称
眼科手術用トロッカー及び眼科手術用トロッカーを備えたトロッカーシステム
出願人
学校法人福岡大学
代理人
個人
,
個人
主分類
A61F
9/007 20060101AFI20250311BHJP(医学または獣医学;衛生学)
要約
【課題】鉗子よりも大きな外形を有する手術用器具を確実に眼球内に挿入することが可能な眼科手術用トロッカー、及びトロッカーシステムを提供する。
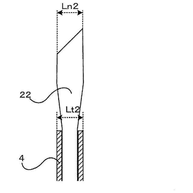
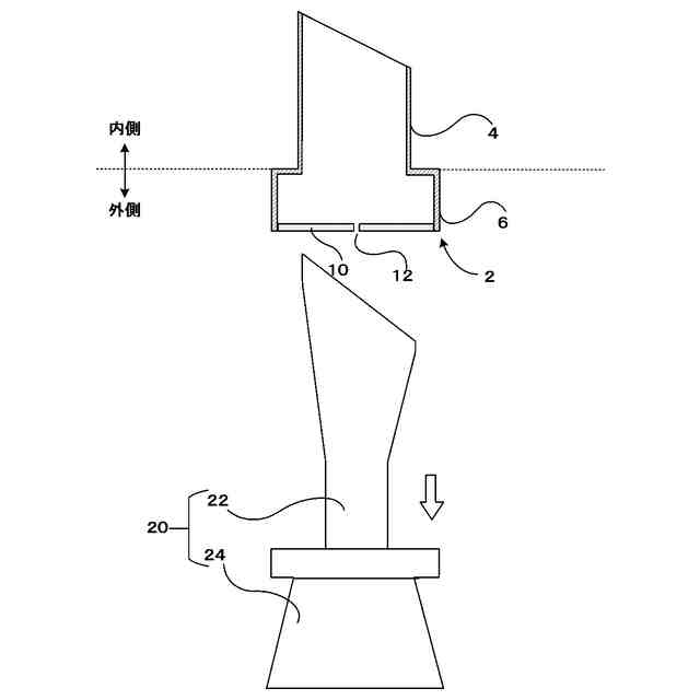
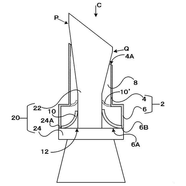
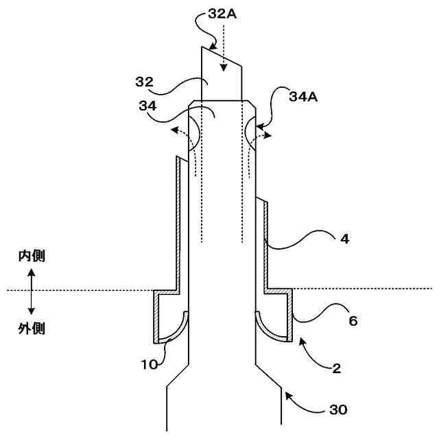
【解決手段】先端側の中空の挿入部4と後端側の中空の本体部6とが繋がり、挿入部の先端開口から本体部の後端開口6Aまで内部空間が形成され、少なくとも挿入部が弾性を有するトロッカー2であって、刃先部22が先端開口から突出するようにナイフ20の刃先部を眼球の内部に差し込むと挿入部も刃先部に伴って眼球の内部に挿入され、ナイフのみを後端開口から抜き取ることにより、挿入部が眼球の中に位置し、本体部が眼球の外に位置する設置状態が形成される。刃先部が挿入部の中を通過可能であり、設置状態において、手術用器具を挿入部の中に挿入すると、挿入部が拡がり、手術用器具を後端開口から抜き取ると、拡がっていた挿入部が元の形状に戻る。
【選択図】図5A
特許請求の範囲
【請求項1】
先端側の中空の挿入部と後端側の中空の本体部とが繋がり、前記挿入部の先端開口から前記本体部の後端開口まで内部空間が形成され、少なくとも前記挿入部が弾性を有するトロッカーであって、
刃先部が前記先端開口から突出するようにナイフを前記内部空間に配置させた状態で、前記刃先部の先端側から見たとき、前記刃先部の外形で前記挿入部の外形が概ね隠れた状態となっており、前記刃先部を眼球の内部に差し込むと前記挿入部も前記刃先部に伴って眼球の内部に挿入され、前記ナイフのみを前記後端開口から抜き取ることにより、前記挿入部が眼球の中に位置し、前記本体部が眼球の外に位置する設置状態が形成され、
前記挿入部が拡がることにより、前記刃先部が前記挿入部の中を通過可能であり、
前記設置状態において、前記後端開口から手術用器具を前記挿入部の中に挿入すると、前記挿入部が拡がって前記手術用器具の先端部が眼球内に挿入され、前記手術用器具を前記後端開口から抜き取ると、拡がっていた前記挿入部が元の形状に戻ることを特徴とする眼科手術用トロッカー。
続きを表示(約 1,400 文字)
【請求項2】
前記挿入部の中を通過する前記手術用器具の外径が1.5mm以上4mm以下の範囲にあることを特徴とする請求項1に記載の眼科手術用トロッカー。
【請求項3】
前記刃先部の最大幅寸法が、前記挿入部の外形の最大長手寸法以上であり、前記刃先部の最大厚み寸法が、前記挿入部の外形の最大短手寸法以上であることを特徴とする請求項1に記載の眼科手術用トロッカー。
【請求項4】
前記本体部の後端に前記ナイフの本体の前面と当接する当接面を有し、前記刃先部を眼球の内部に差し込むとき、前記当接面を介して前記ナイフの本体で押されて、前記挿入部が前記刃先部に伴って眼球の内部に挿入されることを特徴とする請求項1に記載の眼科手術用トロッカー。
【請求項5】
前記刃先部において、前記挿入部の中を通過するときに前記挿入部の内面と接する領域にエッジ部が形成されていないことを特徴とする請求項1に記載の眼科手術用トロッカー。
【請求項6】
前記本体部の中に弾性薄膜により形成された弁が設けられ、
前記ナイフまたは前記手術用器具が前記後端開口から前記本体部の中に挿入されたとき、前記ナイフまたは前記手術用器具の外形に応じて前記弁の開口部が拡がり、前記ナイフまたは前記手術用器具が前記後端開口から抜き取られたとき、前記弁の開口部が閉鎖することを特徴とする請求項1に記載の眼科手術用トロッカー。
【請求項7】
請求項1から6の何れか1項に記載の前記眼科手術用トロッカーと、
灌流液及び破砕部を吸引する吸込口を有する超音波振動子と、前記超音波振動子の外面を覆うように配置された灌流液を供給するための灌流スリーブと、を備えた超音波ハンドピースである前記手術用器具と、
を備えたことを特徴とする眼科手術用トロッカーシステム。
【請求項8】
請求項1から6の何れか1項に記載の前記眼科手術用トロッカーと、
灌流液及び破砕部を吸引する吸込口を有する超音波振動子を備えた超音波ハンドピースである前記手術用器具と、
灌流液を提供するためのインフュージョン用トロッカーと、
を備え、
前記眼科手術用トロッカーが耐熱性を有することを特徴とする眼科手術用トロッカーシステム。
【請求項9】
前記インフュージョン用トロッカーが、請求項1に記載の眼科手術用トロッカーと同様な構造を有し、更に、内部空間の本体部の内部領域に灌流液チューブが取り付けられており、
前記灌流液チューブが畳まれた状態では、前記本体部の中にナイフを配置する空間が存在し、
前記ナイフを後端開口から引き出した後、灌流液を供給すると、灌流液の液圧で畳まれていた前記灌流液チューブが拡がって、前記本体部の内面全周と接してシール状態を形成することを特徴とする請求項8に記載の眼科手術用トロッカーシステム。
【請求項10】
手術用補助器具の外部を覆う弾性を有し伸縮自在なサイドポートシール部材を更に備え、
眼球に設けられたサイドポートを介して前記手術用補助器具の先端が眼球内に挿入されるとき、前記サイドポートシール部材で前記サイドポートからの前房水の流出を抑制することを特徴とする請求項7に記載の眼科手術用トロッカーシステム。
(【請求項11】以降は省略されています)
発明の詳細な説明
【技術分野】
【0001】
本発明は、眼科手術において、手術用器具を眼球内に挿入するのに用いる眼科手術用トロッカーに関する。
続きを表示(約 1,900 文字)
【背景技術】
【0002】
眼科手術において、網膜硝子体の手術では、例えば、特許文献1に示すように、眼球の表面に、金属製の細径の管を有するトロッカーが刺されている。鉗子をこのトロッカーに通して、鉗子の先端を眼球内に挿入することができる。更に、鉗子の先端を眼底に到達させて、網膜手術を行うことができる。特許文献1に記載の手術では、鉗子の直径が0.5mm程度であり、トロッカーによる挿入点を支点として鉗子をピボット操作するので、トロッカーの外径も非常に小さくなっている。このため、金属製のトロッカーを眼球内に押し込むことが可能である。
【先行技術文献】
【特許文献】
【0003】
特開2022-142902
【発明の概要】
【発明が解決しようとする課題】
【0004】
しかしながら、このようなトロッカーは、例えば、白内障の超音波乳化吸引術に用いる超音波ハンドピースのような、より外形の大きな手術用器具に用いることはできない。仮に金属製のトロッカーの外径を超音波ハンドピースが挿入可能な大きさに拡げた場合、眼球を損傷させずに眼球内に押し込むことは困難で、創口を変形させ創口の閉鎖が困難となる。
【0005】
よって、現状では、術者がナイフを用いて組織を切開して創口を形成して、超音波ハンドピースを眼球内に挿入している。この場合、超音波ハンドピースの外形が大きいので大きな創口となる。また、術者の技量に依存し、創口不整やサイズの不一致で、手術操作が不安定になり、様々な合併症が生じる虞がある。また、ハンドピースの出し入れの度に前房水が眼球内から流出して眼圧が変動し、眼球が一時的に虚脱したり膨張したりするので、眼球内の部位に無理な力が加わり、合併症を引き起こす虞もある。
【0006】
そこで、本発明の目的は、術者の技量によらず、鉗子よりも大きな外形を有する手術用器具を確実に眼球内に挿入することが可能な眼科手術用トロッカー、及びこの眼科手術用トロッカーを備えたトロッカーシステムを提供することにある。
【課題を解決するための手段】
【0007】
本発明の1つの態様は、
先端側の中空の挿入部と後端側の中空の本体部とが繋がり、前記挿入部の先端開口から前記本体部の後端開口まで内部空間が形成され、少なくとも前記挿入部が弾性を有するトロッカーであって、
刃先部が前記先端開口から突出するようにナイフを前記内部空間に配置させた状態で、前記刃先部の先端側から見たとき、前記刃先部の外形で前記挿入部の外形が概ね隠れた状態となっており、前記刃先部を眼球の内部に差し込むと前記挿入部も前記刃先部に伴って眼球の内部に挿入され、前記ナイフのみを前記後端開口から抜き取ることにより、前記挿入部が眼球の中に位置し、前記本体部が眼球の外に位置する設置状態が形成され、
前記挿入部が拡がることにより、前記刃先部が前記挿入部の中を通過可能であり、
前記設置状態において、前記後端開口から手術用器具を前記挿入部の中に挿入すると、前記挿入部が拡がって前記手術用器具の先端部が眼球内に挿入され、前記手術用器具を前記後端開口から抜き取ると、拡がっていた前記挿入部が元の形状に戻る眼科手術用トロッカーである。
【0008】
本発明のその他の態様は、
上記の眼科手術用トロッカーと、
灌流液及び破砕部を吸引する吸込口を有する超音波振動子と、前記超音波振動子の外面を覆うように配置された灌流液を供給するためのスリーブと、を備えた超音波ハンドピースである前記手術用器具と、
を備えた眼科手術用トロッカーシステムである。
【0009】
本発明の更にその他の態様は、
上記の眼科手術用トロッカーと、
灌流液及び破砕部を吸引する吸込口を有する超音波振動子を備えた超音波ハンドピースである前記手術用器具と、
灌流液を提供するためのインフュージョン用トロッカーと、
を備え、
前記眼科手術用トロッカーが耐熱性を有する眼科手術用トロッカーシステムである。
【発明の効果】
【0010】
以上のように、本発明により、術者の技量によらず、鉗子よりも大きな外形を有する手術用器具を確実に眼球内に挿入することが可能な眼科手術用トロッカー、及びこの眼科手術用トロッカーを備えたトロッカーシステムを提供することができる。
【図面の簡単な説明】
(【0011】以降は省略されています)
この特許をJ-PlatPat(特許庁公式サイト)で参照する
関連特許
学校法人福岡大学
杭頭接合構造
7か月前
学校法人福岡大学
鋼管杭の継手構造
7か月前
学校法人福岡大学
鋼管杭の継手構造
7か月前
学校法人福岡大学
接続部材および木質構造
6日前
日本化薬株式会社
ガス発生剤組成物
8か月前
株式会社マルアイ
落雷損傷防止層を有する構造体
2か月前
学校法人福岡大学
細胞シート支持体、細胞シート積層体及びその製造方法
8か月前
NTT株式会社
置局設計装置、置局設計方法及びプログラム
1か月前
学校法人福岡大学
アスファルト混合物およびその製造方法、ならびにアスファルト舗装方法
6か月前
地方独立行政法人青森県産業技術センター
肺動脈モデル及びその製造方法
6か月前
学校法人福岡大学
蛍光性化合物、その製造方法、脂質過酸化の検出剤及び脂質過酸化の検出方法
1か月前
学校法人福岡大学
眼科手術用トロッカー及び眼科手術用トロッカーを備えたトロッカーシステム
6か月前
日本電信電話株式会社
連携無線通信装置、無線通信システム、空間多重無線伝送方法及びプログラム
6か月前
学校法人福岡大学
特定の感染症の発症予測に利用される予測スコアを算出する算出方法、生成方法、算出装置及びコンピュータプログラム
3か月前
個人
健康器具
7か月前
個人
短下肢装具
2か月前
個人
鼾防止用具
7か月前
個人
脈波測定方法
7か月前
個人
洗井間専家。
6か月前
個人
脈波測定方法
7か月前
個人
白内障治療法
6か月前
個人
マッサージ機
7か月前
個人
嚥下鍛錬装置
2か月前
個人
前腕誘導装置
2か月前
個人
導電香
8か月前
個人
矯正椅子
4か月前
個人
ホバーアイロン
5か月前
個人
汚れ防止シート
2日前
個人
胸骨圧迫補助具
26日前
個人
バッグ式オムツ
3か月前
個人
アイマスク装置
1か月前
個人
歯の修復用材料
3か月前
個人
湿布連続貼り機。
1か月前
個人
口内洗浄具
7か月前
個人
陣痛緩和具
2か月前
個人
歯の保護用シール
4か月前
続きを見る
他の特許を見る