TOP
|
特許
|
意匠
|
商標
特許ウォッチ
Twitter
他の特許を見る
10個以上の画像は省略されています。
公開番号
2025178393
公報種別
公開特許公報(A)
公開日
2025-12-05
出願番号
2025162923,2022575949
出願日
2025-09-30,2021-06-07
発明の名称
積み重ねられた四ホウ酸ストロンチウム板を使用した周波数変換
出願人
ケーエルエー コーポレイション
代理人
弁理士法人YKI国際特許事務所
主分類
G02F
1/37 20060101AFI20251128BHJP(光学)
要約
【課題】133nmよりも短い範囲で放射線を発生し、フォトマスク、レチクル、又はウェハの検査における使用に適したモードロック又はCWレーザに対する必要性がある。
【解決手段】積み重ねられた四ホウ酸ストロンチウムSrB4O7結晶板を含む非線形結晶は、疑似位相整合のための周期構造を作成するように構成され、レーザアセンブリの最終周波数変換段で使用されて、125nm~183nmの範囲の波長を有するレーザ出力光を発生する。1~1.1μmの間の基本波長を有する1つ以上の基本光ビームは、複数の中間周波数変換段を使用して倍増及び/又は合計されて、1つ以上の中間光ビーム周波数を発生し、次に、最終周波数変換段は、非線形結晶を利用して、単一の中間光ビーム周波数を倍増するか、2つの中間光ビーム周波数を合計して、所望のレーザ出力光を高出力及び光子エネルギーレベルで発生する。
【選択図】図1
特許請求の範囲
【請求項1】
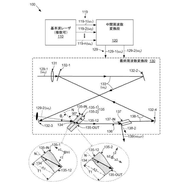
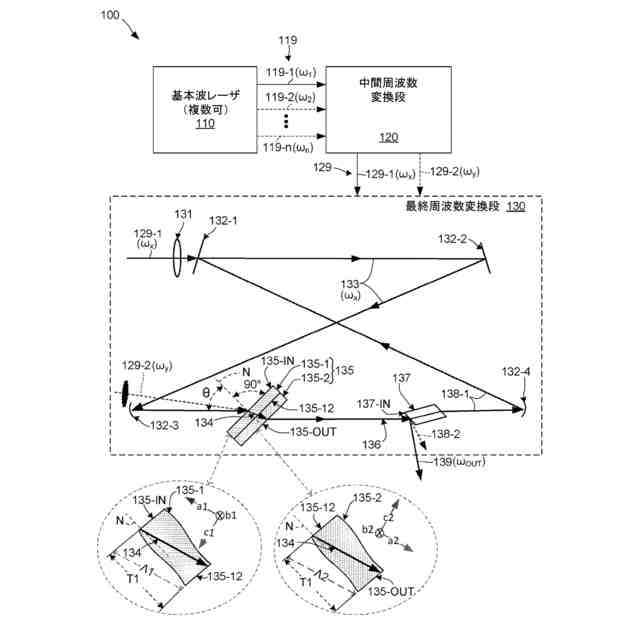
約125nm~約183nmの範囲内の対応する波長を備える出力周波数を有するレーザ出力光ビームを発生するための検査用レーザアセンブリであって、
対応する基本周波数を有する基本光ビームを発生するようにそれぞれ構成された1つ以上の基本波レーザと、
前記1つ以上の基本光ビームを使用して1つ以上の中間光ビームを発生するように集合的に構成される複数の中間周波数変換段であって、前記1つ以上の中間光ビームのそれぞれが関連する中間周波数を有している、複数の中間周波数変換段と、
前記1つ以上の中間光ビームを非線形結晶に通すように構成された最終周波数変換段と、を備え、
ここで前記非線形結晶は、積み重ねた構成で配置される複数の四ホウ酸ストロンチウムSrB
4
O
7
(SBO)結晶板を含み、各前記SBO結晶板は少なくとも1つの隣接する前記結晶板と界面表面を形成し、
ここで前記複数のSBO結晶板は、前記1つ以上の中間光ビームの疑似位相整合(QPM)を実現する周期構造を形成するように協調的に構成されることで、前記非線形結晶を出る光が前記出力周波数を有する前記レーザ出力光ビームを含み、
前記複数のSBO結晶板は、前記各SBO結晶板の第1の結晶軸が前記隣接するSBO結晶板の第2の結晶軸に対して反転するように構成され、かつ、光の伝播方向において前記周期構造の極間の間隔は、1つ以上の入力光周波数と出力周波数との前記疑似位相整合(QPM)を可能にする臨界長の奇数倍に等しいレーザアセンブリ。
続きを表示(約 2,500 文字)
【請求項2】
前記最終周波数変換段は、前記1つ以上の中間光ビームが、前記複数のSBO結晶板を通って前記第1の結晶軸及び前記第2の結晶軸の(i)a軸及び(ii)b軸のうちの1つに平行な方向に伝播するように構成される、請求項1に記載のレーザアセンブリ。
【請求項3】
前記最終周波数変換段は更に、
前記1つ以上の中間光ビームを受け取って循環させるように構成されることで、前記1つ以上の中間光ビームのビームウエストが前記非線形結晶で生じる、複数のミラーと、
前記非線形結晶を出る前記光を受け取るように配置され、前記出射光の第1の部分を反射して前記レーザ出力光ビームを形成するように、かつ前記出射光の第2の部分を通過し、前記複数のミラーによって循環されるように構成されるビームスプリッタと、
を含む、請求項1に記載のレーザアセンブリ。
【請求項4】
前記ビームスプリッタは、SBO結晶、SBOガラス、又はCaF
2
結晶のうちの1つを含む、請求項3に記載のレーザアセンブリ。
【請求項5】
前記1つ以上の基本波レーザは、対応する基本波長が1μm~1.1μmの間の基本周波数を有する基本光を発生するように構成され、
前記複数の中間周波数変換段は、
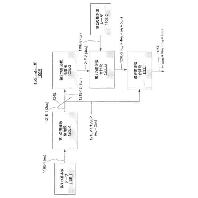
前記基本光を受け取るように結合され、前記基本周波数の2倍に等しい第2次高調波周波数を有する第2次高調波光を発生するように構成された第1の周波数倍増段と、
前記第1の周波数倍増段から前記第2次高調波光を受け取るように結合され、前記基本周波数の4倍に等しい第4次高調波周波数を有する第4次高調波光として前記中間光ビームを発生するように構成された第2の周波数倍増段と、を含み、
前記最終周波数変換段は、前記第4次高調波光を周波数倍増するように構成されて、前記レーザ出力光の前記出力周波数が前記基本周波数の8倍に等しい第8次高調波周波数となる、請求項1に記載のレーザアセンブリ。
【請求項6】
前記最終周波数変換段は更に、ビームスプリッタであって、前記非線形結晶を出る光を受け取るように配置され、前記ビームスプリッタの表面から反射される前記出射光の反射部分が前記レーザ出力光ビームを形成する前記第8次高調波周波数を含むように、かつ前記ビームスプリッタを通過する前記出射光の反射されない部分が前記第4次高調波周波数の未消費の部分を含むように構成されるビームスプリッタを含む、請求項5に記載のレーザアセンブリ。
【請求項7】
前記複数のSBO結晶板は、第1の前記SBO結晶板の第1の結晶軸が、隣接する第2の前記SBO結晶板の第2の結晶軸に対して反転されるように構成され、
前記第1及び第2のSBO結晶板の前記結晶軸は、前記第1及び第2のSBO結晶板の両方の結晶c軸が、前記第1及び第2のSBO結晶板を通過する前記第4次高調波光の偏光方向と実質的に平行になるように配向され、
前記出力周波数は実質的に133nmに等しく、
前記第1及び第2のSBO結晶板の少なくとも1つは、前記周期構造の極間の間隔が0.13μmの臨界長の奇数倍に実質的に等しくなるような厚さを有し、前記第4次高調波周波数と前記第8次高調波周波数の疑似位相整合を可能にする、請求項5に記載のレーザアセンブリ。
【請求項8】
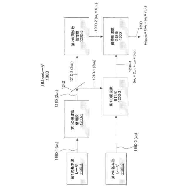
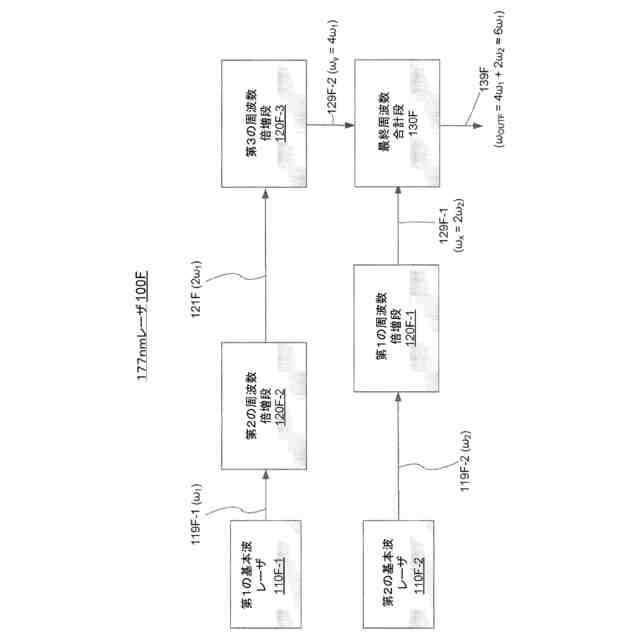
前記1つ以上の基本波レーザは、
対応する基本波長が1μm~1.1μmの間の第1の基本周波数を有する第1の基本光を発生するように構成される第1の基本波レーザと、
対応する基本波長が1μm~1.1μmの間の第2の基本周波数を有する第2の基本光を発生するように構成される第2の基本波レーザと、を含み、
前記複数の中間周波数変換段は、
前記第1の基本光を受け取るように結合され、前記第1の基本周波数の2倍に等しい第2次高調波周波数を有する第2次高調波光を発生するように構成された周波数倍増段と、
前記周波数倍増段から前記第2次高調波光と前記第2の基本光とを受け取るように結合され、前記中間光ビームを、前記第1の基本周波数の3倍に実質的に等しい第3次高調波周波数を有する第3次高調波光として発生するように構成された周波数合計段と、を含み、
前記最終周波数変換段は、前記第3次高調波光を周波数倍増するように構成されて、前記レーザ出力光の前記出力周波数が前記第1の基本周波数の6倍に実質的に等しい第6次高調波周波数となる、請求項1に記載のレーザアセンブリ。
【請求項9】
前記最終周波数変換段は更に、ビームスプリッタであって、前記非線形結晶を出る光を受け取るように配置され、前記ビームスプリッタの表面から反射される前記出射光の反射部分が前記レーザ出力光ビームを形成する前記第6次高調波周波数を含むように、かつ前記ビームスプリッタを通過する前記出射光の反射されない部分が前記第3次高調波周波数の未消費の部分を含むように構成されるビームスプリッタを含む、請求項8に記載のレーザアセンブリ。
【請求項10】
前記複数のSBO結晶板は、第1の前記SBO結晶板の第1の結晶軸が、隣接する第2の前記SBO結晶板の第2の結晶軸に対して反転されるように構成され、
前記第1及び第2のSBO結晶板の前記結晶軸は、前記第1及び第2のSBO結晶板の両方の結晶c軸が、前記第1及び第2のSBO結晶板を通過する前記第3次高調波光の偏光方向と実質的に平行になるように配向され、
前記出力周波数は実質的に177nmに等しく、
前記第1及び第2のSBO結晶板の少なくとも1つは、前記周期構造の極間の間隔が0.60μmの臨界長の奇数倍に実質的に等しくなるような厚さを有し、前記第3次高調波周波数と前記第6次高調波周波数の疑似位相整合を可能にする、請求項8に記載のレーザアセンブリ。
(【請求項11】以降は省略されています)
発明の詳細な説明
【技術分野】
【0001】
本出願は、VUV波長を有する光を発生することができるレーザに関し、特に、約125nm~183nmの範囲の光を発生することができるレーザと、そのようなレーザを使用して、例えば、フォトマスク、レチクル、及び半導体ウェハを検査する検査システムに関する。
続きを表示(約 2,500 文字)
【背景技術】
【0002】
関連出願の相互参照
本出願は、「177nm and 133nm CW Lasers Using Stacked Strontium Tetraborate Plates」と題する、米国仮特許出願第63/038,134号の優先権を主張し、それは2020年6月12日に出願されたものであり、参照により本明細書に援用される。本出願は更に、「152nm and 177nm CW Lasers Using Stacked Strontium Tetraborate Plates」と題する、米国仮特許出願第63/076,391号の優先権を主張し、それは2020年9月10日に出願されたものであり、参照により本明細書に援用される。
【0003】
本出願は更に、以下の米国特許文献に関連し、それらの全てが参照により本明細書に援用されており、それらは、Vaez-Iravaniらの米国特許第6,201,601号、Marxerらの米国特許第6,271,916号、Leongらの米国特許第7,525,649号、Chuangらの米国特許第7,817,260号、Armstrongの米国特許第8,298,335号及び第8,824,514号、Genisの米国特許第8,976,343号、Dribinskiの米国特許第9,023,152号、Dribinskiらの米国特許第9,461,435号及び第9,059,560号、Chuangの米国特許第9,293,882号及び第9,660,409号、Chuangらの米国特許第9,250,178号、第9,459,215号、第9,509,112号、第10,044,166号及び第10,283,366、ならびにDribinskiらに公開された米国特許出願第2014/0305367号である。
【0004】
半導体デバイスの寸法が縮小するにつれて、デバイスを故障させる可能性のある最小粒子又はパターン欠陥のサイズも縮小する。したがって、パターン付き、及びパターン付きでない半導体ウェハ及びレチクル上のより小さい粒子及び欠陥を検出する必要が生じる。粒子によって散乱される光の強度は、その光の波長より小さく、一般に、その粒子の寸法の高次べき数としてスケールされる(例えば、隔離された小さい球状粒子からの光の総散乱強度は、球の直径の6乗に比例し、波長の4乗に反比例する)。散乱光の強度が増加するため、より短い波長は、一般に、小さい粒子及び欠陥を検出するための感度が、より長い波長の感度よりも高くなる。
【0005】
小さい粒子及び欠陥から散乱される光の強度は、一般に非常に低いため、高い照射強度が、非常に短時間で検出され得る信号を生成するために必要とされる。0.3W以上の平均光源パワーレベルが必要とされ場合がある。これらの高い平均パワーレベルでは、高いパルス繰返し率が望ましく、それは繰返し率が高いほどパルス毎のエネルギーは低くなり、したがって、システム光学部品又は検査される物品に対する損傷のリスクが小さくなるためである。検査と計測に対する照明の必要性は、一般に連続波(CW)光源によって最も適される。CW光源は、一定のパワーレベルを有するため、ピークパワー損傷問題を回避し、画像又はデータを継続的に取得することを可能にする。しかし、場合によっては、繰返し率が約50MHz以上のモードロックレーザが有用となる場合があり、これは、繰返し率が高いということが、パルス毎のエネルギーを十分に低くして、特定の計測及び検査用途に関する損傷を回避し得る、ということを意味するためである。
【0006】
VUV光を発生するためのパルスレーザは、当技術分野において周知である。133nmで光を発生するための先行技術のレーザは、よく知られている(例えば、非特許文献1、及び非特許文献2)。残念ながら、そのようなレーザは、レーザパルスの繰返し率が低く、平均パワーレベルが低いため、検査用途にはあまり適さない。
【0007】
しかし、VUV範囲の波長を備えるモードロック及びCWレーザは、十分なパワーレベルで市販されていないか、又は信頼性が非常に低い。モードロック又はCW光を、約133nmまでの波長範囲において、約0.3Wより大きいパワーで発生するための先行技術は存在していなかった。
【0008】
パルス光源は、CW光源の時間平均パワーレベルよりもはるかに高い瞬間的なピークパワーレベルを有する。レーザパルスの非常に高いピークパワーは、光学部品に、及び測定されるサンプル又はウェハに損傷を与える可能性があり、それはほとんどの損傷メカニズムが非線形であり、平均パワーよりもピークパワーに強く依存するためである。パルス繰返し率が高いほど、同じ時間平均パワーレベルのパルスあたりの瞬時ピークパワーは低くなる。
【先行技術文献】
【特許文献】
【0009】
米国特許出願公開第2018/0188633号
【非特許文献】
【0010】
G.W.Faris、及びM.J.Dyer「Two-photon excitation of neon at 133nm」、Optics Letters.18巻、382頁(1993年)
A.Tu(uウムラウト)nnermann、C.Momma、K.Mossavi、C.Windolph、及びB.Wellegehausen、「Generation of tunable short pulse VUV radiation by four-wave mixing in Xenon with femtosecond KrF-excimer laser pulses」、IEEE Journal of Quantum Electronics.29巻、1233頁(1993年)
【発明の概要】
【発明が解決しようとする課題】
(【0011】以降は省略されています)
この特許をJ-PlatPat(特許庁公式サイト)で参照する
関連特許
株式会社シグマ
結像光学系
1か月前
株式会社シグマ
結像光学系
1か月前
日本精機株式会社
ミラーユニット
1か月前
アイカ工業株式会社
反射防止フィルム
7日前
日本電気株式会社
光モジュール
1か月前
東京応化工業株式会社
光学製品
今日
日東電工株式会社
導光部材
1か月前
株式会社コシナ
投射ズームレンズ
26日前
豊田合成株式会社
調光装置
20日前
個人
多方向視差効果のための微細穴加工
1か月前
京セラ株式会社
光学系
1か月前
日東電工株式会社
光学積層体
1か月前
新光電気工業株式会社
光導波路部品
今日
日本精機株式会社
ヘッドアップディスプレイ
1か月前
日本精機株式会社
ヘッドアップディスプレイ
1か月前
キヤノン株式会社
表示装置
5日前
キヤノン株式会社
表示装置
12日前
住友化学株式会社
複合偏光板
5日前
京セラ株式会社
アイソレータ
12日前
日本精機株式会社
ヘッドアップディスプレイ装置
1か月前
日本精機株式会社
ヘッドアップディスプレイ装置
1か月前
古河電気工業株式会社
光ファイバケーブル
5日前
古河電気工業株式会社
光ファイバケーブル
5日前
矢崎総業株式会社
光ケーブル
1日前
マクセル株式会社
映像表示装置
26日前
株式会社タムロン
ズームレンズ及び撮像装置
5日前
株式会社リコー
光走査装置及び画像形成装置
1か月前
株式会社タムロン
ズームレンズ及び撮像装置
1か月前
レーザーテック株式会社
光学装置及び調整方法
1か月前
ウシオ電機株式会社
反射型位相差構造体
1日前
スタンレー電気株式会社
透光性樹脂部材
1か月前
住友ベークライト株式会社
光学部品の製造方法
5日前
古河電気工業株式会社
融着機、ピッチ変換部材
5日前
マクセル株式会社
空中浮遊映像表示装置
1か月前
株式会社小糸製作所
画像表示装置
1か月前
株式会社小糸製作所
画像投影装置
20日前
続きを見る
他の特許を見る