TOP
|
特許
|
意匠
|
商標
特許ウォッチ
Twitter
他の特許を見る
10個以上の画像は省略されています。
公開番号
2025176845
公報種別
公開特許公報(A)
公開日
2025-12-05
出願番号
2024083196
出願日
2024-05-22
発明の名称
画像形成方法及び画像形成システム
出願人
コニカミノルタ株式会社
代理人
弁理士法人光陽国際特許事務所
主分類
G03G
9/097 20060101AFI20251128BHJP(写真;映画;光波以外の波を使用する類似技術;電子写真;ホログラフイ)
要約
【課題】本発明の課題は、樹脂製記録媒体を用いた画像における、耐ブロッキング性とニスの塗布性に優れた画像形成方法及び画像形成システムを提供することである。
【解決手段】本発明の画像形成方法は、樹脂製記録媒体に、静電荷像現像用トナーを定着して画像を形成する工程を含む電子写真方式の画像形成方法であって、炭素数16以上35以下の飽和炭化水素化合物の含有量が、前記静電荷像現像用トナーの全質量に対して1000質量ppm以下であり、前記樹脂製記録媒体に付着量4g/m
2
以上の画像を形成したときに、前記画像表面における山の頂点密度Spdが、5000mm
-2
以上である。
【選択図】図1
特許請求の範囲
【請求項1】
樹脂製記録媒体に、静電荷像現像用トナーを定着して画像を形成する工程を含む電子写真方式の画像形成方法であって、
炭素数16以上35以下の飽和炭化水素化合物の含有量が、前記静電荷像現像用トナーの全質量に対して1000質量ppm以下であり、
前記樹脂製記録媒体に付着量4g/m
2
以上の画像を形成したときに、前記画像表面における山の頂点密度Spdが、5000mm
-2
以上である
ことを特徴とする画像形成方法。
続きを表示(約 770 文字)
【請求項2】
前記飽和炭化水素化合物の含有量が、前記静電荷像現像用トナーの全質量に対して1質量ppm以上である
ことを特徴とする請求項1に記載の画像形成方法。
【請求項3】
前記樹脂製記録媒体が、連帳メディアである
ことを特徴とする請求項1に記載の画像形成方法。
【請求項4】
前記樹脂製記録媒体の厚さが、75μm以下である
ことを特徴とする請求項1に記載の画像形成方法。
【請求項5】
前記樹脂製記録媒体が、厚さ50μmのポリエチレンテレフタレートフィルムである
ことを特徴とする請求項1に記載の画像形成方法。
【請求項6】
前記静電荷像現像用トナーが、結着樹脂を含有し、
当該結着樹脂が、非晶性ポリエステル及び結晶性ポリエステルを少なくとも含有する
ことを特徴とする請求項1に記載の画像形成方法。
【請求項7】
前記結着樹脂中における前記非晶性ポリエステルの含有率が、5~80質量%の範囲内である
ことを特徴とする請求項6に記載の画像形成方法。
【請求項8】
前記非晶性ポリエステルの多価アルコールが、脂肪族多価アルコール又は脂環式多価アルコールである
ことを特徴とする請求項6に記載の画像形成方法。
【請求項9】
前記多価アルコールが、炭素数5以上の非環式の脂肪族多価アルコールである
ことを特徴とする請求項8に記載の画像形成方法。
【請求項10】
前記結着樹脂が、重量平均分子量5万~50万の範囲内の非晶性樹脂を含有する
ことを特徴とする請求項6に記載の画像形成方法。
(【請求項11】以降は省略されています)
発明の詳細な説明
【技術分野】
【0001】
本発明は、画像形成方法及び画像形成システムに関し、特に、樹脂製記録媒体を用いた画像における、耐ブロッキング性とニスの塗布性に優れた画像形成方法等に関する。
続きを表示(約 1,900 文字)
【背景技術】
【0002】
近年の記録媒体の多様化が進む中、樹脂製記録媒体であるフィルムへの印刷需要が増加している。
樹脂製記録媒体は、ロール・to・ロール方式の印刷加工技術で用いられる。前記印刷加工技術では、ロール状に巻いた樹脂製記録媒体を、印刷、コーティング及び熱処理などの加工装置を備えた搬送ラインに通して、最後にライン末端の巻き取りロールに巻き上げられる。このような工程で印刷された樹脂製記録媒体上の画像は、画像の耐久性にいくつかの問題を抱えている。
特許文献1で開示されるトナーでは、結着樹脂にポリプロピレン系樹脂由来の構成部位を含有させているが、画像表面の凹凸性に起因する記録媒体への接着性に問題があった。
【0003】
そこで、樹脂製記録媒体を用いて、前記ロール・to・ロール方式で印刷した画像の品位や耐久性を向上させる目的で、画像の一部又は全面にニスコートを施すことがある。
ニスコートに用いられるニスは、離型剤としてトナーに含まれるワックスとの親和性が低い。そのため、ニスコートが塗布時にはじかれやすいという問題や、コート後の画像とニスとの密着性が低いという問題がある。
これらのような問題を解決するため、特許文献2では、特定の重合性化合物を配合したオーバーコート組成物であるニスを用い、これによりニスのはじきを抑制しつつ密着性を高めることができることが開示されている。また、特許文献2には、前記ニスを用いるときは、トナーの離型剤としてイソパラフィンを使用することが好ましいことが開示されている。
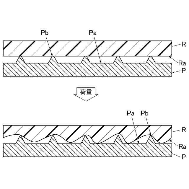
特許文献3には、画像表面において、特定量のワックスが特定の偏在度で配置された画像を形成する印画物の製造方法が開示されている。ワックスが画像表面で適度に偏在することにより、ニスと接触するトナーの割合を高めて、ニスとトナー画像との密着性を高められることが記載されている。また、ワックスが画像表面で適度に偏在していることで、ニスと接触するトナーの割合を高めて、ニスとトナー画像との密着性を高められることが記載されている。
【0004】
しかしながら、上記特許文献2及び3の技術では、ニスとトナー画像との密着性が未だ不十分であった。また、画像が形成された樹脂製記録媒体を重ね合わせたときに、樹脂製記録媒体の裏面と画像との接触により、画像が樹脂製記録媒体の裏面に転移するというブロッキングの問題があった。
【先行技術文献】
【特許文献】
【0005】
特開2019-204030号公報
特開2012-078565号公報
特開2021-036298号公報
【発明の概要】
【発明が解決しようとする課題】
【0006】
本発明は、上記問題・状況に鑑みてなされたものであり、その解決課題は、樹脂製記録媒体を用いた画像における、耐ブロッキング性とニスの塗布性に優れた画像形成方法及び画像形成システムを提供することである。
【課題を解決するための手段】
【0007】
本発明者は、上記課題を解決すべく、上記問題の原因等について検討した。本発明者は、炭素数16以上35以下の飽和炭化水素化合物を特定量以下としたトナーを用いて画像を形成したとき、画像表面における山の頂点密度Spdを特定範囲とすることで、樹脂製記録媒体を用いた画像における、耐ブロッキング性及びニスの塗布性を向上させることができることを見い出した。
すなわち、本発明に係る上記課題は、以下の手段により解決される。
【0008】
1.樹脂製記録媒体に、静電荷像現像用トナーを定着して画像を形成する工程を含む電子写真方式の画像形成方法であって、
炭素数16以上35以下の飽和炭化水素化合物の含有量が、前記静電荷像現像用トナーの全質量に対して1000質量ppm以下であり、
前記樹脂製記録媒体に付着量4g/m
2
以上の画像を形成したときに、前記画像表面における山の頂点密度Spdが、5000mm
-2
以上である
ことを特徴とする画像形成方法。
【0009】
2.前記飽和炭化水素化合物の含有量が、前記静電荷像現像用トナーの全質量に対して1質量ppm以上である
ことを特徴とする第1項に記載の画像形成方法。
【0010】
3.前記樹脂製記録媒体が、連帳メディアである
ことを特徴とする第1項に記載の画像形成方法。
(【0011】以降は省略されています)
この特許をJ-PlatPat(特許庁公式サイト)で参照する
関連特許
コニカミノルタ株式会社
校正装置
1日前
コニカミノルタ株式会社
画像形成装置
8日前
コニカミノルタ株式会社
画像処理装置
6日前
コニカミノルタ株式会社
画像形成方法
6日前
コニカミノルタ株式会社
画像形成装置
2日前
コニカミノルタ株式会社
画像形成方法
1日前
コニカミノルタ株式会社
画像形成システム
6日前
コニカミノルタ株式会社
画像形成システム
今日
コニカミノルタ株式会社
検品装置および検品方法
6日前
コニカミノルタ株式会社
後処理装置および画像形成装置
1日前
コニカミノルタ株式会社
保持シート、及び画像形成装置
7日前
コニカミノルタ株式会社
光学装置及びその組み立て方法
2日前
コニカミノルタ株式会社
搬送スクリュー及び画像形成装置
今日
コニカミノルタ株式会社
潤滑剤塗布装置及び画像形成装置
6日前
コニカミノルタ株式会社
画像形成方法及び画像形成システム
6日前
コニカミノルタ株式会社
ローラーユニット及び画像形成装置
今日
コニカミノルタ株式会社
画像形成システム及び画像形成方法
今日
コニカミノルタ株式会社
動態画像解析装置、方法、及びプログラム
今日
コニカミノルタ株式会社
画像形成装置、用紙管理方法及びプログラム
6日前
コニカミノルタ株式会社
液体吐出装置、信号検知方法及びプログラム
6日前
コニカミノルタ株式会社
分析装置、分析方法、および制御プログラム
今日
コニカミノルタ株式会社
画像形成装置、調整方法および調整プログラム
6日前
コニカミノルタ株式会社
超音波診断装置、画像保存方法及びプログラム
今日
コニカミノルタ株式会社
画像形成システム、排出方法およびプログラム
2日前
コニカミノルタ株式会社
画像形成システム、画像形成方法及びプログラム
6日前
コニカミノルタ株式会社
ジョブ実行システム、制御方法、及びプログラム
6日前
コニカミノルタ株式会社
超音波診断装置、プログラム及び超音波診断方法
今日
コニカミノルタ株式会社
用紙特性検出装置、画像形成システム及びプログラム
2日前
コニカミノルタ株式会社
画像形成装置、および画像形成装置のクリーニング方法
6日前
コニカミノルタ株式会社
画像形成装置、連結治具および画像形成装置の製造方法
6日前
コニカミノルタ株式会社
撮影支援装置、撮影支援方法および撮影支援プログラム
今日
コニカミノルタ株式会社
情報処理装置、情報処理方法、および情報処理プログラム
1日前
コニカミノルタ株式会社
文書作成支援装置、文書作成支援方法、及び、プログラム
6日前
コニカミノルタ株式会社
インクジェット記録装置、吐出不良抑制方法及びプログラム
7日前
コニカミノルタ株式会社
画像形成装置並びに交換部品損傷度判定方法及びプログラム
6日前
コニカミノルタ株式会社
超音波診断装置、超音波診断プログラム、及び超音波診断方法
今日
続きを見る
他の特許を見る