TOP
|
特許
|
意匠
|
商標
特許ウォッチ
Twitter
他の特許を見る
公開番号
2025177874
公報種別
公開特許公報(A)
公開日
2025-12-05
出願番号
2024085015
出願日
2024-05-24
発明の名称
画像形成装置、用紙管理方法及びプログラム
出願人
コニカミノルタ株式会社
代理人
弁理士法人光陽国際特許事務所
主分類
B65H
1/00 20060101AFI20251128BHJP(運搬;包装;貯蔵;薄板状または線条材料の取扱い)
要約
【課題】ユーザーの利便性を損なうことなく正確な用紙サイズに基づく画像形成が可能な画像形成装置、用紙管理方法及びプログラムを提供する。
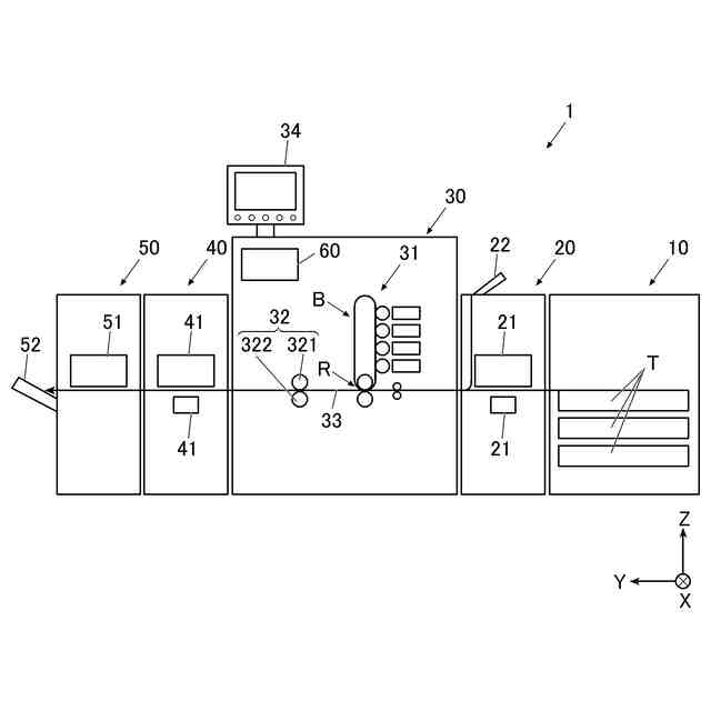
【解決手段】画像形成装置1は、用紙Pが格納される複数の格納部である給紙トレイTを備える給紙部10と、給紙部10から給紙された用紙Pに画像を形成する画像形成部30と、第1の用紙サイズを含む第1用紙情報を検出部である上流読取センサー21から取得する第1取得部、ユーザーの入力内容に基づいて第2の用紙サイズを含む第2用紙情報を取得する第2取得部並びに一の給紙トレイTと、第1用紙情報及び第2用紙情報を紐付けて記憶部63に記憶する記憶制御部として機能する制御部60と、を備える。
【選択図】図1
特許請求の範囲
【請求項1】
用紙が格納される複数の格納部を備える給紙部と、
前記給紙部から給紙された前記用紙に画像を形成する画像形成部と、
第1の用紙サイズを含む第1用紙情報を検出部から取得する第1取得部と、
ユーザーの入力内容に基づいて第2の用紙サイズを含む第2用紙情報を取得する第2取得部と、
一の前記格納部と、前記第1用紙情報及び前記第2用紙情報を紐付けて記憶部に記憶する記憶制御部と、を備える画像形成装置。
続きを表示(約 1,100 文字)
【請求項2】
前記第1用紙情報に基づいて第1の処理を行い、前記第2用紙情報に基づいて第2の処理を行う処理制御部を備える請求項1に記載の画像形成装置。
【請求項3】
前記第1の処理は、前記用紙の裁断位置の設定、前記用紙の第1面と当該第1面に対向する第2面の位置合わせ及び前記画像形成部に形成させる紙間パッチの調整のうち少なくともいずれか一つを含む請求項2に記載の画像形成装置。
【請求項4】
前記第2の処理は、前記画像形成部に給紙される複数の前記用紙間の距離の設定、前記画像形成部に形成させる画像の倍率の設定及び表示部における前記用紙の情報の表示制御のうち少なくともいずれか一つを含む請求項2に記載の画像形成装置。
【請求項5】
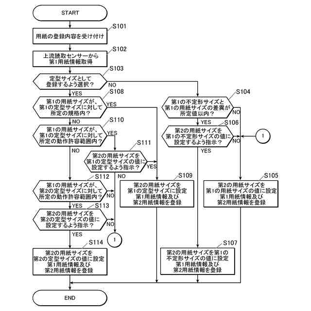
前記第2取得部は、ユーザーが入力した第1の定型サイズと、前記第1の用紙サイズと、の差異が所定の範囲内である場合、前記第1の定型サイズの値を前記第2の用紙サイズとして取得する請求項1に記載の画像形成装置。
【請求項6】
前記第2取得部は、ユーザーが入力した第1の定型サイズと、前記第1の用紙サイズと、の差異が所定の規格で定められた所定値以内である場合、前記第1の定型サイズの値を前記第2の用紙サイズとして取得する請求項5に記載の画像形成装置。
【請求項7】
前記第2取得部は、ユーザーが入力した第1の定型サイズと、前記第1の用紙サイズと、の差異が前記所定の範囲外であり、かつ、前記第1の定型サイズに最も近い第2の定型サイズと、前記第1の用紙サイズと、の差異が前記所定の範囲内である場合、前記第2の定型サイズの値を前記第2の用紙サイズとして取得する請求項5に記載の画像形成装置。
【請求項8】
前記第2取得部は、ユーザーが入力した第1の定型サイズと、前記第1の用紙サイズと、の差異が前記所定の範囲外であり、かつ、前記第1の定型サイズに最も近い第2の定型サイズと、前記第1の用紙サイズと、の差異が前記所定の範囲外である場合、前記第1の用紙サイズの値を前記第2の用紙サイズとして取得する請求項7に記載の画像形成装置。
【請求項9】
前記第1の定型サイズ又は前記第2の定型サイズと、前記第1の用紙サイズと、の差異が前記所定の範囲外である場合に報知する報知部を備える請求項7又は8に記載の画像形成装置。
【請求項10】
前記報知部は、少なくとも前記第1用紙情報を報知する請求項9に記載の画像形成装置。
(【請求項11】以降は省略されています)
発明の詳細な説明
【技術分野】
【0001】
本発明は、画像形成装置、用紙管理方法及びプログラムに関する。
続きを表示(約 1,200 文字)
【背景技術】
【0002】
従来、複数の給紙トレイにそれぞれセットされた複数種類の用紙から適したものを画像形成部に搬送して、画像を形成する画像形成装置が知られている。
【0003】
例えば特許文献1には、用紙サイズを読取装置によって取得して、取得した用紙サイズを所定の給紙トレイに対応付けて記憶する構成が記載されている。
【先行技術文献】
【特許文献】
【0004】
特開2004-284764号公報
【発明の概要】
【発明が解決しようとする課題】
【0005】
しかしながら、例えばユーザーがA4サイズを狙って用紙を裁断したものの、実際のサイズはJIS規格で定められたA4サイズと異なることがある。このような場合、特許文献1の発明では、ユーザーは当該用紙をA4サイズとして扱いたいにも関わらず、記憶部には不定形サイズとして記憶され、プリントジョブにおいても不定形サイズとして扱われるため、ユーザーの利便性が損なわれる。
【0006】
他方で、当該用紙をA4サイズとして記憶した場合、当該用紙の正確なサイズ情報が失われる。そのため、正確なサイズ情報を要する処理の際に、エラーが発生するおそれがある。
【0007】
本発明はかかる事情に鑑みてなされたものである。その目的は、ユーザーの利便性を損なうことなく正確な用紙サイズに基づく画像形成が可能な画像形成装置、用紙管理方法及びプログラムを提供することである。
【課題を解決するための手段】
【0008】
以上の課題を解決するため、請求項1に記載の発明は、画像形成装置であって、
用紙が格納される複数の格納部を備える給紙部と、
前記給紙部から給紙された前記用紙に画像を形成する画像形成部と、
第1の用紙サイズを含む第1用紙情報を検出部から取得する第1取得部と、
ユーザーの入力内容に基づいて第2の用紙サイズを含む第2用紙情報を取得する第2取得部と、
一の前記格納部と、前記第1用紙情報及び前記第2用紙情報を紐付けて記憶部に記憶する記憶制御部と、を備える。
【0009】
請求項2に記載の発明は、請求項1に記載の画像形成装置であって、
前記第1用紙情報に基づいて第1の処理を行い、前記第2用紙情報に基づいて第2の処理を行う処理制御部を備える。
【0010】
請求項3に記載の発明は、請求項2に記載の画像形成装置であって、
前記第1の処理は、前記用紙の裁断位置の設定、前記用紙の第1面と当該第1面に対向する第2面の位置合わせ及び前記画像形成部に形成させる紙間パッチの調整のうち少なくともいずれか一つを含む。
(【0011】以降は省略されています)
この特許をJ-PlatPat(特許庁公式サイト)で参照する
関連特許
コニカミノルタ株式会社
画像形成システム
今日
コニカミノルタ株式会社
搬送スクリュー及び画像形成装置
今日
コニカミノルタ株式会社
ローラーユニット及び画像形成装置
今日
コニカミノルタ株式会社
画像形成システム及び画像形成方法
今日
コニカミノルタ株式会社
動態画像解析装置、方法、及びプログラム
今日
コニカミノルタ株式会社
超音波診断装置、画像保存方法及びプログラム
今日
コニカミノルタ株式会社
超音波診断装置、プログラム及び超音波診断方法
今日
コニカミノルタ株式会社
撮影支援装置、撮影支援方法および撮影支援プログラム
今日
コニカミノルタ株式会社
超音波診断装置、超音波診断プログラム、及び超音波診断方法
今日
個人
収容箱
4か月前
個人
束ね具
1か月前
個人
コンベア
6か月前
個人
容器
10か月前
個人
段ボール箱
8か月前
個人
ゴミ収集器
8か月前
個人
段ボール箱
8か月前
個人
楽ちんハンド
6か月前
個人
宅配システム
8か月前
個人
テープ引出機
1か月前
個人
土嚢運搬器具
10か月前
個人
角筒状構造体
7か月前
個人
バンド
3か月前
個人
コード類収納具
9か月前
個人
廃棄物収容容器
4か月前
個人
棒状体収容容器
1か月前
個人
お薬の締結装置
7か月前
個人
包装容器
2か月前
個人
貯蔵サイロ
8か月前
株式会社和気
包装用箱
1か月前
個人
ゴミ処理機
10か月前
株式会社バンダイ
物品
2か月前
個人
蓋閉止構造
5か月前
株式会社コロナ
梱包材
7か月前
個人
把手付米袋
6か月前
株式会社和気
包装用箱
10か月前
個人
蓋閉止構造
5か月前
続きを見る
他の特許を見る