TOP
|
特許
|
意匠
|
商標
特許ウォッチ
Twitter
他の特許を見る
公開番号
2025180204
公報種別
公開特許公報(A)
公開日
2025-12-11
出願番号
2024087373
出願日
2024-05-29
発明の名称
画像形成システム
出願人
コニカミノルタ株式会社
代理人
弁理士法人磯野国際特許商標事務所
主分類
B41J
5/30 20060101AFI20251204BHJP(印刷;線画機;タイプライター;スタンプ)
要約
【課題】文字または線画とその背景等が判別し難いデータであっても適切に白色画像を形成する画像形成システムを提供すること。
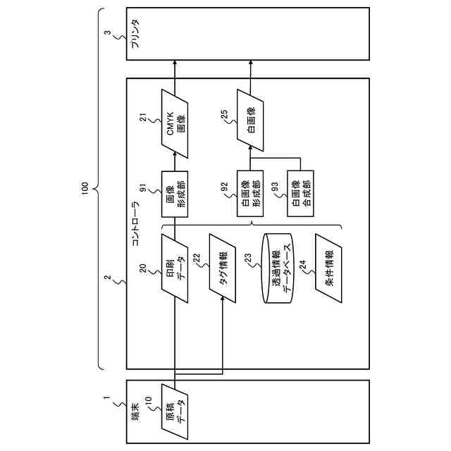
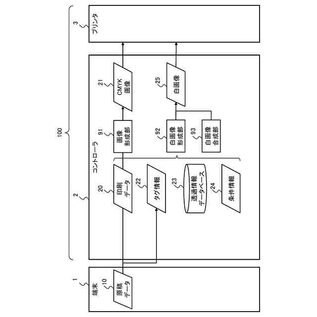
【解決手段】画像形成システム100は、受信した印刷データ20から受信した印刷データ20から有色画像データと白画像データを生成する画像処理装置9と、白画像データ25と有色画像データを印刷する画像形成装置と、を備える。画像処理装置9は、白画像データ25の濃度を制御する白画像形成部92を有する。白画像形成部9は、印刷するメディア101の透過率と有色画像データの印刷濃度から白画像データの濃度を設定する。
【選択図】図1
特許請求の範囲
【請求項1】
受信した印刷データから有色画像データと白画像データを生成する画像処理装置と、
前記白画像データと前記有色画像データを印刷する画像形成装置と、
を備える画像形成システム。
続きを表示(約 780 文字)
【請求項2】
前記画像処理装置は、前記白画像データの濃度を制御する白画像形成部を有する、
請求項1に記載の画像形成システム。
【請求項3】
前記白画像形成部は、印刷するメディアの透過率と前記有色画像データの印刷濃度から前記白画像データの濃度を設定する、
請求項2に記載の画像形成システム。
【請求項4】
前記白画像形成部は、前記有色画像データの印刷濃度と、前記白画像データの濃度と、を当該画像処理装置のトナー量制限値まで設定可能にする、
請求項2に記載の画像形成システム。
【請求項5】
前記白画像形成部は、前記白画像データの濃度を均一にする、
請求項2に記載の画像形成システム。
【請求項6】
前記有色画像データをトンボの内側に生成し、かつ外側には生成しない画像形成部を有する、
請求項1に記載の画像形成システム。
【請求項7】
前記画像処理装置側の地紋あるいはスタンプを取得し、前記白画像データに合成する白画像合成部を有する、
請求項2に記載の画像形成システム。
【請求項8】
前記有色画像データは、複数の色画像データを含んで構成され、
前記白画像形成部は、選択された色画像データに基づいて前記白画像データを生成する、
請求項2に記載の画像形成システム。
【請求項9】
前記有色画像データを構成する色画像データの選択を受け付ける操作部を有する、
請求項8に記載の画像形成システム。
【請求項10】
前記白画像形成部は、前記印刷データからオブジェクトを判定する、
請求項2に記載の画像形成システム。
(【請求項11】以降は省略されています)
発明の詳細な説明
【技術分野】
【0001】
本発明は、画像形成システムに関する。
続きを表示(約 1,300 文字)
【背景技術】
【0002】
シールやポスタ等の透過率の高いメディアに印刷した場合、張り付けた場所によっては、背景の色の影響を受けて、思った色にならない場合がある。これを回避するためには、例えば、白インクで下地を印刷して、背景に影響されないようにすることによって可能となる。
【0003】
下地のデータを白インクで印刷する場合は、元の原稿とは別に専用のオブジェクトが必要となる。この場合は、Adobe(登録商標)に代表されるDTP(Desktop Publishing)アプリケーションで特色を生成し、それを白インクで印刷する。これには、専門的な知識も必要となる。
【0004】
しかし、Office(登録商標)等のアプリケーションを使用した場合は、簡単なポップやイラストを作成は可能だが、プロセスカラーで特色を設定することはできない。特色を設定できない場合、原稿とは別に白インク用のデータを生成して、これを白インクで印刷する。この白インクで印刷した用紙を再度追い刷り印刷で原稿を印刷することで、下地の印刷は可能だが、ズレが発生するという問題点があった。
【0005】
このような問題点を解決するものとしては、例えば、特許文献1に記載されたカラー画像形成装置が知られている。特許文献1に記載のカラー画像形成装置は、原稿画像を読み取って全面または特定の領域に白色トナー像を形成するものである。
【先行技術文献】
【特許文献】
【0006】
特開2002-268318号公報
【発明の概要】
【発明が解決しようとする課題】
【0007】
特許文献1に記載のカラー画像形成装置は、ビットマップ化された原稿画像を読み取って画素の濃度分布や隣接するドット間での濃度差をチェックすることで、画像が写真や文字や線画であるかを判別して白色画像の形成範囲を決定している。そのため、例えば、文字または線画とその背景の濃度によっては、白色画像の形成範囲とのズレが発生し、白色画像の形成範囲が不適切になる場合があった。
例えば、複雑な画像や、文字または線画とその背景の濃度によっては、どれが文字なのか判別し難くなり、見辛くなるという問題点があった。
【0008】
本発明は、前記の問題点に鑑みてなされたものであり、文字または線画とその背景等が判別し難いデータであっても適切に白色画像を形成する画像形成システムを提供することを課題とする。
【課題を解決するための手段】
【0009】
前記課題を解決するための本発明は、以下の構成を備える。
(1) 受信した印刷データから有色画像データと白画像データを生成する画像処理装置と、前記白画像データと前記有色画像データを印刷する画像形成装置と、を備える画像形成システム。
【0010】
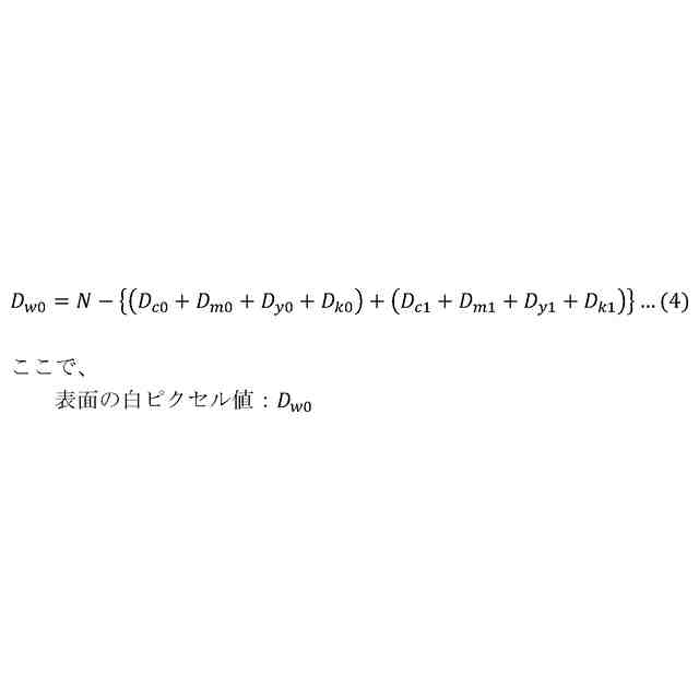
(2) 前記画像処理装置は、前記白画像データの濃度を制御する白画像形成部を有する、請求項1に記載の画像形成システム。
(【0011】以降は省略されています)
この特許をJ-PlatPat(特許庁公式サイト)で参照する
関連特許
他の特許を見る