TOP
|
特許
|
意匠
|
商標
特許ウォッチ
Twitter
他の特許を見る
10個以上の画像は省略されています。
公開番号
2025180441
公報種別
公開特許公報(A)
公開日
2025-12-11
出願番号
2024087780
出願日
2024-05-30
発明の名称
超音波診断装置、プログラム及び超音波診断方法
出願人
コニカミノルタ株式会社
代理人
弁理士法人光陽国際特許事務所
主分類
A61B
8/14 20060101AFI20251204BHJP(医学または獣医学;衛生学)
要約
【課題】超音波プローブをあおり操作する場合に、特別な付帯機器を用いることなく、適正な超音波画像を取得することができる超音波診断装置等を提供する。
【解決手段】超音波診断装置は、被検体内に超音波を送信し、当該被検体内の対象組織で反射した超音波を受信して受信信号を得、当該受信信号に基づいて対象組織の超音波画像を出力する超音波診断装置であって、超音波プローブのあおり操作により当該超音波プローブの角度を変化させたときの複数のフレームの超音波画像を取得する取得部と、取得部により取得された複数のフレームから超音波プローブと対象組織とが直交する場合の超音波画像を含む基準フレームを抽出する抽出部と、抽出部により抽出された基準フレームを出力する出力部と、を備える。
【選択図】図2
特許請求の範囲
【請求項1】
被検体内に超音波を送信し、当該被検体内の対象組織で反射した前記超音波を受信して受信信号を得、当該受信信号に基づいて前記対象組織の超音波画像を出力する超音波診断装置であって、
超音波プローブのあおり操作により当該超音波プローブの角度を変化させたときの複数のフレームの超音波画像を取得する取得部と、
前記取得部により取得された前記複数のフレームから前記超音波プローブと前記対象組織とが直交する場合の超音波画像を含む基準フレームを抽出する抽出部と、
前記抽出部により抽出された前記基準フレームを出力する出力部と、
を備える、超音波診断装置。
続きを表示(約 1,800 文字)
【請求項2】
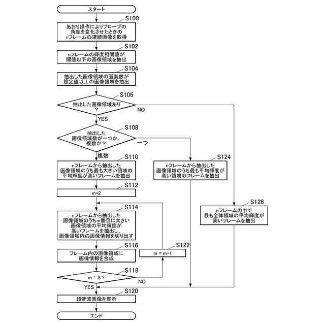
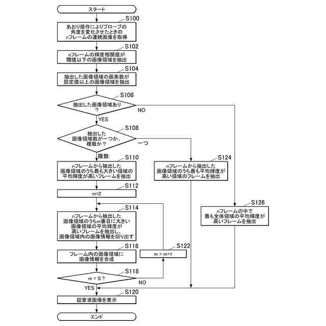
前記抽出部は、前記複数のフレームのそれぞれに含まれる画像領域間における輝度相関値が閾値以下となる画像領域を抽出する、
請求項1に記載の超音波診断装置。
【請求項3】
前記抽出部は、抽出した前記画像領域のうち最も平均輝度が高い前記画像領域を含むフレームを、前記基準フレームとして抽出する、
請求項2に記載の超音波診断装置。
【請求項4】
前記複数のフレームのそれぞれに、第1画像領域と第2画像領域とが少なくとも含まれる場合、
前記抽出部は、前記第1画像領域のうち最も平均輝度が高い前記第1画像領域を含む第1フレームを前記基準フレームとして前記複数のフレームから抽出し、
前記第2画像領域のうち最も平均輝度が高い前記第2画像領域を含む第2フレームを前記複数のフレームから抽出し、当該第2フレームから前記第2画像領域を切り出し、当該切り出した前記第2画像領域を前記第1フレームの前記第1画像領域に合成する、
請求項1に記載の超音波診断装置。
【請求項5】
前記抽出部は、複数のフレームのうち所定のフレームにおいて輝度差が閾値以内で連続する管腔領域を抽出し、抽出した当該管腔領域の深度を前記複数のフレームで追跡し、最も深度が浅い前記管腔領域を含むフレームを前記基準フレームとして前記複数のフレームの中から抽出する、
請求項1に記載の超音波診断装置。
【請求項6】
被検体内に超音波を送信し、当該被検体内の対象組織で反射した前記超音波を受信して受信信号を得、当該受信信号に基づいて前記対象組織の超音波画像を出力可能な超音波診断装置であって、
超音波プローブのあおり操作により当該超音波プローブの角度を変化させたときの複数のフレームの超音波画像を取得する取得部と、
あおり操作時における前記超音波プローブの被検者の皮膚表面に対する角度情報を前記複数のフレームのそれぞれに割り付ける設定部と、
を備える、超音波診断装置。
【請求項7】
前記設定部は、前記複数のフレームに割り付けた前記角度情報ごとに色調情報を設定する、
請求項6に記載の超音波診断装置。
【請求項8】
被検体内に超音波を送信し、当該被検体内の対象組織で反射した前記超音波を受信して受信信号を得、当該受信信号に基づいて前記対象組織の超音波画像を出力する超音波診断装置のコンピュータを、
超音波プローブのあおり操作により当該超音波プローブの角度を変化させたときの複数のフレームの超音波画像を取得する取得部、
前記取得部により取得された前記複数のフレームから前記超音波プローブと前記対象組織とが直交する場合の超音波画像を含む基準フレームを抽出する抽出部と、
前記抽出部により抽出された前記基準フレームを出力する出力部、
として機能させるためのプログラム。
【請求項9】
被検体内に超音波を送信し、当該被検体内の対象組織で反射した前記超音波を受信して受信信号を得、当該受信信号に基づいて前記対象組織の超音波画像を出力する超音波診断装置の超音波診断方法であって、
超音波プローブのあおり操作により当該超音波プローブの角度を変化させたときの複数のフレームの超音波画像を取得する取得ステップと、
取得した前記複数のフレームから前記超音波プローブと前記対象組織とが直交する場合の超音波画像を含む基準フレームを抽出する抽出ステップと、
抽出した前記基準フレームを出力する出力ステップと、
を有する、超音波診断方法。
【請求項10】
被検体内に超音波を送信し、当該被検体内の対象組織で反射した前記超音波を受信して受信信号を得、当該受信信号に基づいて前記対象組織の超音波画像を出力可能な超音波診断装置のコンピュータをであって、
超音波プローブのあおり操作により当該超音波プローブの角度を変化させたときの複数のフレームの超音波画像を取得する取得部、
あおり操作時における前記超音波プローブの被検者の皮膚表面に対する角度情報を前記複数のフレームのそれぞれに割り付ける設定部、
として機能させるためのプログラム。
(【請求項11】以降は省略されています)
発明の詳細な説明
【技術分野】
【0001】
本発明は、超音波診断装置、プログラム及び超音波診断方法に関する。
続きを表示(約 2,000 文字)
【背景技術】
【0002】
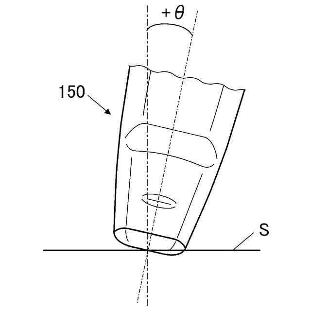
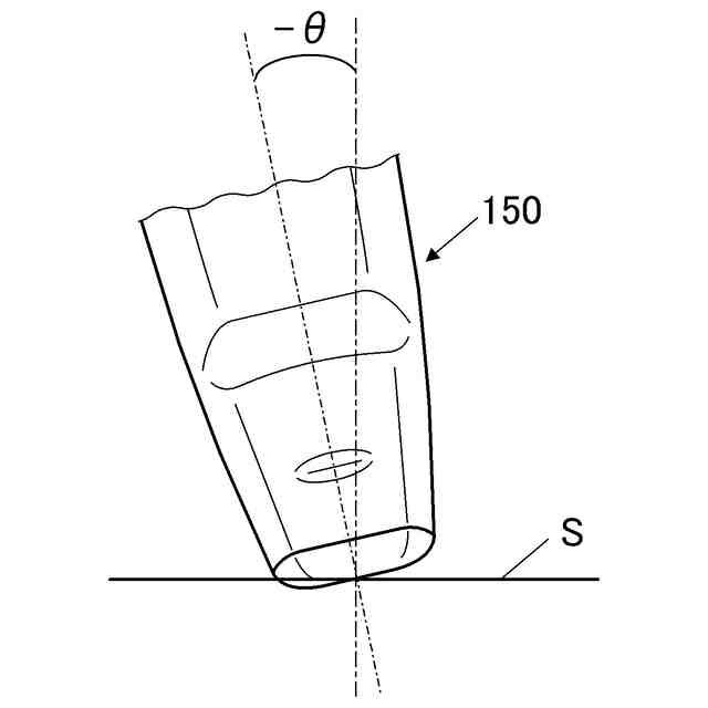
運動器及び麻酔領域の超音波検査では、筋、腱、神経束等の線維組織が撮像される。線維組織を撮像する場合には、超音波プローブを皮膚表面に押し当てた状態で超音波プローブの角度を変化させるあおり操作が行われる。あおり操作において、超音波プローブの線維組織に対する角度が適正でない場合、反射信号が得られない異方性反射組織となり、高輝度の超音波画像を得ることができない。
【0003】
超音波プローブの走査等を補助する技術としては、付帯機器を用いて超音波プローブの位置、姿勢等の情報を取得し、取得した情報を超音波画像に付帯させる技術がある。付帯機器には、例えば、GPSモジュール又は多視点撮影カメラ(VRカメラ)等が用いられる。特許文献1には、位置センサを用いて3次元空間における超音波プローブの位置を検出する超音波診断装置が記載されている。
【先行技術文献】
【特許文献】
【0004】
特開2021-49211号公報
【発明の概要】
【発明が解決しようとする課題】
【0005】
しかしながら、従来の技術では、超音波診断装置に加えて位置センサ等の付帯機器が必要となり、検査時の操作が簡便ではなく、かつ安価ではないという課題がある。また、従来の技術は、3次元空間である奥行方向を考慮した技術であり、超音波プローブの平行移動を含むあおり操作には適用できないという課題もある。
【0006】
そこで、本発明は、上記課題を解決するために、超音波プローブをあおり操作する場合に、特別な付帯機器を用いることなく、適正な超音波画像を取得することができる超音波診断装置、プログラム及び超音波診断方法を提供することを目的とする。
【課題を解決するための手段】
【0007】
本発明に係る超音波診断装置は、
被検体内に超音波を送信し、当該被検体内の対象組織で反射した前記超音波を受信して受信信号を得、当該受信信号に基づいて前記対象組織の超音波画像を出力する超音波診断装置であって、
超音波プローブのあおり操作により当該超音波プローブの角度を変化させたときの複数のフレームの超音波画像を取得する取得部と、
前記取得部により取得された前記複数のフレームから前記超音波プローブと前記対象組織とが直交する場合の超音波画像を含む基準フレームを抽出する抽出部と、
前記抽出部により抽出された前記基準フレームを出力する出力部と、
を備える。
【0008】
本発明に係る超音波診断装置は、
被検体内に超音波を送信し、当該被検体内の対象組織で反射した前記超音波を受信して受信信号を得、当該受信信号に基づいて前記対象組織の超音波画像を出力可能な超音波診断装置であって、
超音波プローブのあおり操作により当該超音波プローブの角度を変化させたときの複数のフレームの超音波画像を取得する取得部と、
あおり操作時における前記超音波プローブの被検者の皮膚表面に対する角度情報を前記複数のフレームのそれぞれに割り付ける設定部と、
を備える。
【0009】
本発明に係るプログラムは、
被検体内に超音波を送信し、当該被検体内の対象組織で反射した前記超音波を受信して受信信号を得、当該受信信号に基づいて前記対象組織の超音波画像を出力する超音波診断装置のコンピュータを、
超音波プローブのあおり操作により当該超音波プローブの角度を変化させたときの複数のフレームの超音波画像を取得する取得部、
前記取得部により取得された前記複数のフレームから前記超音波プローブと前記対象組織とが直交する場合の超音波画像を含む基準フレームを抽出する抽出部と、
前記抽出部により抽出された前記基準フレームを出力する出力部、
として機能させる。
【0010】
本発明に係る超音波診断方法は、
被検体内に超音波を送信し、当該被検体内の対象組織で反射した前記超音波を受信して受信信号を得、当該受信信号に基づいて前記対象組織の超音波画像を出力する超音波診断装置の超音波診断方法であって、
超音波プローブのあおり操作により当該超音波プローブの角度を変化させたときの複数のフレームの超音波画像を取得する取得ステップと、
取得した前記複数のフレームから前記超音波プローブと前記対象組織とが直交する場合の超音波画像を含む基準フレームを抽出する抽出ステップと、
抽出した前記基準フレームを出力する出力ステップと、
を有する。
(【0011】以降は省略されています)
この特許をJ-PlatPat(特許庁公式サイト)で参照する
関連特許
他の特許を見る