TOP
|
特許
|
意匠
|
商標
特許ウォッチ
Twitter
他の特許を見る
10個以上の画像は省略されています。
公開番号
2025181300
公報種別
公開特許公報(A)
公開日
2025-12-11
出願番号
2024089201
出願日
2024-05-31
発明の名称
搬送スクリュー及び画像形成装置
出願人
コニカミノルタ株式会社
代理人
弁理士法人磯野国際特許商標事務所
主分類
G03G
15/08 20060101AFI20251204BHJP(写真;映画;光波以外の波を使用する類似技術;電子写真;ホログラフイ)
要約
【課題】トナーの帯電量の向上を図る搬送スクリュー及び画像形成装置を提供する。
【解決手段】搬送スクリュー1は、アクチュエータにより回転駆動される回転軸部10と、回転軸部10に対して傾斜する搬送面22を有し、搬送面22に溝部30が形成されている螺旋状羽根部20と、を備える。螺旋状羽根部20は、回転軸部10の周りに螺旋状に連続し、搬送面22には、径方向の各位置に複数の溝部30が形成されている。画像形成装置は、現像器ユニットのスクリューを搬送スクリュー1とする。
【選択図】図2
特許請求の範囲
【請求項1】
アクチュエータにより回転駆動される回転軸部と、
前記回転軸部に対して傾斜する搬送面を有し、前記搬送面に溝部が形成されている螺旋状羽根部と、を備える搬送スクリュー。
続きを表示(約 570 文字)
【請求項2】
前記螺旋状羽根部は、前記回転軸部の周りに螺旋状に連続する請求項1に記載の搬送スクリュー。
【請求項3】
前記螺旋状羽根部の前記搬送面には、径方向の各位置に複数の溝部が形成されている請求項1に記載の搬送スクリュー。
【請求項4】
前記複数の溝部は、それぞれ異なる形状である、請求項3に記載の搬送スクリュー。
【請求項5】
前記複数の溝部は、外周側の方が内周側よりも小さい請求項4に記載の搬送スクリュー。
【請求項6】
前記複数の溝部同士の間隔は、それぞれ異なる請求項3に記載の搬送スクリュー。
【請求項7】
前記複数の溝部同士の間隔は、内周側から外周側に向けて小さくなる請求項6に記載の搬送スクリュー。
【請求項8】
前記搬送面の外周側の端部に、前記溝部が形成されている請求項1に記載の搬送スクリュー。
【請求項9】
前記溝部は、前記螺旋状羽根部の一部の区間に形成されている請求項1から請求項8の何れか一項に記載の搬送スクリュー。
【請求項10】
前記一部の区間は、前記螺旋状羽根部の前記搬送面側の端部に配置されている請求項9に記載の搬送スクリュー。
(【請求項11】以降は省略されています)
発明の詳細な説明
【技術分野】
【0001】
本発明は、搬送スクリュー及び画像形成装置に関する。
続きを表示(約 1,900 文字)
【背景技術】
【0002】
画像形成装置において、トナーの帯電量の低下は画像濃度の低下等の画像の質の低下の原因となる。トナーはキャリアと共に現像剤を構成しており、現像剤を撹拌することによって帯電させることができる。例えば特許文献1には、撹拌性能を高めた搬送スクリューを備える画像形成装置が記載されている。
【先行技術文献】
【特許文献】
【0003】
特開平10-221937号公報
【発明の概要】
【発明が解決しようとする課題】
【0004】
特許文献1のスクリューは、羽根部分の両面を軸に対する傾斜面とし、現像剤を搬送方向に押す搬送面よりも搬送面の裏側の面を緩い傾斜としている。これにより、現像剤が搬送面の裏側の面から受ける力のスクリューの軸に垂直な成分を大きくして、撹拌性能を高めている。しかし、撹拌性能をさらに高め、トナーの帯電量を向上させることが求められている。
本発明は、かかる課題を解決するためになされたものであり、トナーの帯電量の向上を図る搬送スクリュー及び画像形成装置を提供することを目的とする。
【課題を解決するための手段】
【0005】
かかる課題を解決するために、本発明に係る搬送スクリュー及び画像形成装置は、次の(1)から(20)の構成を備える。
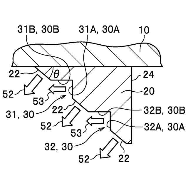
(1)アクチュエータにより回転駆動される回転軸部と、前記回転軸部に対して傾斜する搬送面を有し、前記搬送面に溝部が形成されている螺旋状羽根部と、を備える搬送スクリュー。
(2)前記螺旋状羽根部は、前記回転軸部の周りに螺旋状に連続する(1)に記載の搬送スクリュー。
【0006】
(3)前記螺旋状羽根部の前記搬送面には、径方向の各位置に複数の溝部が形成されている(1)に記載の搬送スクリュー。
(4)前記複数の溝部は、それぞれ異なる形状である、(3)に記載の搬送スクリュー。
(5)前記複数の溝部は、外周側の方が内周側よりも小さい(4)に記載の搬送スクリュー。
【0007】
(6)前記複数の溝部同士の間隔は、それぞれ異なる(3)に記載の搬送スクリュー。
(7)前記複数の溝部同士の間隔は、内周側から外周側に向けて小さくなる(6)に記載の搬送スクリュー。
(8)前記搬送面の外周側の端部に、前記溝部が形成されている(1)に記載の搬送スクリュー。
【0008】
(9)前記溝部は、前記螺旋状羽根部の一部の区間に形成されている(1)から(8)の何れかに記載の搬送スクリュー。
(10)前記一部の区間は、前記螺旋状羽根部の前記搬送面側の端部に配置されている(9)に記載の搬送スクリュー。
(11)現像ローラに現像剤を供給する供給スクリューと、前記供給スクリューに平行に配置され、前記供給スクリューと反対方向に前記現像剤を搬送する撹拌スクリューと、を備え、前記供給スクリュー及び前記撹拌スクリューの何れか一方を(1)から(8)の何れかに記載の搬送スクリューとする画像形成装置。
【0009】
(12)前記供給スクリューを前記搬送スクリューとする(11)に記載の画像形成装置。
(13)前記撹拌スクリューを前記搬送スクリューとする(11)に記載の画像形成装置。
(14)現像ローラに現像剤を供給する供給スクリューと、前記供給スクリューに平行に配置され、前記供給スクリューと反対方向に前記現像剤を搬送する撹拌スクリューと、を備え、前記供給スクリューを(1)から(8)の何れかに記載の搬送スクリューとし、前記撹拌スクリューを(1)から(8)の何れかに記載の搬送スクリューとする画像形成装置。
【0010】
(15)現像ローラに現像剤を供給する供給スクリューと、前記供給スクリューに平行に配置され、前記供給スクリューと反対方向に前記現像剤を搬送する撹拌スクリューと、を備え、前記供給スクリュー及び前記撹拌スクリューの何れか一方を(9)に記載の搬送スクリューとする画像形成装置。
(16)現像ローラに現像剤を供給する供給スクリューと、前記供給スクリューに平行に配置され、前記供給スクリューと反対方向に前記現像剤を搬送する撹拌スクリューと、を備え、前記供給スクリュー及び前記撹拌スクリューの両方を(9)に記載の搬送スクリューとする画像形成装置。
(【0011】以降は省略されています)
この特許をJ-PlatPat(特許庁公式サイト)で参照する
関連特許
他の特許を見る