TOP
|
特許
|
意匠
|
商標
特許ウォッチ
Twitter
他の特許を見る
10個以上の画像は省略されています。
公開番号
2025177148
公報種別
公開特許公報(A)
公開日
2025-12-05
出願番号
2024083715
出願日
2024-05-23
発明の名称
画像形成システム、画像形成方法及びプログラム
出願人
コニカミノルタ株式会社
代理人
弁理士法人光陽国際特許事務所
主分類
B41J
29/38 20060101AFI20251128BHJP(印刷;線画機;タイプライター;スタンプ)
要約
【課題】ラミネート処理の際に、用紙の画像形成面とラミネート処理面の不適合を抑制して、所望の出力物を得ることが可能な画像形成システム、画像形成方法及びプログラムを提供する。
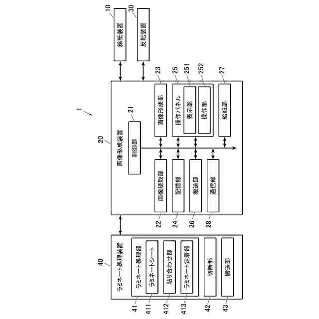
【解決手段】用紙に画像を形成する画像形成部23と、画像形成部23よりも用紙の搬送方向下流側に配置され、画像が形成された用紙にラミネート処理を実施するラミネート処理部41と、用紙の画像形成面の設定及び用紙の最初に画像が形成される面の排紙時の向きの設定のうち、少なくとも1つを含むジョブ設定を設定可能な設定部(操作部252)と、設定部により設定された画像形成面と、用紙のラミネート処理面と、が一致するか否かを判定する制御部21と、を備える。
【選択図】図2
特許請求の範囲
【請求項1】
用紙に画像を形成する画像形成部と、
前記画像形成部よりも前記用紙の搬送方向下流側に配置され、前記画像が形成された用紙にラミネート処理を実施するラミネート処理部と、
前記用紙の画像形成面の設定及び前記用紙の最初に画像が形成される面の排紙時の向きの設定のうち、少なくとも1つを含むジョブ設定を設定可能な設定部と、
前記設定部により設定された画像形成面と、前記用紙のラミネート処理面と、が一致するか否かを判定する制御部と、
を備えることを特徴とする画像形成システム。
続きを表示(約 1,100 文字)
【請求項2】
前記制御部は、少なくとも前記設定部により設定された画像形成面が前記ラミネート処理面に含まれない場合に、前記画像形成面と前記ラミネート処理面が一致しないと判定することを特徴とする請求項1に記載の画像形成システム。
【請求項3】
前記制御部は、前記ラミネート処理面が前記用紙の前記設定部により設定された画像形成面ではない面を含む場合に、前記画像形成面と前記ラミネート処理面が一致しないと判定することを特徴とする請求項1に記載の画像形成システム。
【請求項4】
前記制御部は、前記画像形成面と前記ラミネート処理面が一致しないと判定した場合、前記画像形成部による画像形成動作の開始を禁止することを特徴とする請求項1に記載の画像形成システム。
【請求項5】
前記制御部は、前記画像形成面と前記ラミネート処理面が一致しないと判定した場合、表示部に警告を表示させることを特徴とする請求項1に記載の画像形成システム。
【請求項6】
前記制御部は、前記画像形成面と前記ラミネート処理面が一致しないと判定した場合、前記画像形成面と前記ラミネート処理面が一致するように前記ジョブ設定を変更することを特徴とする請求項1に記載の画像形成システム。
【請求項7】
前記画像形成部と前記ラミネート処理部との間に配置され、前記用紙の表裏を反転させる反転部と、
前記画像形成部と前記反転部との間に配置され、前記画像形成部を経由していない用紙に形成された画像を読み取る画像読取部と、
を備え、
前記制御部は、前記画像読取部により読み取られた画像に基づいて前記画像形成面を特定し、特定した前記画像形成面と前記ラミネート処理面が一致しないと判定した場合、前記反転部により前記用紙の表裏を反転させることを特徴とする請求項1に記載の画像形成システム。
【請求項8】
前記ラミネート処理部は、前記用紙の搬送経路を挟んで一方の側と他方の側のそれぞれで、ラミネートシートをユーザーが選択的に装着可能な構成であることを特徴とする請求項1に記載の画像形成システム。
【請求項9】
前記ラミネート処理部は、前記ラミネートシートを前記一方の側及び前記他方の側にそれぞれ独立して装着可能な構成であることを特徴とする請求項8に記載の画像形成システム。
【請求項10】
前記ラミネート処理部は、前記一方の側、前記他方の側又は両方の側に、前記ラミネートシートを含むカートリッジとして交換可能な構成であることを特徴とする請求項8に記載の画像形成システム。
(【請求項11】以降は省略されています)
発明の詳細な説明
【技術分野】
【0001】
本発明は、画像形成システム、画像形成方法及びプログラムに関する。
続きを表示(約 1,400 文字)
【背景技術】
【0002】
従来、画像が形成された用紙に対して透明樹脂フィルムを被覆するラミネート処理を行うラミネート処理装置が知られている。
例えば、特許文献1には、画像形成装置の下流にラミネート処理装置を配置し、画像形成後の用紙の片面にラミネート処理を行う構成が開示されている。
【先行技術文献】
【特許文献】
【0003】
特開2009-73668号公報
【発明の概要】
【発明が解決しようとする課題】
【0004】
一般に、画像形成装置は、ジョブ設定を指定することが可能である。ジョブ設定は、例えば、排紙時の用紙の向きの設定(FU出力、FD出力)や用紙の画像形成面(片面、両面)の設定などである。
しかしながら、上記特許文献1記載の構成は、用紙の片面のみにラミネート処理を行う構成であるため、ジョブ設定の内容によっては用紙の画像形成面とラミネート処理面が合わないケースがあるという課題がある。
【0005】
本発明は、ラミネート処理の際に、用紙の画像形成面とラミネート処理面の不適合を抑制して、所望の出力物を得ることが可能な画像形成システム、画像形成方法及びプログラムを提供することを目的とする。
【課題を解決するための手段】
【0006】
請求項1に記載の発明は、上記目的を達成するためになされたものであり、
画像形成システムにおいて、
用紙に画像を形成する画像形成部と、
前記画像形成部よりも前記用紙の搬送方向下流側に配置され、前記画像が形成された用紙にラミネート処理を実施するラミネート処理部と、
前記用紙の画像形成面の設定及び前記用紙の最初に画像が形成される面の排紙時の向きの設定のうち、少なくとも1つを含むジョブ設定を設定可能な設定部と、
前記設定部により設定された画像形成面と、前記用紙のラミネート処理面と、が一致するか否かを判定する制御部と、
を備えることを特徴とする。
【0007】
請求項2に記載の発明は、請求項1に記載の画像形成システムにおいて、
前記制御部は、少なくとも前記設定部により設定された画像形成面が前記ラミネート処理面に含まれない場合に、前記画像形成面と前記ラミネート処理面が一致しないと判定することを特徴とする。
【0008】
請求項3に記載の発明は、請求項1に記載の画像形成システムにおいて、
前記制御部は、前記ラミネート処理面が前記用紙の前記設定部により設定された画像形成面ではない面を含む場合に、前記画像形成面と前記ラミネート処理面が一致しないと判定することを特徴とする。
【0009】
請求項4に記載の発明は、請求項1に記載の画像形成システムにおいて、
前記制御部は、前記画像形成面と前記ラミネート処理面が一致しないと判定した場合、前記画像形成部による画像形成動作の開始を禁止することを特徴とする。
【0010】
請求項5に記載の発明は、請求項1に記載の画像形成システムにおいて、
前記制御部は、前記画像形成面と前記ラミネート処理面が一致しないと判定した場合、表示部に警告を表示させることを特徴とする。
(【0011】以降は省略されています)
この特許をJ-PlatPat(特許庁公式サイト)で参照する
関連特許
コニカミノルタ株式会社
搬送スクリュー及び画像形成装置
今日
個人
印鑑
6日前
個人
箔熱転写装置
3か月前
シヤチハタ株式会社
印判
6か月前
東レ株式会社
凸版印刷版原版
12か月前
シヤチハタ株式会社
反転式印判
11か月前
三光株式会社
感熱記録材料
8か月前
独立行政法人 国立印刷局
印刷物
9か月前
キヤノン株式会社
電子機器
1か月前
キヤノン株式会社
記録装置
2か月前
独立行政法人 国立印刷局
貼付機構
3か月前
株式会社リコー
液体吐出装置
10か月前
株式会社リコー
液体吐出装置
6か月前
株式会社リコー
液体吐出装置
4か月前
株式会社リコー
画像形成装置
3か月前
株式会社リコー
液体吐出装置
7か月前
株式会社リコー
画像形成装置
2か月前
株式会社リコー
印刷システム
2か月前
株式会社リコー
液体吐出装置
9か月前
独立行政法人 国立印刷局
記録媒体
10か月前
株式会社リコー
液体吐出装置
8か月前
日本製紙株式会社
感熱記録体
9か月前
独立行政法人 国立印刷局
貼付装置
3か月前
株式会社リコー
画像形成装置
2か月前
株式会社リコー
液体吐出装置
9か月前
株式会社リコー
液体吐出装置
6か月前
ブラザー工業株式会社
プリンタ
4か月前
キヤノン株式会社
画像形成装置
2日前
独立行政法人 国立印刷局
潜像印刷物
3か月前
キヤノン株式会社
画像処理装置
6か月前
ブラザー工業株式会社
プリンタ
1日前
カシオ計算機株式会社
印刷装置
1か月前
キヤノン株式会社
画像形成装置
10か月前
キヤノン株式会社
画像形成装置
7か月前
シャープ株式会社
画像形成装置
1か月前
ブラザー工業株式会社
プリンタ
10か月前
続きを見る
他の特許を見る