TOP
|
特許
|
意匠
|
商標
特許ウォッチ
Twitter
他の特許を見る
10個以上の画像は省略されています。
公開番号
2025179721
公報種別
公開特許公報(A)
公開日
2025-12-10
出願番号
2024086650
出願日
2024-05-28
発明の名称
後処理装置および画像形成装置
出願人
コニカミノルタ株式会社
代理人
個人
主分類
B41J
29/13 20060101AFI20251203BHJP(印刷;線画機;タイプライター;スタンプ)
要約
【課題】 操作性を向上させること。
【解決手段】 後処理装置100は、上方を向く操作面131を有する本体部101と、本体部101を画像形成装置に対して一方向にスライドさせるスライド機構と、本体部101を画像形成装置に固定する固定部と、ユーザーにより操作される操作部141を有し、操作部141がユーザーにより操作されることに応じて固定部による固定を解除する解除機構と、を備え、操作部141は、本体部101の操作面103に配置される。
【選択図】図5
特許請求の範囲
【請求項1】
上方を向く操作面を有する本体部と、
前記本体部を画像形成装置に対して一方向にスライドさせるスライド機構と、
前記本体部を前記画像形成装置に固定する固定部と、
ユーザーにより操作される操作部を有し、前記操作部がユーザーにより操作されることに応じて前記固定部による固定を解除する解除機構と、を備え、
前記操作部は、前記本体部の前記操作面に配置される、後処理装置。
続きを表示(約 640 文字)
【請求項2】
前記本体部に設けられ、複数の第1記録媒体の第1束が挿入される挿入口と、
前記本体部に設けられ、前記挿入口に挿入された前記第1束に後処理を実行可能な後処理ユニットと、をさらに備え、
前記操作面は、前記挿入口より下方に配置され、
前記操作部は、前記挿入口に挿入された前記第1束と垂直方向で重ならない位置で前記本体部の前記操作面に配置される、請求項1に記載の後処理装置。
【請求項3】
前記本体部に設けられ、第2記録媒体が載置される載置部と、
前記後処理ユニットは、前記載置部に積載された複数の前記第2記録媒体の第2束にさらに後処理を実行可能であり、
前記後処理ユニットにより後処理が実行された前記第2束が前記載置部から排出される排出部と、をさらに備え、
前記操作面は、前記排出部よりも下方に配置され、
前記操作部は、さらに、前記排出部と垂直方向で重ならない位置で前記本体部の前記操作面に配置される、請求項2に記載の後処理装置。
【請求項4】
前記操作部は、前記操作面とは異なる色である、請求項1に記載の後処理装置。
【請求項5】
前記解除機構は、前記操作部が前記一方向に移動することに応じて、前記固定部による固定を解除する、請求項1に記載の後処理装置。
【請求項6】
請求項1~5のいずれかに記載の後処理装置を備えた、画像形成装置。
発明の詳細な説明
【技術分野】
【0001】
この発明は、後処理装置および画像形成装置に関し、特に記録媒体に所定の処理を実行する後処理装置、その後処理装置を備えた画像形成装置に関する。
続きを表示(約 1,600 文字)
【背景技術】
【0002】
MFP(Multi Function Peripheral)で代表される画像形成装置は、後処理装置が装着される場合がある。後処理装置は、画像形成装置により画像が形成された記録媒体にステープル針を打ち込むステープル加工などの後処理を実行する。
【0003】
例えば、特開2023-20074号公報には、原稿の画像を読み取る読み取り部と、前記読み取り部で読み取った画像をシートに形成する画像形成部との間の胴内空間に設けられるシート後処理装置であって、シートを搬送する搬送手段と、前記搬送手段により搬送方向に搬送されたシートが載置される処理トレイと、前記処理トレイに載置されたシートに綴じ処理を施す綴じ処理手段と、前記処理トレイと異なる位置に設けられ、装置外部から手差し挿入されたシートに綴じ処理を施す手差し挿入部と、前記胴内空間からシート後処理装置を引き出すスライド機構と、前記スライド機構を前記胴内空間に固定し、前記搬送手段にシートを搬送する搬送位置に固定する固定部と、前記手差し挿入部にセットされるシートの載置範囲と重複する位置に設けられ、前記固定部を解除する解除レバーを備えるシート後処理装置が記載されている。
【0004】
しかしながら、特開2023-20074号公報に記載の後処理装置は、解除レバーが手差し挿入部にセットされるシートの載置範囲の下方に重なる位置に設けられる。このため、手差し挿入部にセットされるシートにステープル針が噛み込んだ場合などは、シートの下方で重なる位置に解除レバーが位置するので、ユーザーは、シートに隠れた解除レバーを視認することができない。
【先行技術文献】
【特許文献】
【0005】
特開2023-20074号公報
【発明の概要】
【発明が解決しようとする課題】
【0006】
この発明の目的の1つは、操作性を向上させた後処理装置を提供することである。
【0007】
この発明の他の目的は、後処理装置の操作性を向上させた画像形成装置を提供することである。
【課題を解決するための手段】
【0008】
この発明のある局面によれば、後処理装置は、上方を向く操作面を有する本体部と、本体部を画像形成装置に対して一方向にスライドさせるスライド機構と、本体部を画像形成装置に固定する固定部と、ユーザーにより操作される操作部を有し、操作部がユーザーにより操作されることに応じて固定部による固定を解除する解除機構と、を備え、操作部は、本体部の操作面に配置される。
【0009】
この発明の他の局面によれば、画像形成装置は、上記の後処理装置を備える。
【図面の簡単な説明】
【0010】
本発明の実施の形態の1つにおけるMFPの外観を示す第1の斜視図である。
MFPの内部構成の一例を模式的に示す断面図である。
本実施の形態における後処理装置の斜視図である。
本実施の形態における後処理装置の内部構成の一例を示す図である。
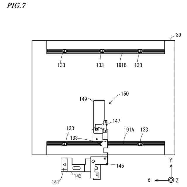
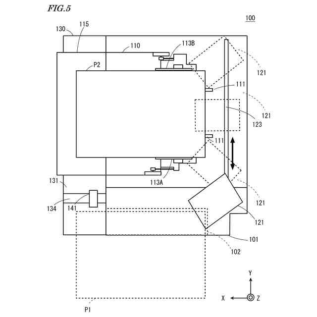
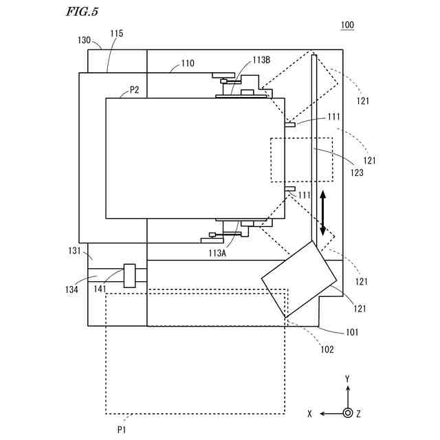
後処理装置の内部構造の一例を示す第1の平面図である。
後処理装置のスライド機構の一例を示す図である。
スライド機構、固定機構および解除機構の一例を示す平面図である。
解除機構を拡大して示す第1の図である。
解除機構を拡大して示す第2の図である。
後処理装置の移動を説明する第1の斜視図である。
後処理装置の移動を説明する第2の斜視図である。
後処理装置の移動を説明する第3の斜視図である。
後処理装置の内部構造の一例を示す第2の平面図である。
【発明を実施するための形態】
(【0011】以降は省略されています)
この特許をJ-PlatPat(特許庁公式サイト)で参照する
関連特許
コニカミノルタ株式会社
校正装置
1日前
コニカミノルタ株式会社
画像形成方法
6日前
コニカミノルタ株式会社
画像形成装置
8日前
コニカミノルタ株式会社
画像形成方法
1日前
コニカミノルタ株式会社
画像形成装置
2日前
コニカミノルタ株式会社
画像処理装置
6日前
コニカミノルタ株式会社
画像形成システム
8日前
コニカミノルタ株式会社
画像形成システム
今日
コニカミノルタ株式会社
画像形成システム
6日前
コニカミノルタ株式会社
検品装置および検品方法
6日前
コニカミノルタ株式会社
光学装置及びその組み立て方法
2日前
コニカミノルタ株式会社
保持シート、及び画像形成装置
7日前
コニカミノルタ株式会社
後処理装置および画像形成装置
1日前
コニカミノルタ株式会社
潤滑剤塗布装置及び画像形成装置
6日前
コニカミノルタ株式会社
搬送スクリュー及び画像形成装置
今日
コニカミノルタ株式会社
画像形成システム及び画像形成方法
今日
コニカミノルタ株式会社
ローラーユニット及び画像形成装置
今日
コニカミノルタ株式会社
画像形成方法及び画像形成システム
6日前
コニカミノルタ株式会社
印刷装置及び印刷装置のメンテナンス方法
13日前
コニカミノルタ株式会社
動態画像解析装置、方法、及びプログラム
今日
コニカミノルタ株式会社
画像形成装置、用紙管理方法及びプログラム
6日前
コニカミノルタ株式会社
分析装置、分析方法、および制御プログラム
今日
コニカミノルタ株式会社
動態撮影装置及び息止め不良判定プログラム
13日前
コニカミノルタ株式会社
液体吐出装置、信号検知方法及びプログラム
6日前
コニカミノルタ株式会社
画像形成システム、排出方法およびプログラム
2日前
コニカミノルタ株式会社
超音波診断装置、画像保存方法及びプログラム
今日
コニカミノルタ株式会社
画像形成装置、調整方法および調整プログラム
6日前
コニカミノルタ株式会社
ジョブ実行システム、制御方法、及びプログラム
6日前
コニカミノルタ株式会社
画像形成システム、画像形成方法及びプログラム
6日前
コニカミノルタ株式会社
超音波診断装置、プログラム及び超音波診断方法
今日
コニカミノルタ株式会社
用紙特性検出装置、画像形成システム及びプログラム
2日前
コニカミノルタ株式会社
画像形成装置、連結治具および画像形成装置の製造方法
6日前
コニカミノルタ株式会社
撮影支援装置、撮影支援方法および撮影支援プログラム
今日
コニカミノルタ株式会社
画像形成装置、および画像形成装置のクリーニング方法
6日前
コニカミノルタ株式会社
定着装置、画像形成装置、制御方法及び制御プログラム
13日前
コニカミノルタ株式会社
文書作成支援装置、文書作成支援方法、及び、プログラム
6日前
続きを見る
他の特許を見る