TOP
|
特許
|
意匠
|
商標
特許ウォッチ
Twitter
他の特許を見る
10個以上の画像は省略されています。
公開番号
2025176770
公報種別
公開特許公報(A)
公開日
2025-12-05
出願番号
2024083067
出願日
2024-05-22
発明の名称
画像形成装置、および画像形成装置のクリーニング方法
出願人
コニカミノルタ株式会社
代理人
弁理士法人光陽国際特許事務所
,
弁理士法人信友国際特許事務所
主分類
G03G
15/20 20060101AFI20251128BHJP(写真;映画;光波以外の波を使用する類似技術;電子写真;ホログラフイ)
要約
【課題】像形成のモードに係らず、画像形成のジョブにおいて定着ローラーからクリーニングローラーに回収された付着物を、ウェブによって十分に回収することが可能で、これにより画像の不具合の発生を防止することが可能な画像形成装置を提供する。
【解決手段】記録媒体にトナー画像を定着させるための定着部に付着した付着物を回収するためのクリーニングローラーと、前記クリーニングローラーに付着した付着物を回収するためのウェブを前記クリーニングローラーに供給するウェブ供給部と、前記ウェブ供給部の動作を制御する制御部とを備え、前記制御部は、画像形成のジョブ情報に基づいて、前記クリーニングローラーに付着した付着物を回収するのに必要な前記ウェブの必要送り量を算出し、前記ジョブ情報に係るジョブの画像形成の実行中に可能な前記ウェブの送り量よりも前記必要送り量が多い場合に、前記画像形成の終了後に前記ウェブを前記クリーニングローラーに供給する画像形成装置である。
【選択図】図1
特許請求の範囲
【請求項1】
記録媒体にトナー画像を定着させるための定着部に付着した付着物を回収するためのクリーニングローラーと、
前記クリーニングローラーに付着した付着物を回収するためのウェブを前記クリーニングローラーに供給するウェブ供給部と、
前記ウェブ供給部の動作を制御する制御部とを備え、
前記制御部は、
画像形成のジョブ情報に基づいて、前記クリーニングローラーに付着した付着物を回収するのに必要な前記ウェブの必要送り量を算出し、前記ジョブ情報に係るジョブの画像形成の実行中に可能な前記ウェブの送り量よりも前記必要送り量が多い場合に、前記画像形成の終了後に前記ウェブを前記クリーニングローラーに供給する
画像形成装置。
続きを表示(約 1,100 文字)
【請求項2】
前記制御部は、
前記ジョブの次に予約されたジョブの画像形成が開始されるまでの間に、前記必要送り量の前記ウェブを前記クリーニングローラーに供給できずに未実施の送り量が発生した場合、前記ジョブとは別のタイミングで前記未実施の送り量分の前記ウェブを前記クリーニングローラーに供給する
請求項1に記載の画像形成装置。
【請求項3】
前記別のタイミングは、前記ジョブの次に予約されたジョブ中である
請求項2に記載の画像形成装置。
【請求項4】
前記ウェブ供給部は、前記画像形成の実行中と前記画像形成の終了後とで、前記クリーニングローラーに対する前記ウェブの送り速度を個別に設定する
請求項1に記載の画像形成装置。
【請求項5】
前記ジョブ情報は、前記記録媒体に対する前記トナー画像の画像面積率、前記記録媒体の媒体種、前記トナー画像を構成するトナー種、前記記録媒体の媒体サイズ、および画像形成枚数である
請求項1に記載の画像形成装置。
【請求項6】
前記定着部は、前記記録媒体を加熱するための定着ローラーを有し、前記定着ローラーの回転方向に前記記録媒体を搬送するもので、
記制御部は、前記定着部による前記記録媒体の搬送方向に対して直行する搬送幅方向に前記記録媒体を分割した各分割領域の画像面積率に基づいて、前記ウェブの必要送り量を算出する
請求項5に記載の画像形成装置。
【請求項7】
前記記録媒体の表面粗さを検出する検出装置を備え、
前記制御部は、前記検出装置で検出した表面粗さに基づいて前記ジョブ情報のうちの前記媒体種を決定する
請求項5に記載の画像形成装置。
【請求項8】
前記クリーニングローラーは、
前記画像形成の実行中において前記定着部に対して接触した状態で所定の回転速度で回転し、
前記画像形成の終了後において前記定着部から離間した状態で、前記回転速度を変更する
請求項1に記載の画像形成装置。
【請求項9】
前記ウェブ供給部は、前記クリーニングローラーの回転速度の変更に応じて、前記クリーニングローラーに対する前記ウェブの送り速度を変更する
請求項8に記載の画像形成装置。
【請求項10】
前記制御部は、前記画像形成の終了後に前記クリーニングローラーに供給する前記ウェブの送り量が、所定の送り量よりも大きい場合に、前記クリーニングローラーに対して回転速度を変更させる
請求項9に記載の画像形成装置。
(【請求項11】以降は省略されています)
発明の詳細な説明
【技術分野】
【0001】
本発明は、画像形成装置、および画像形成装置のクリーニング方法に関する。
続きを表示(約 2,100 文字)
【背景技術】
【0002】
画像形成装置の一つに、トナー画像を記録媒体に定着させるための定着ローラーを備えたものがある。このような画像形成装置は、定着ローラーの表面をクリーニングするためのクリーニングローラーを備えている。またこのような画像形成装置に関する技術として、下記特許文献1には、縁なしの印字モード実行時に、記録材の縁からはみ出す縁周辺のトナー像と対応する画像情報に基づいて、クリーニング部材自体の清掃タイミングを決定すると記載されている。またこの特許文献1には、記録材の画像形成が終了した後に、記録材のコバ面(側面)に付着するいわゆるコバトナー量の積算値がある一定値以上である場合、クリーニングローラー清掃モードを実行するとしている。
【0003】
また下記特許文献1では、さらにクリーニングローラーの表面からトナーを回収するためのウェブを備えている場合には、ウェブの巻き取り量を、縁なしの印字モード実行時のコバトナー付着量に応じて決定するとしている。これにより、ウェブを耐久寿命まで使用することができるとしている。
【先行技術文献】
【特許文献】
【0004】
特開2008-129138号公報
【発明の概要】
【発明が解決しようとする課題】
【0005】
ところで、上述した画像形成装置においては、縁なしの印字モードではない通常の画像形成モードにおいても、クリーニングローラーの側周面には定着ローラーに付着したオフセットトナーが回収される。このため、画像形成モードに関わらず、クリーニングローラーの清掃が必要である。これは、クリーニングローラーの表面からトナーを回収するためのウェブを備えた構成のものであっても同様である。
【0006】
そこで本発明は、画像形成のモードに係らず、画像形成のジョブにおいて定着ローラーからクリーニングローラーに回収された付着物を、ウェブによって十分に回収することが可能で、これにより画像の不具合の発生を防止することが可能な画像形成装置、および画像形成装置のクリーニング方法を提供することを目的とする。
【課題を解決するための手段】
【0007】
このような目的を達成するための本発明は、記録媒体にトナー画像を定着させるための定着部に付着した付着物を回収するためのクリーニングローラーと、前記クリーニングローラーに付着した付着物を回収するためのウェブを前記クリーニングローラーに供給するウェブ供給部と、前記ウェブ供給部の動作を制御する制御部とを備え、前記制御部は、画像形成のジョブ情報に基づいて、前記クリーニングローラーに付着した付着物を回収するのに必要な前記ウェブの必要送り量を算出し、前記ジョブ情報に係るジョブの画像形成の実行中に可能な前記ウェブの送り量よりも前記必要送り量が多い場合に、前記画像形成の終了後に前記ウェブを前記クリーニングローラーに供給する画像形成装置である。
【発明の効果】
【0008】
本発明により、像形成のモードに係らず、画像形成のジョブにおいて定着ローラーからクリーニングローラーに回収された付着物を、ウェブによって十分に回収することが可能で、これにより画像の不具合の発生を防止することが可能な画像形成装置、および画像形成装置のクリーニング方法を提供することができる。
【図面の簡単な説明】
【0009】
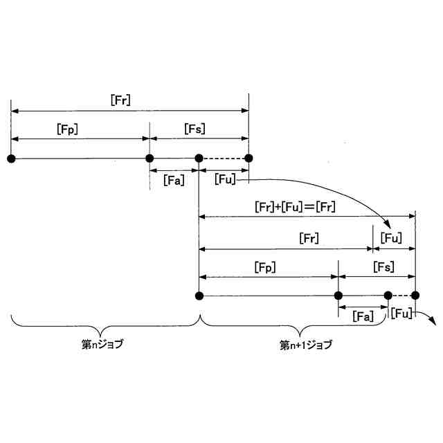
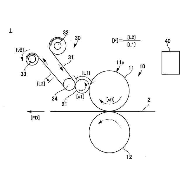
図1は、実施形態に係る画像形成装置の要部を示す構成図(その1)である。
図2は、実施形態に係る画像形成装置の要部を示す構成図(その2)である。
図3は、実施形態に係る画像形成装置の要部ブロック図である。
図4は、記録媒体に対する画像面積率を示す図である。
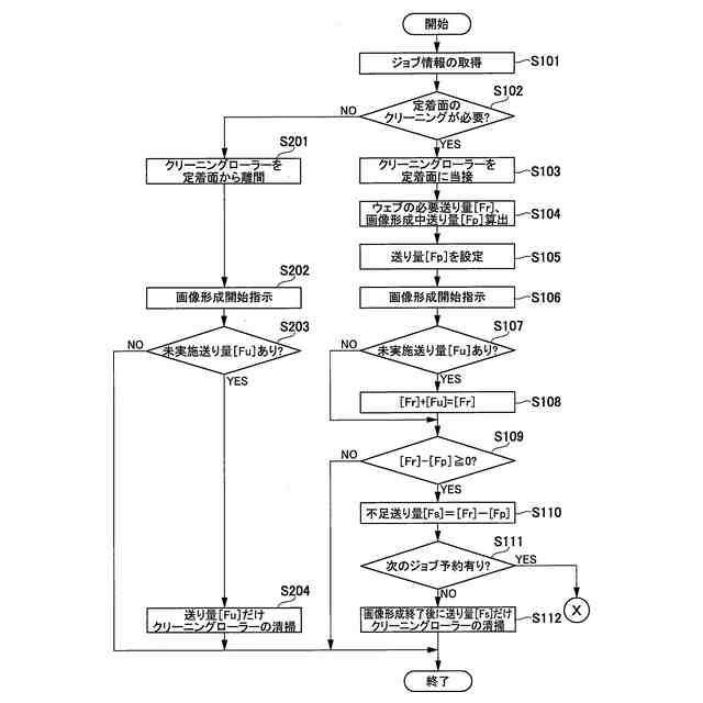
図5は、実施形態に係る画像形成装置のクリーニング方法を示すフローチャート(その1)である。
図6は、実施形態に係る画像形成装置のクリーニング方法を示すフローチャート(その3)である。
図7は、記録媒体のサイズと画像形成時のウェブ送り量との関係を示すグラフである。
図8は、画像面積率毎のウェブ送り量と汚れ除去率との関係示すブラフである。
図9は、実施形態に係る画像形成装置のクリーニング方法を説明するための図(その1)
図10は、実施形態に係る画像形成装置のクリーニング方法を説明するための図(その2)
図11は、実施形態の変形例1における画像面積率の取得を説明する図である。
図12は、実施形態の変形例2におけるクリーニングローラーの回転速度の設定を示す図である。
図13は、実施形態の変形例3における画像形成装置の要部を示す構成図である。
【発明を実施するための形態】
【0010】
以下、本発明を適用した画像形成装置および画像形成装置のクリーニング方法の実施の形態を、図面に基づいて詳細に説明する。
(【0011】以降は省略されています)
この特許をJ-PlatPat(特許庁公式サイト)で参照する
関連特許
個人
表示装置
1か月前
個人
雨用レンズカバー
1か月前
日本精機株式会社
プロジェクタ
6日前
日本精機株式会社
車両用投射装置
2か月前
キヤノン株式会社
撮像装置
13日前
キヤノン株式会社
撮像装置
1か月前
キヤノン株式会社
撮像装置
1か月前
キヤノン株式会社
撮像装置
1か月前
株式会社リコー
画像形成装置
27日前
株式会社リコー
画像形成装置
1か月前
株式会社リコー
画像形成装置
今日
株式会社リコー
画像形成装置
1か月前
株式会社リコー
画像形成装置
1か月前
株式会社リコー
画像形成装置
1か月前
キヤノン株式会社
画像形成装置
1か月前
キヤノン株式会社
トナー
1か月前
キヤノン株式会社
画像形成装置
1か月前
キヤノン株式会社
トナー
2か月前
キヤノン株式会社
画像形成装置
21日前
キヤノン株式会社
トナー
2か月前
アイホン株式会社
カメラシステム
2か月前
レーザーテック株式会社
光源装置
29日前
沖電気工業株式会社
画像形成装置
1か月前
沖電気工業株式会社
画像形成装置
1か月前
キヤノン株式会社
レンズキャップ
1か月前
レーザーテック株式会社
光源装置
8日前
キヤノン株式会社
現像装置
2か月前
スタンレー電気株式会社
照明装置
2か月前
沖電気工業株式会社
画像形成装置
8日前
株式会社電気印刷研究所
静電印刷用積層体
2か月前
ブラザー工業株式会社
画像形成装置
2か月前
ブラザー工業株式会社
画像形成装置
2か月前
シャープ株式会社
捺染トナー
6日前
古野電気株式会社
装置
1か月前
キヤノン株式会社
画像形成装置
2か月前
コニカミノルタ株式会社
画像形成装置
1か月前
続きを見る
他の特許を見る