TOP
|
特許
|
意匠
|
商標
特許ウォッチ
Twitter
他の特許を見る
10個以上の画像は省略されています。
公開番号
2025158508
公報種別
公開特許公報(A)
公開日
2025-10-17
出願番号
2024061119
出願日
2024-04-04
発明の名称
画像形成装置
出願人
コニカミノルタ株式会社
代理人
個人
主分類
G03G
21/16 20060101AFI20251009BHJP(写真;映画;光波以外の波を使用する類似技術;電子写真;ホログラフイ)
要約
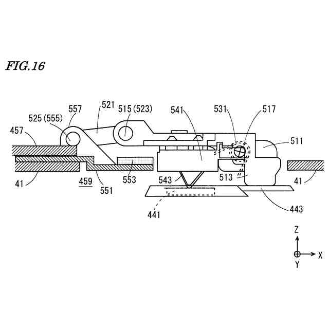
【課題】 接点の汚れを抑制するとともにメンテナンスを容易にすること。
【解決手段】 画像形成装置は、トナー収容容器が着脱される着脱方向に延びる収容空間459を有する収容部41と、本体接点543と、本体接点543を保持するリンク機構500と、を備え、リンク機構500は、摺動部513および付勢部材531を有し、収容空間459にトナー収容容器が存在しない第1状態で付勢部材531により付勢されて収容空間459に摺動部513が位置し、第1状態から収容空間459にトナー収容容器が存在する第2状態に変化する間に摺動部513がトナー収容容器に当接し、トナー収容容器に設けられた着脱方向に交わる方向を向く記憶素子441と本体接点543を電気的に接続させる。
【選択図】図16
特許請求の範囲
【請求項1】
トナー収容容器が着脱される着脱方向に延びる収容空間を有する収容部と、
本体接点と、
前記本体接点を保持するリンク機構と、
シャッタと、を備え、
前記リンク機構は、摺動部および付勢部材を有し、
前記シャッタに接続され、
前記収容空間に前記トナー収容容器が存在しない第1状態で前記付勢部材により付勢されて前記収容空間に前記摺動部が位置し、
前記収容空間に前記トナー収容容器が存在する第2状態から前記第1状態に変化する間に前記本体接点と前記収容空間との間の第1位置に前記シャッタを移動させ、
前記第1状態から前記第2状態に変化する間に前記摺動部が前記トナー収容容器に当接し、前記本体接点と前記収容空間との間から退避した第2位置に前記シャッタを移動させるとともに前記トナー収容容器に設けられた前記着脱方向に交わる方向を向く容器接点と前記本体接点を電気的に接続させる、画像形成装置。
続きを表示(約 450 文字)
【請求項2】
前記シャッタは、前記収容空間に対して前記着脱方向にスライド可能に前記収容部に接続され、
前記リンク機構は、一端に前記摺動部を有し、前記着脱方向に交わりかつ前記収容空間を横切らない回転軸の周りで回転可能に前記収容部に接続された第1リンクと、
第1部分が前記回転軸と平行な軸の周りに回転可能に前記第1リンクと接続され、第2部分が前記回転軸と平行な軸の周りに回転可能に前記シャッタと接続される第2リンクと、を有し、
前記付勢部材は、前記摺動部が前記収容空間の外から内に向かう方向に前記第1リンクを前記回転軸の周りで付勢する、請求項1に記載の画像形成装置。
【請求項3】
前記シャッタの前記収容空間を向く面と反対側に設けられ、前記第1位置において前記本体接点に接触する清掃部材を、さらに備えた、請求項1に記載の画像形成装置。
【請求項4】
前記リンク機構は、前記収容空間の上方に設けられる、請求項1~3のいずれかに記載の画像形成装置。
発明の詳細な説明
【技術分野】
【0001】
この発明は、画像形成装置に関し、特に、トナーを用いて画像を形成する画像形成装置に関する。
続きを表示(約 2,500 文字)
【背景技術】
【0002】
画像形成装置は、トナー収容容器に装着された記憶素子と通信し、トナー収容容器の識別情報などを読み取る装置が知られている。トナー収容容器は画像形成装置に着脱可能である。このため、画像形成装置は、トナー収容容器の記憶素子と電気的に接続される装置本体側の接点を有する。
【0003】
例えば、特開2011-242417号公報には、情報を記憶する記憶素子を有するプロセスカートリッジを着脱可能で、前記記憶素子の接点と電気的に接触するための本体接点と、前記プロセスカートリッジを装置本体に着脱するための開口と、前記開口を開閉するために前記装置本体に移動可能に設けられた開閉部材と、を有する画像形成装置であって、前記開閉部材に、前記記憶素子の接点と前記本体接点との間に介在して前記2つの接点を非接触状態で保持するための保護部材を設け、前記プロセスカートリッジを前記装置本体に装着し前記開閉部材を閉めた状態で前記記憶素子の接点と前記本体接点との間に介在する保護部材が、前記開閉部材を開く動作に連動して、前記記憶素子の接点と前記本体接点との間から外れて、前記記憶素子の接点と前記本体接点とが電気的に接触することを特徴とする画像形成装置が記載されている。
【0004】
しかしながら、特開2011-242417号公報に記載の画像形成装置は、画像形成装置の搬送中における本体接点と記憶素子の接点を保護することができるが、記憶素子の接点と本体接点との間に保護部材を介在させるために、特別な治具などを用いたユーザーによる操作が要求される。このため、本体接点を保護するための操作が必要となり操作が煩雑になる。また、プロセスカートリッジが取り外された状態においては、本体接点が露出する。このため、プロセスカートリッジが繰り返し交換される場合に、ユーザーの手が触れることで汚れて、接触不良が発生する場合がある。一方、本体接点を、ユーザーの手が届かない位置に配置することも考えられるが、本体接点のメンテナンスが困難になるといった問題がある。
【先行技術文献】
【特許文献】
【0005】
特開2011-242417号公報
【発明の概要】
【発明が解決しようとする課題】
【0006】
この発明の目的の1つは、接点の汚れを抑制するとともにメンテナンスを容易にした画像形成装置を提供することである。
【課題を解決するための手段】
【0007】
この発明のある局面によれば、画像形成装置は、トナー収容容器が着脱される着脱方向に延びる収容空間を有する収容部と、本体接点と、本体接点を保持するリンク機構と、シャッタと、を備え、リンク機構は、摺動部および付勢部材を有し、シャッタに接続され、収容空間にトナー収容容器が存在しない第1状態で付勢部材により付勢されて収容空間に摺動部が位置し、収容空間にトナー収容容器が存在する第2状態から第1状態に変化する間に本体接点と収容空間との間の第1位置にシャッタを移動させ、第1状態から第2状態に変化する間に摺動部がトナー収容容器に当接し、本体接点と収容空間との間から退避した第2位置にシャッタを移動させるとともにトナー収容容器に設けられた着脱方向に交わる方向を向く容器接点と本体接点を電気的に接続させる。
【図面の簡単な説明】
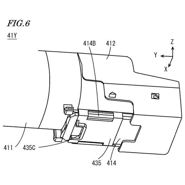
【0008】
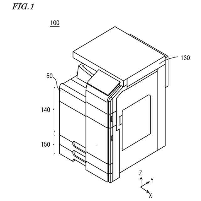
本発明の実施の形態の1つにおけるMFPの外観を示す第1の斜視図である。
MFPの内部構成の一例を模式的に示す断面図である。
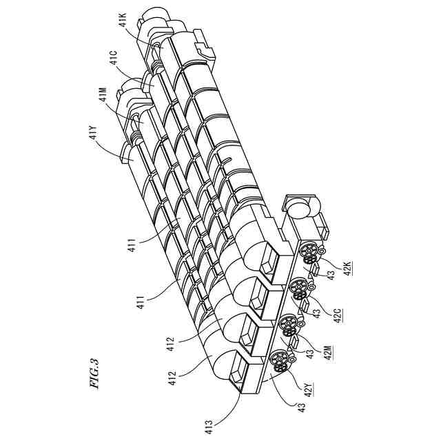
トナー収容容器およびサブホッパーの外観を示す斜視図である。
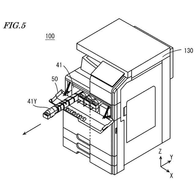
本発明の実施の形態の1つにおけるMFPの外観を示す第2の斜視図である。
MFPにおいてトナー収容容器を交換する様子を示す図である。
トナー収容容器の一例の一部を示す第1の斜視図である。
トナー収容容器の一例の一部を示す第2の斜視図である。
トナー収容容器の一例の一部を示す側面図である。
収容部の正面図である。
収容空間の周辺を拡大して示す第1の図である。
図10のA-A線断面図である。
第1リンクの斜視図である。
シャッタの斜視図である。
図10のB-B線断面図である。
収容空間の周辺を拡大して示す第2の図である。
図15のA-A線断面図である。
図15のB-B線断面図である。
【発明を実施するための形態】
【0009】
以下、本発明の実施の形態における画像形成装置について図面を参照して説明する。以下の説明では同一の部品には同一の符号を付してある。それらの名称および機能も同じである。したがってそれらについての詳細な説明は繰返さない。
【0010】
図1は、本発明の実施の形態の1つにおけるMFPの外観を示す第1の斜視図である。図1を参照して、MFP(Multi Function Peripheral)100は、画像形成装置の一例であり、その前面に本体ケースの一部を構成するカバー部材50を備える。カバー部材50は、開閉可能であり、図1においては、カバー部材50が閉じた閉状態におけるMFP100を示している。図1において、互いに直交するX方向、Y方向およびZ方向が定義される。X方向およびY方向は水平面に平行である。以下の説明では、X方向は、画像形成装置1の左右に平行な方向とし、左右方向ともいう。X方向正側が右方であり、X方向負側が左方である。Y方向は、画像形成装置1の奥行方向に平行な方向とし、前後方向ともいう。Y方向負側が前方向であり、Y方向正側が後方向である。Z方向は、画像形成装置1の上下方向に平行な方向であり、上下方向ともいう。Z方向正側が上方向であり、Z方向負側が下方向である。
(【0011】以降は省略されています)
この特許をJ-PlatPat(特許庁公式サイト)で参照する
関連特許
コニカミノルタ株式会社
画像形成装置
3日前
コニカミノルタ株式会社
画像形成装置
3日前
コニカミノルタ株式会社
サンプル測定装置
4日前
コニカミノルタ株式会社
放射線画像撮影装置
4日前
コニカミノルタ株式会社
画像形成装置及び用紙物性検知方法
5日前
コニカミノルタ株式会社
インクジェットインクおよび画像形成方法
11日前
コニカミノルタ株式会社
制御装置、画像形成システム及びプログラム
3日前
コニカミノルタ株式会社
後処理装置及びこれを備えた画像形成システム
11日前
コニカミノルタ株式会社
介護システム、見守り方法、および制御プログラム
3日前
コニカミノルタ株式会社
画像処理装置および動態画像における角度計測方法
3日前
コニカミノルタ株式会社
インクジェット記録装置、画像形成方法及びプログラム
4日前
コニカミノルタ株式会社
画像検査装置、画像検査方法および画像検査プログラム
5日前
コニカミノルタ株式会社
情報処理装置、異常判別方法、学習方法及びプログラム
5日前
コニカミノルタ株式会社
画像検査装置、画像検査方法、および画像検査プログラム
3日前
コニカミノルタ株式会社
画像形成装置、画像形成装置の調整方法、および、プログラム
10日前
コニカミノルタ株式会社
情報処理装置、情報処理システム、情報処理方法及びプログラム
5日前
コニカミノルタ株式会社
画像形成制御装置、画像形成制御方法および画像形成制御プログラム
10日前
コニカミノルタ株式会社
画像形成装置、同装置におけるセンサの異常判定方法およびプログラム
4日前
コニカミノルタ株式会社
超音波診断装置、プログラム、超音波診断方法及び超音波診断システム
11日前
コニカミノルタ株式会社
情報処理装置、医用画像送信システム、医用画像送信方法及びプログラム
11日前
コニカミノルタ株式会社
インクジェット記録装置、インクジェット記録装置のメンテナンス方法及びプログラム
4日前
コニカミノルタ株式会社
基準画像提供装置、基準画像提供方法、基準画像提供プログラムおよび基準画像提供システム
12日前
コニカミノルタ株式会社
画像検査装置、画像形成システム、画像検査方法および画像検査プログラム
4日前
コニカミノルタ株式会社
活性線硬化型インクジェットインク、活性線硬化型インクジェットインクの製造方法、インクジェット画像形成方法及びインクジェット記録装置
3日前
個人
表示装置
5日前
個人
雨用レンズカバー
3日前
株式会社シグマ
絞りユニット
1か月前
キヤノン株式会社
撮像装置
25日前
キヤノン株式会社
撮像装置
1か月前
キヤノン株式会社
撮像装置
1か月前
平和精機工業株式会社
雲台
1か月前
日本精機株式会社
車両用投射装置
11日前
株式会社リコー
画像形成装置
1か月前
株式会社リコー
画像形成装置
1か月前
株式会社リコー
画像形成装置
2か月前
株式会社リコー
画像形成装置
3か月前
続きを見る
他の特許を見る