TOP
|
特許
|
意匠
|
商標
特許ウォッチ
Twitter
他の特許を見る
10個以上の画像は省略されています。
公開番号
2025179587
公報種別
公開特許公報(A)
公開日
2025-12-10
出願番号
2024086431
出願日
2024-05-28
発明の名称
校正装置
出願人
コニカミノルタ株式会社
代理人
弁理士法人鷲田国際特許事務所
主分類
G01N
21/27 20060101AFI20251203BHJP(測定;試験)
要約
【課題】光学センサーの基準値の測定精度を安定化させることが可能な校正装置を提供することである。
【解決手段】校正装置は、搬送経路上の記録媒体の特性を測定する光学センサーの基準値の校正装置であって、駆動源からの駆動力により、基準値の校正を行うための校正位置と、校正位置から退避した退避位置との間の範囲を回動する回動部と、回動部の回動位置に基づいて、駆動源からの回動部への駆動力の伝達状態を切り替える切替部と、を備える。
【選択図】図2
特許請求の範囲
【請求項1】
搬送経路上の記録媒体の特性を測定する光学センサーの基準値の校正装置であって、
駆動源からの駆動力により、前記基準値の校正を行うための校正位置と、前記校正位置から退避した退避位置との間の範囲を回動する回動部と、
前記回動部の回動位置に基づいて、前記駆動源からの前記回動部への駆動力の伝達状態を切り替える切替部と、
を備える校正装置。
続きを表示(約 1,300 文字)
【請求項2】
前記切替部は、
前記回動部が前記範囲内に位置する場合、前記駆動力を前記回動部に伝達させ、
前記回動部が前記校正位置または前記退避位置に位置する場合、前記駆動力の前記回動部への伝達を遮断させる、
請求項1に記載の校正装置。
【請求項3】
前記退避位置から前記校正位置に向かう方向における前記校正位置よりも下流側への前記回動部の回動を規制する第1規制部と、
前記校正位置から前記退避位置に向かう方向における前記退避位置よりも下流側への前記回動部の回動を規制する第2規制部と、
をさらに備え、
前記切替部は、前記第1規制部および前記第2規制部による回動規制により、前記駆動力の伝達および非伝達を切り替えるトルクリミッターである、
請求項2に記載の校正装置。
【請求項4】
前記回動部が前記校正位置から前記退避位置へ回動する場合、および、前記回動部が前記退避位置から前記校正位置へ回動する場合の少なくとも一方において、前記回動部の回動量が前記範囲を超えるように、前記駆動源の駆動量を制御する制御部をさらに備える、
請求項1~3の何れか1項に記載の校正装置。
【請求項5】
前記制御部は、前記退避位置から前記校正位置に向けて前記回動部を回動させる際の第1駆動量と、前記校正位置から前記退避位置に向けて前記回動部を回動させる際の第2駆動量とを異ならせるように前記駆動源の駆動量を制御する、
請求項4に記載の校正装置。
【請求項6】
前記第1駆動量に基づく前記回動部の回転角度と、前記第2駆動量に基づく前記回動部の回転角度との差分の絶対値は、360度の約数以外の数である、
請求項5に記載の校正装置。
【請求項7】
前記回動部は、光量基準板が配置された回動部材と、前記駆動源の駆動力が伝達される伝達ギヤを有し、かつ、前記回動部材を回動させる回動軸とを有し、
前記切替部は、前記回動軸の前記回動部材が配置された部分と、前記伝達ギヤが配置された部分とを接続状態および非接続状態の何れかに切り替える、
請求項1に記載の校正装置。
【請求項8】
前記駆動源の駆動軸は、ウォームを有し、
前記伝達ギヤは、前記ウォームと噛み合うウォームホイールであり、
請求項7に記載の校正装置。
【請求項9】
前記駆動源が固定され、かつ、前記回動部を回動可能に保持する保持部と、
前記保持部が固定される筐体と、
をさらに備え、
前記保持部は、前記駆動源を取り囲む複数点で前記筐体に固定される、
請求項1に記載の校正装置。
【請求項10】
前記保持部は、金属で構成されており、前記複数点のうちの少なくとも1つにおいて、ねじの頭部と前記保持部との間で前記筐体を挟むように、前記筐体に固定されている、
請求項9に記載の校正装置。
(【請求項11】以降は省略されています)
発明の詳細な説明
【技術分野】
【0001】
本発明は、校正装置に関する。
続きを表示(約 1,500 文字)
【背景技術】
【0002】
画像形成装置においては、記録媒体の種類によって定着条件等が異なるので、記録媒体の種類に応じた設定が必要になる。近年においては、センサーを用いて自動的に記録媒体の特性を測定して設定変更する画像形成装置が存在する。記録媒体の特性を測定するセンサーとしては、記録媒体に光を照射し、その反射光量を測定して記録媒体の特性(含水量や表面状態)を算出する光学センサーが知られている。
【0003】
記録媒体の特性の算出には、基準値からの光量値の比や差分等が用いられる。基準値は、光学センサーの光源の光路上に配置可能な光量基準板に基づく測定値とされる。記録媒体の特性変動以外の要因、電気部品の経時変化、温度特性等、に起因して基準値が変動すると、記録媒体の特性の算出に悪影響が出る。そのため、高精度の記録媒体の特性を測定するためには、高頻度に基準値の校正を行う必要がある。
【0004】
光量基準板は、光学センサーの光源の光路上に配置される校正位置と、校正位置から退避した退避位置との間を回動可能に構成されたものが知られている(例えば、特許文献1参照)。
【先行技術文献】
【特許文献】
【0005】
特開2020-190420号公報
【発明の概要】
【発明が解決しようとする課題】
【0006】
ところで、光量基準板は、校正位置と退避位置との間のみで回動するため、基準値の校正による一連の回動動作で、光量基準板に駆動力を伝達する伝達ギヤの噛み合い位置が変化しない。そのため、高頻度で基準値の校正を行うと、同一のギヤ歯を使い続けることになるので、長時間および多回数の使用に起因して伝達ギヤが摩耗しやすくなる。伝達ギヤが摩耗すると、光量基準板の姿勢、位置がばらつくので、記録媒体の特性の測定精度が悪化するおそれがある。
【0007】
本発明の目的は、光学センサーの基準値の測定精度を安定化させることが可能な校正装置を提供することである。
【課題を解決するための手段】
【0008】
本発明に係る校正装置は、
搬送経路上の記録媒体の特性を測定する光学センサーの基準値の校正装置であって、
駆動源からの駆動力により、前記基準値の校正を行うための校正位置と、前記校正位置から退避した退避位置との間の範囲を回動する回動部と、
前記回動部の回動位置に基づいて、前記駆動源からの前記回動部への駆動力の伝達状態を切り替える切替部と、
を備える。
【発明の効果】
【0009】
本発明によれば、光学センサーの基準値の測定精度を安定化させることができる。
【図面の簡単な説明】
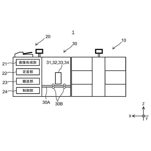
【0010】
本発明の実施の形態に係る校正装置を含む画像形成システムを示す図である。
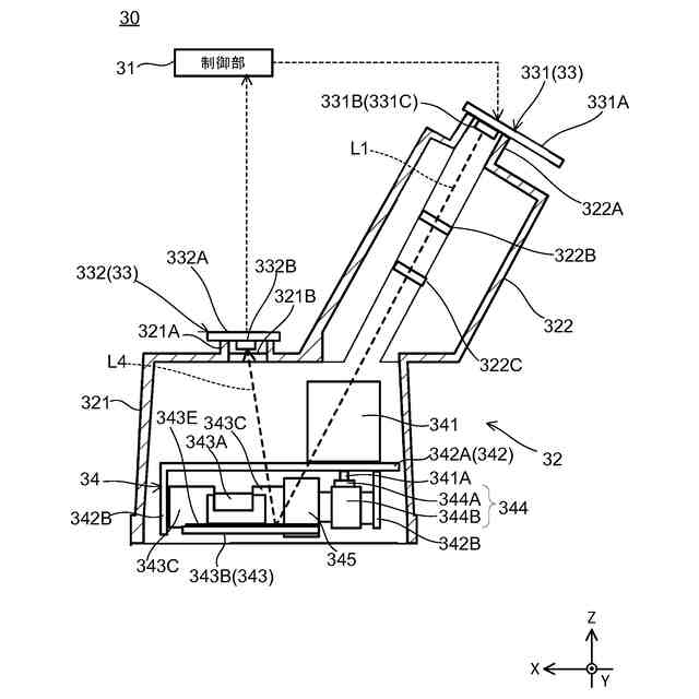
測定装置の構成を示す断面図である。
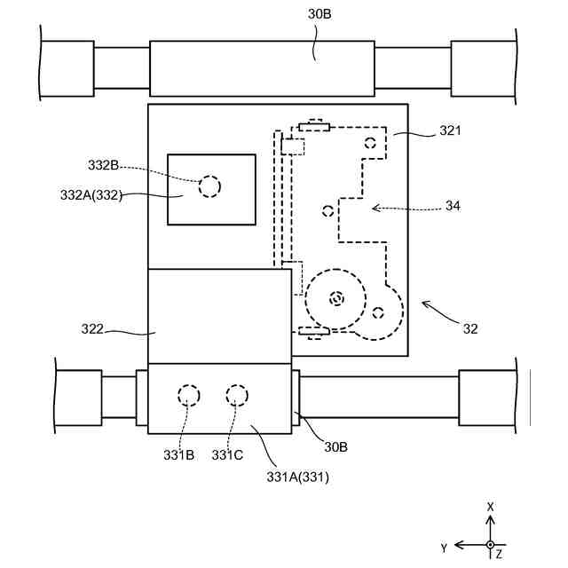
筐体をZ方向の+側から見た図である。
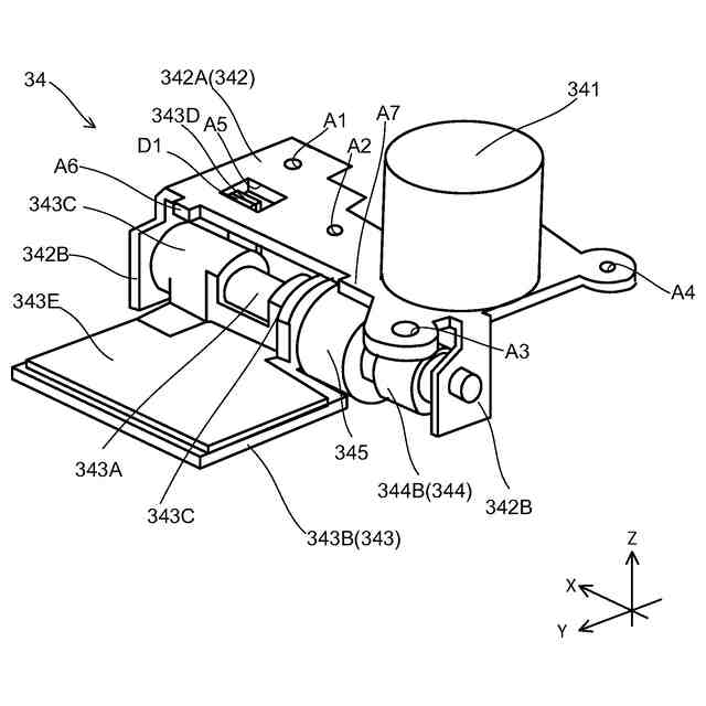
校正部の斜視図である。
校正部をZ方向の-側から見た図である。
校正位置の回動部材の回動規制を説明するための図である。
退避位置の回動部材の回動規制を説明するための図である。
校正部における伝達部の噛み合い状態を示す図である。
校正部を校正位置とした測定装置の構成を示す断面図である。
伝達部における噛み合い位置の遷移図である。
【発明を実施するための形態】
(【0011】以降は省略されています)
この特許をJ-PlatPat(特許庁公式サイト)で参照する
関連特許
コニカミノルタ株式会社
校正装置
1日前
コニカミノルタ株式会社
画像形成方法
1日前
コニカミノルタ株式会社
画像処理装置
6日前
コニカミノルタ株式会社
画像形成方法
6日前
コニカミノルタ株式会社
画像形成装置
2日前
コニカミノルタ株式会社
画像形成装置
8日前
コニカミノルタ株式会社
画像形成システム
6日前
コニカミノルタ株式会社
画像形成システム
今日
コニカミノルタ株式会社
画像形成システム
8日前
コニカミノルタ株式会社
検品装置および検品方法
6日前
コニカミノルタ株式会社
保持シート、及び画像形成装置
7日前
コニカミノルタ株式会社
光学装置及びその組み立て方法
2日前
コニカミノルタ株式会社
後処理装置および画像形成装置
1日前
コニカミノルタ株式会社
潤滑剤塗布装置及び画像形成装置
6日前
コニカミノルタ株式会社
搬送スクリュー及び画像形成装置
今日
コニカミノルタ株式会社
ローラーユニット及び画像形成装置
今日
コニカミノルタ株式会社
画像形成システム及び画像形成方法
今日
コニカミノルタ株式会社
画像形成方法及び画像形成システム
6日前
コニカミノルタ株式会社
動態画像解析装置、方法、及びプログラム
今日
コニカミノルタ株式会社
印刷装置及び印刷装置のメンテナンス方法
13日前
コニカミノルタ株式会社
動態撮影装置及び息止め不良判定プログラム
13日前
コニカミノルタ株式会社
分析装置、分析方法、および制御プログラム
今日
コニカミノルタ株式会社
液体吐出装置、信号検知方法及びプログラム
6日前
コニカミノルタ株式会社
画像形成装置、用紙管理方法及びプログラム
6日前
コニカミノルタ株式会社
超音波診断装置、画像保存方法及びプログラム
今日
コニカミノルタ株式会社
画像形成システム、排出方法およびプログラム
2日前
コニカミノルタ株式会社
画像形成装置、調整方法および調整プログラム
6日前
コニカミノルタ株式会社
超音波診断装置、プログラム及び超音波診断方法
今日
コニカミノルタ株式会社
ジョブ実行システム、制御方法、及びプログラム
6日前
コニカミノルタ株式会社
画像形成システム、画像形成方法及びプログラム
6日前
コニカミノルタ株式会社
用紙特性検出装置、画像形成システム及びプログラム
2日前
コニカミノルタ株式会社
画像形成装置、および画像形成装置のクリーニング方法
6日前
コニカミノルタ株式会社
撮影支援装置、撮影支援方法および撮影支援プログラム
今日
コニカミノルタ株式会社
画像形成装置、連結治具および画像形成装置の製造方法
6日前
コニカミノルタ株式会社
定着装置、画像形成装置、制御方法及び制御プログラム
13日前
コニカミノルタ株式会社
情報処理装置、情報処理方法、および情報処理プログラム
1日前
続きを見る
他の特許を見る