TOP
|
特許
|
意匠
|
商標
特許ウォッチ
Twitter
他の特許を見る
10個以上の画像は省略されています。
公開番号
2025177110
公報種別
公開特許公報(A)
公開日
2025-12-05
出願番号
2024083650
出願日
2024-05-22
発明の名称
画像形成装置、連結治具および画像形成装置の製造方法
出願人
コニカミノルタ株式会社
代理人
弁理士法人磯野国際特許商標事務所
主分類
G03G
21/16 20060101AFI20251128BHJP(写真;映画;光波以外の波を使用する類似技術;電子写真;ホログラフイ)
要約
【課題】分割された複数の手前側パネルと奥側パネルの捩じれを低減することができる画像形成装置、画像形成装置の製造方法および連結治具を得る。
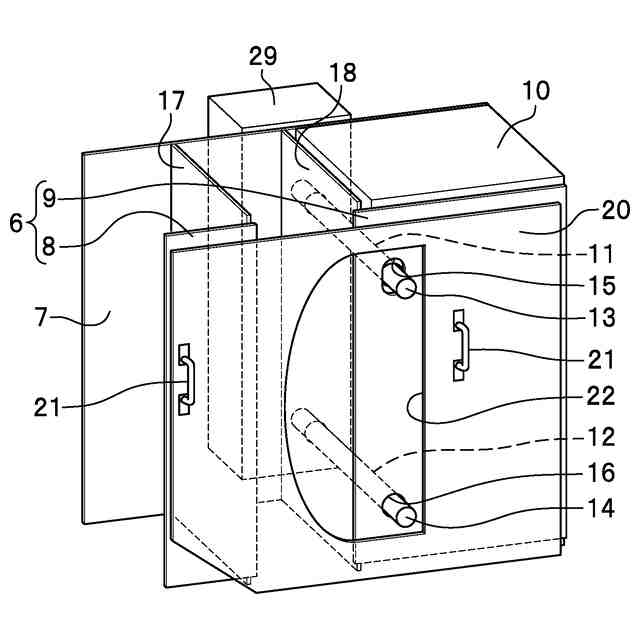
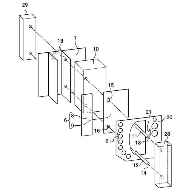
【解決手段】画像形成装置1は、画像形成ユニット10を収容する筐体2と、筐体2の手前側に設けられ、複数に分割された手前側パネル部材6と、を備える。さらに、筐体2の奥側に設けられる奥側パネル部材7と、奥側パネル部材7から突設されて、手前側パネル部材6との間に取付られる画像形成ユニット10の位置決めを行う上取付基準軸11および下取付基準軸12を備える。また、複数の手前側パネル部材6を連結治具20により連結して一体化した状態で、複数の手前側パネル部材6のうち1つ以上に上取付基準軸11を嵌合して奥側パネル部材7および手前側パネル部材6を固定する。そして、固定した後、連結治具20が複数の手前側パネル部材6から取り外される。
【選択図】図1
特許請求の範囲
【請求項1】
画像形成ユニットを収容する筐体と、
前記筐体の手前側に設けられ、複数に分割された手前側パネル部材と、
前記筐体の奥側に設けられる奥側パネル部材と、
前記奥側パネル部材から突設されて、前記手前側パネル部材との間に取付られる前記画像形成ユニットの位置決めを行う取付基準軸と、を備え、
複数の前記手前側パネル部材を連結治具により連結して一体化した状態で、複数の前記手前側パネル部材のうち1つ以上に前記取付基準軸を嵌合して前記奥側パネル部材および前記手前側パネル部材を固定した後、前記連結治具が複数の前記手前側パネル部材から取り外されて構成される、画像形成装置。
続きを表示(約 850 文字)
【請求項2】
前記画像形成ユニットは更に、前記手前側パネル部材と前記奥側パネル部材によって位置決めされる、
請求項1に記載の画像形成装置。
【請求項3】
前記連結治具により連結されている状態での複数の前記手前側パネル部材の側面視における重心の位置を、前記奥側パネル部材の側面視における重心の位置と同一にしている、請求項1に記載の画像形成装置。
【請求項4】
前記連結治具により連結されている状態での複数の前記手前側パネル部材の重量を、前記奥側パネル部材の重量と同一にしている、
請求項3に記載の画像形成装置。
【請求項5】
前記連結治具により連結されている状態での複数の前記手前側パネル部材と前記奥側パネル部材とを、前記重心の位置を挟んで反対側を上方へ吊り上げた状態で、前記取付基準軸と嵌合して固定する、請求項3に記載の画像形成装置。
【請求項6】
複数に分割された前記手前側パネル部材の間に着脱可能に装着されて、各前記手前側パネル部材の間を連結した状態で、前記筐体にそれぞれの前記手前側パネル部材を固定するとともに、各前記手前側パネル部材から取り外される、請求項1に記載の画像形成装置に用いられる連結治具。
【請求項7】
筐体の奥側に奥側パネル部材を取付ける工程と、
前記奥側パネル部材から前記筐体の内部に取付基準軸を突設させる工程と、
前記取付基準軸を基準として画像形成ユニットを前記筐体の内部に取付ける工程と、
前記筐体に設けられる複数の手前側パネル部材の間を連結治具により着脱可能に連結する工程と、
前記手前側パネル部材に設けられた係合孔に前記取付基準軸を挿通させて係合させる工程と、
複数の前記手前側パネル部材を前記筐体に固定する工程と、
複数の前記手前側パネル部材から前記連結治具を取り外す工程と、を備える画像形成装置の製造方法。
発明の詳細な説明
【技術分野】
【0001】
本発明は、画像形成装置、連結治具および画像形成装置の製造方法に関する。
続きを表示(約 1,700 文字)
【背景技術】
【0002】
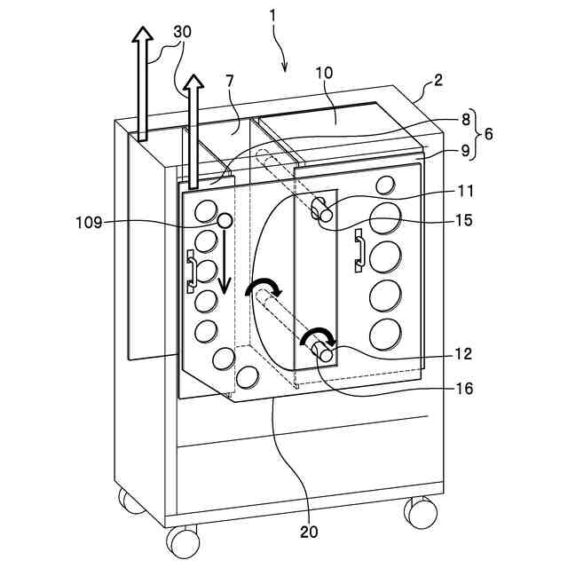
従来、画像形成装置の筐体は、前後左右を覆う板状のパネル部材として、ユーザの手前側に位置する手前側パネル部材と、奥側に位置する奥側パネル部材と、を備えている。
このうち、手前側パネル部材は、左右に分割された左側パネル部材および右側パネル部材を有している。これらの左側パネル部材および右側パネル部材間には、所定の間隔が設けられている。これにより、ユーザは、開けられた空間から内部に収容される画像形成ユニットに対してアクセスできるように構成されている(特許文献1参照)。
【先行技術文献】
【特許文献】
【0003】
特開2020-13040号公報
【発明の概要】
【発明が解決しようとする課題】
【0004】
従来の筐体では、内部に収容される画像形成ユニットの位置決めを行う為、手前側パネル部材および奥側パネル部材との間に取付基準軸が取り付けられている。
取付基準軸は、手前側パネル部材を取付ける際の支点となっている。このため、形状や配置上の制約で手前側パネル部材の側面視における重心から取付基準軸の位置が左右方向にずれていると、手前側パネル部材は、自重で傾いてしまう。
【0005】
これにより、手前側パネル部材および奥側パネル部材間の相対位置は変位して取付基準軸の軸孔の遊びによるガタ分、連結している取付基準軸が捩じれた状態で固定されて、画像形成ユニットの取付精度を低下させてしまう。
このような状態では、画像形成ユニットに設けられている各種ローラ部材やプリンタヘッドの位置精度が低下する。たとえば、転写ローラに対し用紙搬送ローラが傾いて搬送曲がりが発生する。また、画像書き込みをするプリンタヘッドに対し、ドラムや転写部が傾いて画像傾きが発生してしまう。
【0006】
このため、組立作業者は、正確な位置合わせを行うため所定の重量を有するパネルをズレないように支持しながら固定しなければならず、さらなる改良が求められている。
本発明の画像形成装置、連結治具および画像形成装置の製造方法は、このような背景を鑑みてなされたものである。すなわち、分割された複数の手前側パネルと奥側パネルの捩じれを低減する、ことを課題としている。
【課題を解決するための手段】
【0007】
本発明の上記課題は、下記の構成により解決される。
(1)画像形成装置は、画像形成ユニットを収容する筐体と、前記筐体の手前側に設けられ、複数に分割された手前側パネル部材と、を備える。画像形成装置は、前記筐体の奥側に設けられる奥側パネル部材と、前記奥側パネル部材から突設されて、前記手前側パネル部材との間に取付られる前記画像形成ユニットの位置決めを行う取付基準軸と、を備える。また、画像形成装置は、複数の前記手前側パネル部材を連結治具により連結して一体化する。そして、連結治具は、一体化した状態で、複数の前記手前側パネル部材のうち1つ以上に前記取付基準軸を嵌合して前記奥側パネル部材および前記手前側パネル部材を固定する。固定された後、前記連結治具が複数の前記手前側パネル部材から取り外されて画像形成装置が構成される。
【0008】
(2)前記画像形成ユニットは更に、前記手前側パネル部材と前記奥側パネル部材によって位置決めされる、(1)記載の画像形成装置。
【0009】
(3)前記連結治具により連結されている状態での複数の前記手前側パネル部材の側面視における重心の位置を、前記奥側パネル部材の側面視における重心の位置と同一にしている、(1)記載の画像形成装置。
【0010】
(4)連結治具により連結されている状態での複数の前記手前側パネル部材の重量を、前記奥側パネル部材の重量と同一にしている、(3)記載の画像形成装置に用いられる連結治具。
(【0011】以降は省略されています)
この特許をJ-PlatPat(特許庁公式サイト)で参照する
関連特許
コニカミノルタ株式会社
校正装置
1日前
コニカミノルタ株式会社
画像形成方法
1日前
コニカミノルタ株式会社
画像形成装置
2日前
コニカミノルタ株式会社
画像形成システム
今日
コニカミノルタ株式会社
光学装置及びその組み立て方法
2日前
コニカミノルタ株式会社
後処理装置および画像形成装置
1日前
コニカミノルタ株式会社
搬送スクリュー及び画像形成装置
今日
コニカミノルタ株式会社
潤滑剤塗布装置及び画像形成装置
6日前
コニカミノルタ株式会社
画像形成システム及び画像形成方法
今日
コニカミノルタ株式会社
ローラーユニット及び画像形成装置
今日
コニカミノルタ株式会社
動態画像解析装置、方法、及びプログラム
今日
コニカミノルタ株式会社
画像形成装置、用紙管理方法及びプログラム
6日前
コニカミノルタ株式会社
分析装置、分析方法、および制御プログラム
今日
コニカミノルタ株式会社
超音波診断装置、画像保存方法及びプログラム
今日
コニカミノルタ株式会社
画像形成システム、排出方法およびプログラム
2日前
コニカミノルタ株式会社
超音波診断装置、プログラム及び超音波診断方法
今日
コニカミノルタ株式会社
用紙特性検出装置、画像形成システム及びプログラム
2日前
コニカミノルタ株式会社
撮影支援装置、撮影支援方法および撮影支援プログラム
今日
コニカミノルタ株式会社
情報処理装置、情報処理方法、および情報処理プログラム
1日前
コニカミノルタ株式会社
超音波診断装置、超音波診断プログラム、及び超音波診断方法
今日
コニカミノルタ株式会社
超音波診断装置、超音波診断プログラム、及び超音波診断方法
2日前
コニカミノルタ株式会社
画像形成システム、画像形成システムの制御方法及びプログラム
6日前
コニカミノルタ株式会社
インクジェット印刷装置、インクジェット印刷方法及びプログラム
今日
コニカミノルタ株式会社
画像形成装置、画像形成システム、クリーニング方法及びプログラム
1日前
コニカミノルタ株式会社
排紙装置、画像形成装置、後処理装置、制御方法及び制御プログラム
今日
コニカミノルタ株式会社
活性光線硬化型インクジェットインクおよびこれを用いた印刷物の製造方法
2日前
コニカミノルタ株式会社
活性光線硬化型インクジェットインクおよびこれを用いた印刷物の製造方法
2日前
コニカミノルタ株式会社
画像検査システム、画像検査装置、画像検査方法、および画像検査プログラム
2日前
コニカミノルタ株式会社
画像検査システム、画像検査装置、画像検査方法、および画像検査プログラム
2日前
コニカミノルタ株式会社
故障箇所特定装置、故障箇所特定方法、故障箇所特定プログラム、及び画像形成装置
6日前
コニカミノルタ株式会社
画像形成システム、画像形成システムの収納部選択方法、および収納部選択プログラム
6日前
コニカミノルタ株式会社
インクジェットヘッドおよび画像形成装置
6日前
コニカミノルタ株式会社
フィルムロール及びフィルムロールの製造方法
2日前
コニカミノルタ株式会社
情報を表示する方法、プログラム、および情報処理装置
2日前
個人
表示装置
1か月前
個人
雨用レンズカバー
1か月前
続きを見る
他の特許を見る