TOP
|
特許
|
意匠
|
商標
特許ウォッチ
Twitter
他の特許を見る
公開番号
2025180080
公報種別
公開特許公報(A)
公開日
2025-12-11
出願番号
2024087172
出願日
2024-05-29
発明の名称
インクジェット印刷装置、インクジェット印刷方法及びプログラム
出願人
コニカミノルタ株式会社
代理人
弁理士法人光陽国際特許事務所
主分類
B41J
29/393 20060101AFI20251204BHJP(印刷;線画機;タイプライター;スタンプ)
要約
【課題】測色と効率的な印刷の両立を可能とするインクジェット印刷装置、インクジェット印刷方法及びプログラムを提供する。
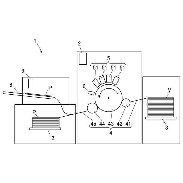
【解決手段】本発明のインクジェット印刷装置は、印刷物を作製する印刷部と、印刷物が排出される第1排出部と、第1排出部において停止状態である印刷物に対して測色を実施するインライン測色機と、を備える。
【選択図】図1
特許請求の範囲
【請求項1】
印刷物を作製する印刷部と、
前記印刷物が排出される第1排出部と、
前記第1排出部において停止状態である前記印刷物に対して測色を実施するインライン測色機と、を備える、
インクジェット印刷装置。
続きを表示(約 1,000 文字)
【請求項2】
前記第1排出部とは別に、前記印刷物が排出される第2排出部を更に備え、
前記第1排出部に前記印刷物が排出された後、所定の測色待機時間が経過してから、前記インライン測色機が測色を実施する、
請求項1に記載のインクジェット印刷装置。
【請求項3】
前記印刷物における紙種及び紙厚の少なくともいずれか一つに応じて、前記測色待機時間が調整される、
請求項2に記載のインクジェット印刷装置。
【請求項4】
前記印刷物におけるインクの種類、画像濃度、及びインク量の少なくともいずれか一つに応じて、前記測色待機時間が調整される、
請求項2に記載のインクジェット印刷装置。
【請求項5】
前記印刷物の印刷時紙面温度、前記第1排出部の温度、及び前記第1排出部の湿度の少なくともいずれか一つに応じて、前記測色待機時間が調整される、
請求項2に記載のインクジェット印刷装置。
【請求項6】
測色の対象となる印刷物を作製する測色ジョブの後に測色の対象とならない印刷物を作製する通常ジョブが予約されている場合、前記測色の目的に応じて、前記測色の測色待機中及び/又は測色中に前記通常ジョブを実施するか否かが判断される、
請求項2に記載のインクジェット印刷装置。
【請求項7】
前記測色の目的が画質調整のためである場合、前記測色の測色待機中及び/又は測色中に前記通常ジョブを実施しない、
請求項6に記載のインクジェット印刷装置。
【請求項8】
前記測色の目的が品質確認のためである場合、前記測色の測色待機中及び/又は測色中に前記通常ジョブを実施する、
請求項6に記載のインクジェット印刷装置。
【請求項9】
前記測色の結果、色彩値の変動が許容値を超えている場合、前記通常ジョブを一時停止し、前記測色ジョブから前記一時停止までの間に作製された前記印刷物を印刷品質未達用紙として通知する、
請求項8に記載のインクジェット印刷装置。
【請求項10】
前記印刷物の色彩値に影響しない定期メンテナンスまでの時間が閾値未満である場合、測色待機中及び/又は測色中に、前記定期メンテナンスが実施される、
請求項1に記載のインクジェット印刷装置。
(【請求項11】以降は省略されています)
発明の詳細な説明
【技術分野】
【0001】
本発明は、インクジェット印刷装置、インクジェット印刷方法及びプログラムに関する。
続きを表示(約 990 文字)
【背景技術】
【0002】
インクジェット印刷物に対して測色する場合、インクが乾燥して色彩値が安定するまで待機する必要がある。例えば特許文献1に記載の技術では、印刷物の搬送経路上にインラインで設置された測色機を備えた印刷装置において、乾燥時間の経過を待ってから測色を行っている。
【先行技術文献】
【特許文献】
【0003】
特開2010-241061号公報
【発明の概要】
【発明が解決しようとする課題】
【0004】
しかしながら、測色機が印刷物の搬送経路上に設置された印刷装置では、測色のために色彩値の安定を待っている間、次の印刷ジョブ、メンテナンス等の作業を行えないことがあり、印刷効率が低かった。
【0005】
本発明は、上記状況に鑑みてなされたものである。本発明が解決しようとする課題は、測色と効率的な印刷の両立を可能とするインクジェット印刷装置、インクジェット印刷方法及びプログラムを提供することである。
【課題を解決するための手段】
【0006】
本発明に係る上記課題は、以下の手段により解決される。
【0007】
1.印刷物を作製する印刷部と、
前記印刷物が排出される第1排出部と、
前記第1排出部において停止状態である前記印刷物に対して測色を実施するインライン測色機と、を備える、
インクジェット印刷装置。
【0008】
2.前記第1排出部とは別に、前記印刷物が排出される第2排出部を更に備え、
前記第1排出部に前記印刷物が排出された後、所定の測色待機時間が経過してから、前記インライン測色機が測色を実施する、
第1項に記載のインクジェット印刷装置。
【0009】
3.前記印刷物における紙種及び紙厚の少なくともいずれか一つに応じて、前記測色待機時間が調整される、
第2項に記載のインクジェット印刷装置。
【0010】
4.前記印刷物におけるインクの種類、画像濃度、及びインク量の少なくともいずれか一つに応じて、前記測色待機時間が調整される、
第2項に記載のインクジェット印刷装置。
(【0011】以降は省略されています)
この特許をJ-PlatPat(特許庁公式サイト)で参照する
関連特許
他の特許を見る