TOP
|
特許
|
意匠
|
商標
特許ウォッチ
Twitter
他の特許を見る
10個以上の画像は省略されています。
公開番号
2025178409
公報種別
公開特許公報(A)
公開日
2025-12-05
出願番号
2025163771,2024572162
出願日
2025-09-30,2024-06-17
発明の名称
インクジェットヘッドおよび画像形成装置
出願人
コニカミノルタ株式会社
代理人
弁理士法人鷲田国際特許事務所
主分類
B41J
2/14 20060101AFI20251128BHJP(印刷;線画機;タイプライター;スタンプ)
要約
【課題】電界クロストークの影響を低減し、形成画像の品質低下を抑制することができるインクジェットヘッドおよび画像形成装置を提供する。
【解決手段】インクジェットヘッドは、
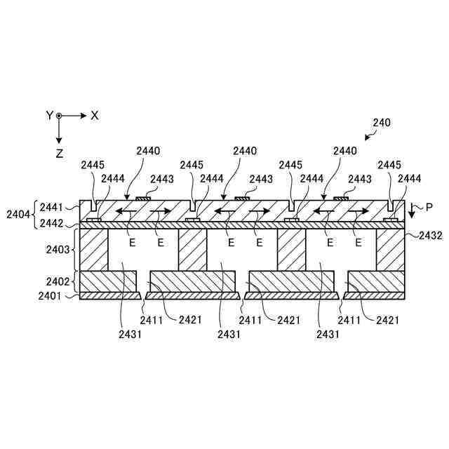
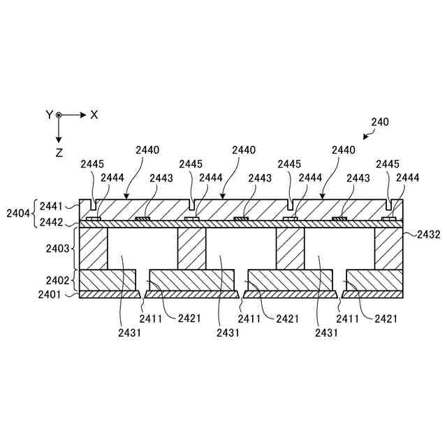
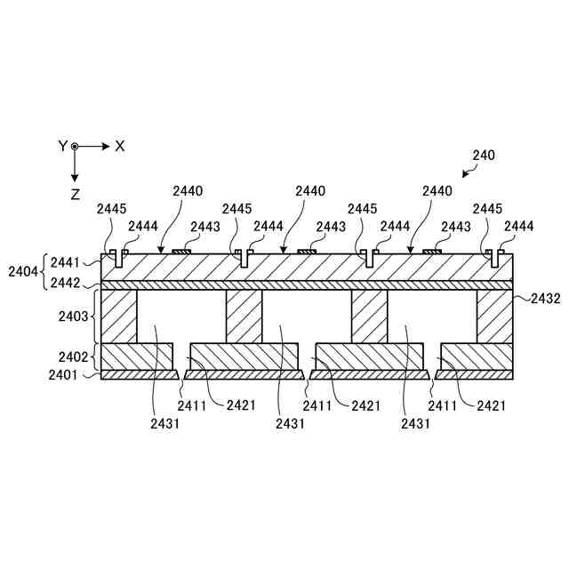
複数のノズルに対応して第1の方向に並んだ複数の駆動領域を有する圧電素子と、圧電素子に駆動領域毎に配置され、対応するノズルからインクを吐出させる駆動電圧が個別に印加される複数の個別電極と、第1の方向において個別電極と交互に圧電素子に配置され、複数の駆動領域において個別電極との間で電界が発生するように共通の駆動電圧が印加される共通電極と、圧電素子を駆動領域毎に区分するように、圧電素子に形成されたスリットと、を備え、共通電極が複数配置されている。
【選択図】図2
特許請求の範囲
【請求項1】
複数のノズルに対応して第1の方向に並んだ複数の駆動領域を有する圧電素子と、
前記圧電素子に前記駆動領域毎に配置され、対応する前記ノズルからインクを吐出させる駆動電圧が個別に印加される複数の個別電極と、
前記第1の方向において前記個別電極と交互に前記圧電素子に配置され、前記複数の駆動領域において前記個別電極との間で電界が発生するように共通の駆動電圧が印加される共通電極と、
前記圧電素子を前記駆動領域毎に区分するように、前記圧電素子に形成されたスリットと、
を備え、
前記共通電極が複数配置されている、
インクジェットヘッド。
続きを表示(約 1,300 文字)
【請求項2】
前記スリットは、
前記第1の方向において互いに隣接する2つの前記個別電極の間の位置に形成されている、
請求項1に記載のインクジェットヘッド。
【請求項3】
前記スリットは、
前記個別電極および前記共通電極が配置される前記第1の方向に平行な前記圧電素子の面に対して直交する第2の方向から見て、前記共通電極に対応する位置に形成されている、
請求項1に記載のインクジェットヘッド。
【請求項4】
複数の前記ノズルに対応して前記第1の方向に並んだ複数の圧力室を互いに隔てる隔壁をさらに備え、
前記スリットは、
前記個別電極および前記共通電極が配置される前記第1の方向に平行な前記圧電素子の面に対して直交する第2の方向から見て、前記隔壁に対応する位置に形成されている、
請求項1に記載のインクジェットヘッド。
【請求項5】
複数の前記ノズルに対応して前記第1の方向に並んだ複数の圧力室を互いに隔てる隔壁をさらに備え、
前記個別電極は、
前記個別電極および前記共通電極が配置される前記第1の方向に平行な前記圧電素子の面に対して直交する第2の方向から見て、隣接する前記隔壁間の中央に対応する位置に配置されている、
請求項1に記載のインクジェットヘッド。
【請求項6】
前記圧電素子の前記スリットが形成される面と、前記圧電素子の前記共通電極が配置される面とは、いずれも前記第1の方向に平行であり、かつ、それぞれの前記面に対して直交する第2の方向において互いに反対側に位置する、
請求項1に記載のインクジェットヘッド。
【請求項7】
前記圧電素子の前記共通電極が配置される面は、複数の前記ノズルに対応して前記第1の方向に並んだ複数の圧力室に面し、
前記個別電極は、前記圧力室に面しない、前記圧電素子の前記スリットが形成される面に配置されている、
請求項6に記載のインクジェットヘッド。
【請求項8】
前記圧電素子の前記スリットが形成される面は、複数の前記ノズルに対応して前記第1の方向に並んだ複数の圧力室に面せず、
前記個別電極および前記共通電極は、前記圧力室に面する前記圧電素子の面に配置されている、
請求項6に記載のインクジェットヘッド。
【請求項9】
前記圧電素子の前記スリットが形成される面は、複数の前記ノズルに対応して前記第1の方向に並んだ複数の圧力室に面し、
前記圧電素子の前記共通電極が配置される面は、前記圧力室に面しない前記圧電素子の面に配置され、
前記個別電極は、前記圧電素子の前記スリットが形成される面に配置されている、
請求項6に記載のインクジェットヘッド。
【請求項10】
前記圧電素子の前記スリットが形成される面は、複数の前記ノズルに対応して前記第1の方向に並んだ複数の圧力室に面し、
前記個別電極および前記共通電極は、前記圧力室に面しない前記圧電素子の面に配置されている、
請求項6に記載のインクジェットヘッド。
(【請求項11】以降は省略されています)
発明の詳細な説明
【技術分野】
【0001】
本開示は、インクジェットヘッドおよび画像形成装置に関する。
続きを表示(約 1,400 文字)
【背景技術】
【0002】
従来、用紙等の記録媒体に対して、インクジェットヘッドに複数配列されたノズルからインクを吐出し、記録媒体に画像を形成するインクジェット画像形成装置が知られている。このようなインクジェット画像形成装置において、インクジェットヘッドは、ノズルの数に応じた複数のチャネルを有し、それぞれのチャネルについて、インクを貯留する圧力室と、圧力室を変形させる圧電素子とを備えている。
【0003】
インクジェットヘッドでは、圧電素子に駆動電圧が印加されると、駆動電圧に応じて圧電素子が変形することによって圧力室が変形し、ノズルに供給される圧力室内のインクに対する圧力が変化する。これにより、圧力室内のインクがノズルから吐出される。
【0004】
ここで、あるチャネルにおいて、ノズルからインクを吐出させるために圧電素子が変形した際に、この変形が隣接する圧電素子に伝播することにより、隣接チャネルへのクロストークが生じることがある。そのため、このクロストークの影響により、形成画像の品質が低下する虞がある。
【0005】
そこで、最近では、このようなクロストークの影響を低減する種々の方法が提案されている。例えば、特許文献1には、圧電素子における両面の所定位置に切り欠きが形成され、圧電素子における分極方向と電界方向とが平行となるように電極が配置されたインクジェットヘッドが開示されている。このインクジェットヘッドでは、電極に駆動電圧が印加された際に、圧電素子の変形方向を変化させることにより、隣接チャネルの圧電素子へのクロストークの影響を抑制する技術が開示されている。
【先行技術文献】
【特許文献】
【0006】
特開2003-008095号公報
【発明の概要】
【発明が解決しようとする課題】
【0007】
ところで、クロストークには、構造クロストークと電界クロストークとがある。構造クロストークは、あるチャネルにおける圧電素子の変形が隣接チャネルにおける圧電素子の変形に影響を及ぼすものである。電界クロストークは、あるチャネルに対して駆動電圧が印加されることで発生する電界が隣接チャネルに影響を及ぼすものである。
【0008】
これに対して、特許文献1に記載のインクジェットヘッドでは、上述した構造クロストークを抑制することができるが、電界クロストークを抑制することができない。
【0009】
一方、圧電素子を剪断変形させることによって圧力室を変形させるインクジェットヘッドの駆動効率を向上させるためには、圧電素子の厚みを増加させる必要がある。しかしながら、圧電素子を厚くした場合には、隣接チャネルに対する断面積が増加する。そのため、圧電素子を厚くすると、あるチャネルに駆動電圧が印加された場合に生じる電界の隣接チャネルへの漏れ量も増加する。したがって、この場合には、電界クロストークの影響が増大することにより、形成画像の品質が低下してしまうという問題点があった。
【0010】
本開示の目的は、電界クロストークの影響を低減し、形成画像の品質低下を抑制することができるインクジェットヘッドおよび画像形成装置を提供することである。
【課題を解決するための手段】
(【0011】以降は省略されています)
この特許をJ-PlatPat(特許庁公式サイト)で参照する
関連特許
個人
印鑑
5日前
個人
箔熱転写装置
3か月前
シヤチハタ株式会社
印判
6か月前
東レ株式会社
凸版印刷版原版
12か月前
シヤチハタ株式会社
反転式印判
11か月前
キヤノン株式会社
電子機器
1か月前
三光株式会社
感熱記録材料
8か月前
独立行政法人 国立印刷局
印刷物
9か月前
キヤノン株式会社
記録装置
2か月前
株式会社リコー
液体吐出装置
6か月前
株式会社リコー
液体吐出装置
8か月前
独立行政法人 国立印刷局
記録媒体
10か月前
日本製紙株式会社
感熱記録体
9か月前
株式会社リコー
液体吐出装置
9か月前
株式会社リコー
液体吐出装置
4か月前
株式会社リコー
画像形成装置
2か月前
独立行政法人 国立印刷局
貼付装置
3か月前
株式会社リコー
印刷システム
2か月前
株式会社リコー
液体吐出装置
10か月前
独立行政法人 国立印刷局
貼付機構
3か月前
株式会社リコー
液体吐出装置
9か月前
株式会社リコー
画像形成装置
2か月前
株式会社リコー
液体吐出装置
6か月前
株式会社リコー
画像形成装置
3か月前
株式会社リコー
液体吐出装置
7か月前
フジコピアン株式会社
中間転写シート
11か月前
キヤノン株式会社
画像形成装置
7か月前
ブラザー工業株式会社
液体吐出ヘッド
2か月前
独立行政法人 国立印刷局
潜像形成体
2か月前
キヤノン株式会社
画像記録装置
2か月前
キヤノン株式会社
情報処理装置
11か月前
キヤノン株式会社
印刷システム
9か月前
キヤノン株式会社
印刷システム
20日前
ブラザー工業株式会社
プリンタ
10か月前
キヤノン株式会社
画像形成装置
3か月前
キヤノン株式会社
印刷制御装置
12か月前
続きを見る
他の特許を見る