TOP
|
特許
|
意匠
|
商標
特許ウォッチ
Twitter
他の特許を見る
公開番号
2025179301
公報種別
公開特許公報(A)
公開日
2025-12-10
出願番号
2024085948
出願日
2024-05-28
発明の名称
画像形成装置、画像形成システム、クリーニング方法及びプログラム
出願人
コニカミノルタ株式会社
代理人
弁理士法人光陽国際特許事務所
主分類
G03G
15/01 20060101AFI20251203BHJP(写真;映画;光波以外の波を使用する類似技術;電子写真;ホログラフイ)
要約
【課題】記録媒体上の色材の汚れを見やすくする。
【解決手段】画像形成装置100は、用紙(記録媒体)を収容する給紙トレイ21(収容部)と、収容された用紙にトナー(色材)を用いて画像を形成する画像形成部10と、画像が形成された用紙を搬送する搬送路R1~R4と、を備える。画像形成装置100の制御部は、給紙トレイ21に収容された用紙の搬送により、搬送路R1~R4に付着したトナーを回収することで、搬送路R1~R4のクリーニングを実施する。制御部は、クリーニングを実施する場合に、給紙トレイ21に収容された用紙の色情報に基づいて、クリーニングに用いる用紙を選択する。
【選択図】図1
特許請求の範囲
【請求項1】
記録媒体を収容する収容部と、
前記収容された記録媒体に色材を用いて画像を形成する画像形成部と、
前記画像が形成された記録媒体を搬送する搬送路と、
前記収容部に収容された記録媒体の搬送により前記搬送路に付着した色材を回収することで、前記搬送路のクリーニングを実施する制御部と、
を備え、
前記制御部は、前記クリーニングを実施する場合に、前記収容部に収容された記録媒体の色情報に基づいて、前記クリーニングに用いる記録媒体を選択する、画像形成装置。
続きを表示(約 1,300 文字)
【請求項2】
前記画像形成部により用いられた色材の色情報及び前記収容部に収容された記録媒体の色情報を記憶する記憶部を備え、
前記制御部は、前記クリーニングを実施する場合に、前記色材の色情報及び前記収容部に収容された記録媒体の色情報に基づいて、前記クリーニングに用いる記録媒体を選択する、請求項1に記載の画像形成装置。
【請求項3】
前記画像形成部は、特色の色材を用いて画像を形成し、
前記制御部は、前記クリーニングを実施する場合に、前記特色とは異なる色の記録媒体を、前記クリーニングに用いる記録媒体として選択する、請求項1に記載の画像形成装置。
【請求項4】
前記画像形成部は、白色の色材を用いて画像を形成し、
前記制御部は、前記クリーニングを実施する場合に、前記白色とは異なる色の記録媒体を、前記クリーニングに用いる記録媒体として選択する、請求項1に記載の画像形成装置。
【請求項5】
前記制御部は、前記画像形成部における色材の使用量に基づいて、前記クリーニングを実施する、請求項1に記載の画像形成装置。
【請求項6】
前記制御部は、前記クリーニングを実施する場合に、前記画像形成部における使用量が最も多い色材の色とは異なる色の記録媒体を、前記クリーニングに用いる記録媒体として選択する、請求項1に記載の画像形成装置。
【請求項7】
前記制御部は、前記選択した記録媒体が前記収容部に収容されていない場合に、前記選択した記録媒体を前記収容部に収容するよう通知する通知部を備える、請求項1に記載に画像形成装置。
【請求項8】
前記収容部に収容された記録媒体の特性を検知する検知部を備え、
前記検知部は、前記収容部に収容された記録媒体の色情報を取得する、請求項1に記載の画像形成装置。
【請求項9】
記録媒体を収容する収容部と、
前記収容された記録媒体に色材を用いて画像を形成する画像形成部と、
前記画像が形成された記録媒体を搬送する搬送路と、
前記収容部に収容された記録媒体の搬送により前記搬送路に付着した色材を回収することで、前記搬送路のクリーニングを実施する制御部と、
を備え、
前記制御部は、前記クリーニングを実施する場合に、前記収容部に収容された記録媒体の色情報に基づいて、前記クリーニングに用いる記録媒体を選択する、画像形成システム。
【請求項10】
記録媒体を収容する収容部と、前記収容された記録媒体に色材を用いて画像を形成する画像形成部と、前記画像が形成された記録媒体を搬送する搬送路と、を備える画像形成装置におけるクリーニング方法であって、
前記収容部に収容された記録媒体の搬送により前記搬送路に付着した色材を回収することで、前記搬送路のクリーニングを実施する工程と、
前記クリーニングを実施する場合に、前記収容部に収容された記録媒体の色情報に基づいて、前記クリーニングに用いる記録媒体を選択する工程と、
を含む、クリーニング方法。
(【請求項11】以降は省略されています)
発明の詳細な説明
【技術分野】
【0001】
本発明は、画像形成装置、画像形成システム、クリーニング方法及びプログラムに関する。
続きを表示(約 1,600 文字)
【背景技術】
【0002】
一般的に、カラー画像を形成する画像形成装置では、イエロー、マゼンタ、シアン、ブラックの4色の色材(トナー、インク等)が用いられる。この4色に加え、特色の色材を用いた画像形成装置も知られている。特色の使用により、画像に鮮やかさ、光沢等が付加される。例えば、特色として白色を使う印刷を、白引き印刷と言う。白引き印刷は、透明素材、厚さが薄い素材、色付き用紙等への印刷において、デザインの下地を白色で表現するために用いられる。
【0003】
ところで、画像形成装置では、画像形成時に記録媒体(用紙等)の搬送路に色材が付着する場合がある。このため、画像形成装置は、搬送路に記録媒体を通過させることで、搬送路に付着した色材を回収する機能を備えている(通紙クリーニング)。通紙クリーニングでは、搬送路に付着した色材を記録媒体上に転移させ、搬送路の汚れを取り除く。
【0004】
例えば、用紙のサイズ、斤量等に基づいて、通紙クリーニングに用いる用紙を選択する画像形成装置が提案されている(特許文献1参照)。
【先行技術文献】
【特許文献】
【0005】
特開2006-154192号公報
【発明の概要】
【発明が解決しようとする課題】
【0006】
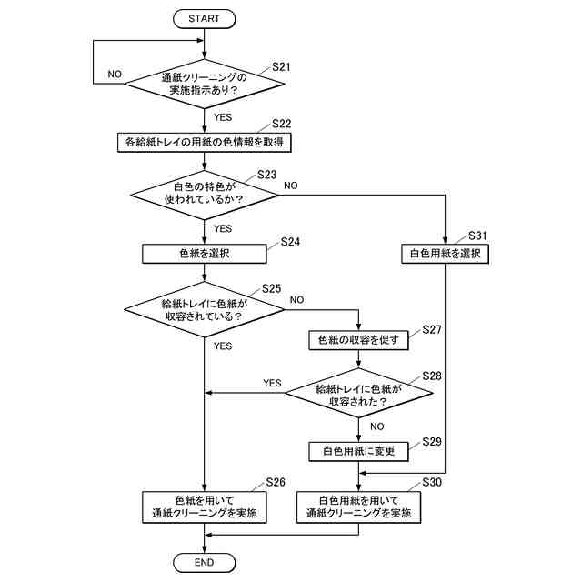
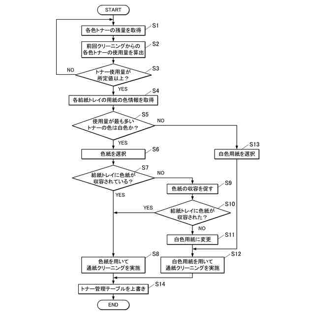
しかしながら、上記従来技術においては、通紙クリーニングに用いる記録媒体の色は考慮されていなかった。通紙クリーニングでは、排出された記録媒体に色材の汚れが付着しているか否かを、ユーザーが目視で確認する。白色の色材を用いて画像を形成する場合、白色の記録媒体を用いて通紙クリーニングを行っても、ユーザーは汚れを発見しづらい。そのため、色材による汚れが酷い場合でも、ユーザーは汚れを見逃してしまうおそれがある。特に、白色の色材は、他の色の色材より多く使われる場合が多いため、搬送路の汚れの主な原因となり得る。ユーザーがこの汚れに気付かないまま、画像形成を続けると、透明素材等の比較的高価な記録媒体を無駄にしてしまう。このように、画像形成に使用する色材と記録媒体との組み合わせによっては、記録媒体上の色材の汚れが見えにくいという問題があった。
【0007】
本発明は、上記の従来技術における問題に鑑みてなされたものであって、記録媒体上の色材の汚れを見やすくすることを課題とする。
【課題を解決するための手段】
【0008】
上記課題を解決するため、請求項1に記載の発明は、記録媒体を収容する収容部と、前記収容された記録媒体に色材を用いて画像を形成する画像形成部と、前記画像が形成された記録媒体を搬送する搬送路と、前記収容部に収容された記録媒体の搬送により前記搬送路に付着した色材を回収することで、前記搬送路のクリーニングを実施する制御部と、を備え、前記制御部は、前記クリーニングを実施する場合に、前記収容部に収容された記録媒体の色情報に基づいて、前記クリーニングに用いる記録媒体を選択する、画像形成装置である。
【0009】
請求項2に記載の発明は、請求項1に記載の画像形成装置において、前記画像形成部により用いられた色材の色情報及び前記収容部に収容された記録媒体の色情報を記憶する記憶部を備え、前記制御部は、前記クリーニングを実施する場合に、前記色材の色情報及び前記収容部に収容された記録媒体の色情報に基づいて、前記クリーニングに用いる記録媒体を選択する。
【0010】
請求項3に記載の発明は、請求項1に記載の画像形成装置において、前記画像形成部は、特色の色材を用いて画像を形成し、前記制御部は、前記クリーニングを実施する場合に、前記特色とは異なる色の記録媒体を、前記クリーニングに用いる記録媒体として選択する。
(【0011】以降は省略されています)
この特許をJ-PlatPat(特許庁公式サイト)で参照する
関連特許
他の特許を見る