TOP
|
特許
|
意匠
|
商標
特許ウォッチ
Twitter
他の特許を見る
10個以上の画像は省略されています。
公開番号
2025177691
公報種別
公開特許公報(A)
公開日
2025-12-05
出願番号
2024084742
出願日
2024-05-24
発明の名称
画像形成システム、画像形成システムの収納部選択方法、および収納部選択プログラム
出願人
コニカミノルタ株式会社
代理人
弁理士法人磯野国際特許商標事務所
主分類
G03G
15/00 20060101AFI20251128BHJP(写真;映画;光波以外の波を使用する類似技術;電子写真;ホログラフイ)
要約
【課題】記録媒体の物性に基づいてトレイを選択することにより、印刷待ち時間を最短にすること。
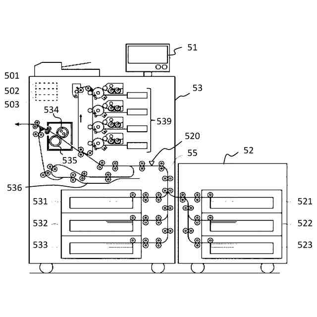
【解決手段】画像形成システム5は、用紙9を収納する複数の収納部521~523および給紙段531~533と、用紙9の物性を検知するメディアセンサ520と、印刷ジョブで指定された種類の用紙9を収納する複数の収納部が存在する場合、印刷ジョブが開始されるまでの時間がより短くなる物性の用紙9を収納する収納部を選択するCPU500と、を備えている。
【選択図】図1
特許請求の範囲
【請求項1】
記録媒体を収納する複数の収納部と、
前記記録媒体の物性情報を検知する物性検知部と、
印刷ジョブで指定された種類の記録媒体を収納する複数の収納部が存在する場合、前記印刷ジョブが開始されるまでの時間がより短くなる物性の記録媒体を収納する収納部を選択する制御部と、
を備える画像形成システム。
続きを表示(約 1,000 文字)
【請求項2】
前記制御部は、
前記印刷ジョブの開始前に、前記物性検知部によって、前記複数の収納部のそれぞれに収納された記録媒体の物性を検知する、
請求項1に記載の画像形成システム。
【請求項3】
前記制御部は、
前記印刷ジョブで指定された種類の記録媒体を収納する複数の収納部のうち、前記印刷ジョブが開始されるまでの時間が最も短くなる物性の記録媒体を収納する収納部を、選択する、
請求項1に記載の画像形成システム。
【請求項4】
前記制御部は、
前記印刷ジョブで指定された種類の記録媒体を収納する複数の収納部のうち、熱容量が最も小さい物性の記録媒体を収納する収納部を選択する、
請求項3に記載の画像形成システム。
【請求項5】
前記制御部は、
前記印刷ジョブで指定された種類の記録媒体であり、かつ熱容量が同程度である記録媒体を収納する複数の収納部が存在する場合に、記録媒体の積載量がより少ない収納部を、選択する、
請求項3に記載の画像形成システム。
【請求項6】
前記制御部は、
前記印刷ジョブで指定された種類の記録媒体であり、かつ熱容量が同程度である記録媒体を収納する複数の収納部が存在する場合に、記録媒体の積載時間がより長い収納部を、選択する、
請求項3に記載の画像形成システム。
【請求項7】
前記物性は、
前記記録媒体における水分量である、
請求項1に記載の画像形成システム。
【請求項8】
前記物性検知部は、
前記複数の収納部から記録媒体を画像形成部に搬送する搬送路上に配置される、
請求項1に記載の画像形成システム。
【請求項9】
前記制御部は、
前記印刷ジョブの開始前に、前記複数の収納部のそれぞれから前記記録媒体を給紙し、
前記物性検知部は、
当該複数の収納部のそれぞれの前記記録媒体の物性を検知する、
請求項8に記載の画像形成システム。
【請求項10】
前記物性検知部は、
前記複数の収納部のそれぞれに設けられ、
前記制御部は、
前記印刷ジョブの開始前に、前記複数の収納部のそれぞれに収納された前記記録媒体の物性を、各前記物性検知部に検知させる、
請求項1に記載の画像形成システム。
(【請求項11】以降は省略されています)
発明の詳細な説明
【技術分野】
【0001】
本発明は、画像形成システム、画像形成システムの収納部選択方法、および収納部選択プログラムに関する。
続きを表示(約 1,700 文字)
【背景技術】
【0002】
画像形成システムに関して、複数のトレイにそれぞれ異なる紙種の印刷用紙が収納されている場合を考える。画像形成システムは、印刷ジョブの実行指示を受けたとき、印刷ジョブで指定された紙種と同一の紙種の印刷用紙が格納されているトレイを選択して、選択したトレイから搬送した印刷用紙に印刷する。
【0003】
例えば、特許文献1の要約書には、「画像形成システムの制御部は、一の給紙トレイから供給された用紙の搬送中に当該一の給紙トレイに収納された用紙がなくなった場合、他の給紙トレイを選択し、当該他の給紙トレイに収納された用紙を、搬送部に搬送させる切替制御を行う。また、制御部は、上記切替制御を行うときに、物性測定部により測定された物性値であって、測定対象の用紙が収納された給紙トレイと対応付けられて給紙トレイ情報テーブルに記憶されている当該物性値に基づいて、当該他の給紙トレイを選択する。」旨が記載されている。
【先行技術文献】
【特許文献】
【0004】
特開2024-13号
【発明の概要】
【発明が解決しようとする課題】
【0005】
特許文献1に記載された画像形成システムでは、印刷ジョブ開始時に、ユーザがトレイを指定することで、指定されたトレイを選択して、このトレイに格納された印刷用紙に印刷している。
近年の画像形成システムは、印刷用紙の物性を検知する機能と、印刷用紙の物性に合わせて定着温度を自動調整する機能を有している。この画像形成システムが複数のトレイを有している場合、ユーザが、不適切な物性を有する印刷用紙が格納されたトレイを指定すると、画像形成システムによる定着温度の自動調整機能により印刷ジョブの開始が遅くなることがある。
【0006】
例えば、トレイに収納されている用紙が、開封された直後の場合と、トレイに収納されたのちに長時間が経過した場合とを比較すると、その用紙の含水率は異なる。その理由は、例えば、収納部の湿度が低いときに、用紙が収納部に長時間収納されていると、用紙が脱湿することで、水分が減少するためである。また、収納部の湿度が高いときに、用紙が収納部に長時間収納されていると、用紙が吸湿することで、水分が増加するためである。
【0007】
これにより、トレイに収納された用紙は、トレイごとに、または用紙が開封された時期ごとにそれぞれ用紙の含水率が異なっている。用紙の含水率が高いほど熱容量が大きく、よって高い定着温度を要する。そのため、各トレイに収納されている用紙の物性は、収納されたときから変わっていることがある。
【0008】
印刷ジョブを開始する際、印刷ジョブにて印刷する用紙の物性に応じて定着温度の調整時間が変化する。そのため、含水率が高いため、高い定着温度を要する物性の用紙の場合、画像形成システムは、定着温度の調整のため、印刷ジョブを実際に開始するまで、より長い時間を要する。そのため、ユーザの印刷待ち時間が増加する。
【0009】
更に、印刷ジョブの最中にトレイが空になり、異なる物性の用紙を格納したトレイに切り換えると、その用紙に適した定着温度(温調時間)も変わる。そのため、画像形成システムは、新たに選択したトレイに格納された用紙の物性を検知し、その物性に応じて定着温度を調整する。つまり、現在の定着温度に応じた印刷用紙の物性とは異なる物性を有する印刷用紙を格納するトレイを選択した場合、画像形成システムは、印刷ジョブを実際に再開するまで、所定の調整時間が掛かり、ユーザの印刷待ち時間が増加する。
【0010】
そこで、本発明は、記録媒体の物性に基づいてトレイを選択することにより、印刷待ち時間を最短にする、画像形成システム、画像形成システムの収納部選択方法、および収納部選択プログラムを提供することを課題とする。
【課題を解決するための手段】
(【0011】以降は省略されています)
この特許をJ-PlatPat(特許庁公式サイト)で参照する
関連特許
他の特許を見る