TOP
|
特許
|
意匠
|
商標
特許ウォッチ
Twitter
他の特許を見る
10個以上の画像は省略されています。
公開番号
2025178823
公報種別
公開特許公報(A)
公開日
2025-12-09
出願番号
2024085651
出願日
2024-05-27
発明の名称
光学装置及びその組み立て方法
出願人
コニカミノルタ株式会社
代理人
個人
主分類
G01J
3/50 20060101AFI20251202BHJP(測定;試験)
要約
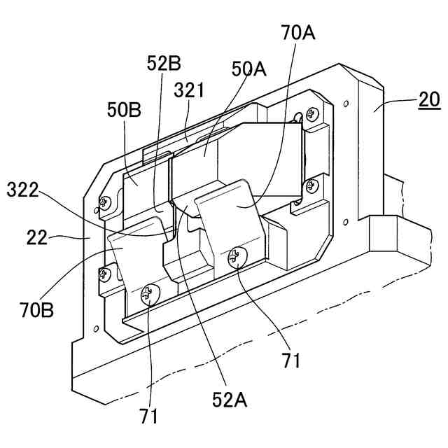
【課題】第1プリズムと第2プリズムを近接位置に確実に配置し保持でき、かつ両プリズムの接触による破損の恐れを少なくできる光学装置及びその組み立て方法を提供する。
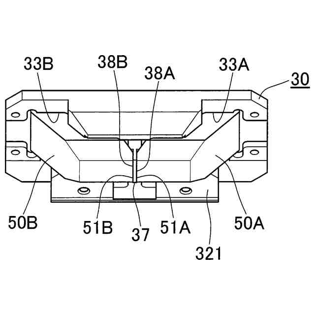
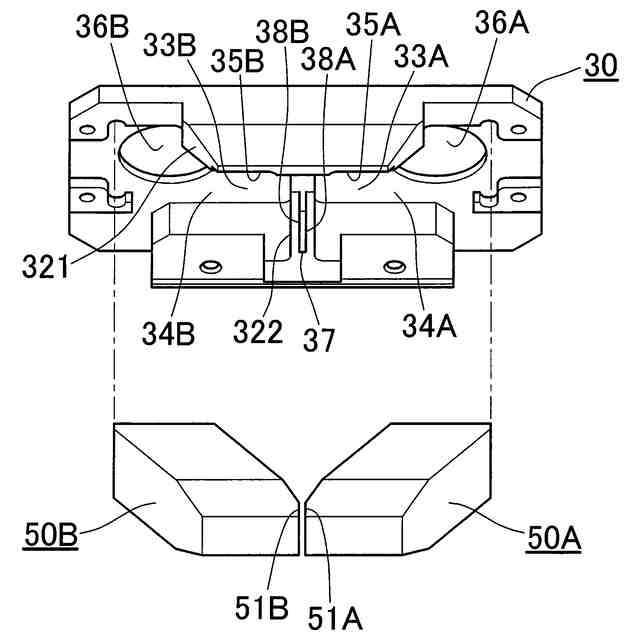
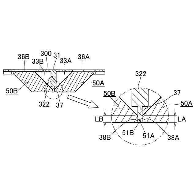
【解決手段】第1プリズム50Aは、第2プリズム50B側に第1光軸AX1に略平行な第1平面51Aを有し、第2プリズム50Bは、第1プリズム50A側に第2光軸AX2に略平行な第2平面51Bを有し、第1平面51Aと第2平面51Bが間隔規定部材37へ当接されることにより、第1平面51Aと第2平面51Bの間隔が規定された状態で、第1プリズム50Aと第2プリズム50Bがプリズムホルダー30に固定されている。
【選択図】図2
特許請求の範囲
【請求項1】
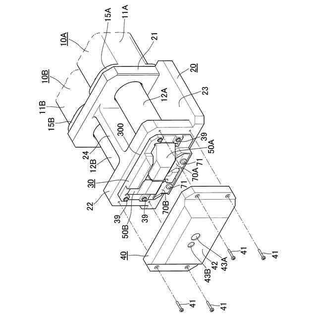
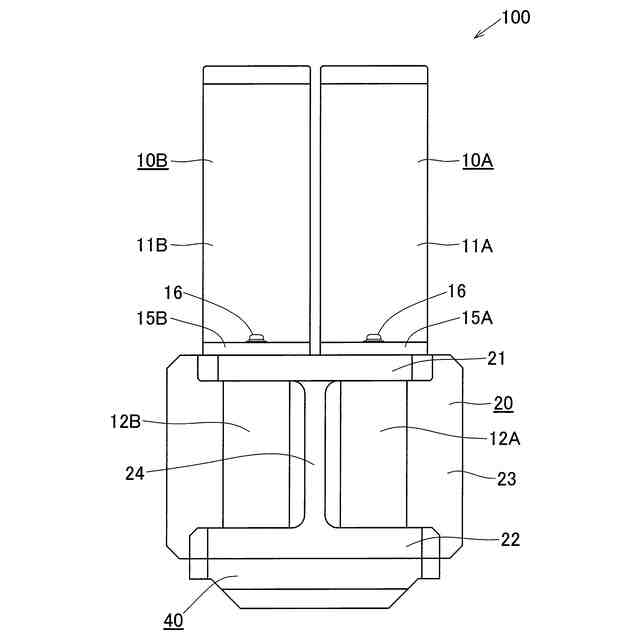
被測定物の第1部位からの光を受けるための第1測光部と、
前記第1部位からの光を前記第1測光部に集光するための最も物体側のレンズである第1レンズ、および、前記第1部位からの光を偏向させて、前記第1レンズに導く第1プリズムを有する第1光学ユニットと、
前記被測定物の第2部位からの光を受けるための第2測光部と、
前記第2部位からの光を前記第2測光部に集光するための最も物体側のレンズである第2レンズ、および、前記第2部位からの光を偏向させて、前記第2レンズに導く第2プリズムを有する第2光学ユニットと、
前記第1プリズムと前記第2プリズムを固定するプリズムホルダーを備え、
前記被測定物から前記第1プリズムに至る前記第1光学ユニットの第1光軸と、前記被測定物から前記第2プリズムに至る前記第2光学ユニットの第2光軸とが略平行である光学装置であって、
前記第1プリズムは、前記第2プリズム側に前記第1光軸に略平行な第1平面を有し、
前記第2プリズムは、前記第1プリズム側に前記第2光軸に略平行な第2平面を有し、
前記第1平面と第2平面が間隔規定部材へ当接されることにより、前記第1平面と第2平面の間隔が規定された状態で、前記第1プリズムと第2プリズムが前記プリズムホルダーに固定されていることを特徴とする光学装置。
続きを表示(約 870 文字)
【請求項2】
前記第1の平面の前記第1光軸方向の長さ、及び前記第2の平面の前記第2光軸方向の長さが、それぞれ0.5~5.0mmに設定されている請求項1に記載の光学装置。
【請求項3】
前記間隔規定部材は前記プリズムホルダーと一体に設けられている請求項1または2に記載の光学装置。
【請求項4】
前記間隔規定部材は前記プリズムホルダーとは別体で形成され、前記第1プリズムと第2プリズムが前記プリズムホルダーに固定された状態では取り外されている請求項1または2に記載の光学装置。
【請求項5】
前記プリズムはガラス材料からなる請求項1または2に記載の光学装置。
【請求項6】
前記プリズムホルダーは金属材料からなる請求項1または2に記載の光学装置。
【請求項7】
前記第1プリズムと前記第2プリズムは、プリズム押さえ部材によって前記プリズムホルダーに固定されている請求項1または2に記載の光学装置。
【請求項8】
前記プリズムホルダーは、前記第1及び第2プリズムと前記第1及び第2レンズとの間に位置し、前記第1及び第2光軸の方向に対して垂直な第1当接部を有すると共に、前記第1面から前記第1及び第2プリズムの側に前記第1及び第2光軸と平行に延びた第2当接部を有し、
前記第1及び第2プリズムは、それぞれ、前記プリズム押さえ部材の加圧力によって、前記第1当接部と第2当接部の両方に当接した状態で、前記プリズムホルダーに固定されている請求項7に記載の光学装置。
【請求項9】
前記プリズム押さえ部材は、前記第1及び第2プリズムの傾斜面を加圧する請求項8に記載の光学装置。
【請求項10】
前記第1レンズが固定された第1鏡胴と前記第2レンズが固定された第2鏡胴を有し、
前記第1鏡胴と前記第2鏡胴は、1つの鏡胴ホルダーで保持される請求項1または2に記載の光学装置。
(【請求項11】以降は省略されています)
発明の詳細な説明
【技術分野】
【0001】
この発明は、ディスプレイ等の被測定物からの光を受光して色や輝度等を測定する光学装置、及びこの光学装置の組み立て方法に関する。
続きを表示(約 1,300 文字)
【背景技術】
【0002】
近年、ディスプレイの分野において、Under Screen Camera(USC)と呼ばれる技術が開発されている。USCは、ディスプレイの背面にカメラモジュールを配置する技術である。この技術は、Under Display Cameraと呼ばれることもある。
【0003】
USCを採用したデバイスは、ディスプレイ越しにカメラを視認しづらい構成を有している。このようなデバイスでは、カメラと重なるディスプレイの部分(USC部と呼ぶ)が、カメラと重なっていないディスプレイの通常の部分(以下では通常部と称する)の構造とは異なる構造を有する。したがってディスプレイのγ調整では、USC部と通常部との各々に対してγ調整が必要である。
【0004】
さらに、タクトタイムを短縮するために、USC部と通常部との各々の輝度を同時に計測したいという要望がある。しかしながら、ディスプレイの面内には発光分布がある。このため、計測の対象となる通常部は、USC部にできるだけ近接した部位であることが望ましい。このような事情により、USC部と通常部との間の間隔が例えば10mmといった、近接した2つの部位の輝度を同時に計測することが求められている。
【0005】
上述の要望に応える技術として、プリズムを用いて近接した2つの部位の輝度を測定する光学装置が特許文献1に開示されている。
【0006】
この光学装置は、測光部と、第1光学ユニットと、測光部と、第2光学ユニットとを備える。第1光学ユニットは、最も物体側の第1レンズ、および、第1部位からの光を偏向させて第1レンズに導く第1プリズムを有する。第2光学ユニットは、最も物体側の第2レンズ、および、第2部位からの光を偏向させて、第2レンズに導く第2プリズムを有する。被測定物から第1プリズムに至る第1光学ユニットの第1光軸と、被測定物から第2プリズムに至る第2光学ユニットの第2光軸とが略平行であり、かつ、第1光軸と第2光軸との間の間隔が、第1レンズの中心と第2レンズの中心との間の距離よりも小さい、というものである。
【先行技術文献】
【特許文献】
【0007】
国際公開第2022/030292号公報
【発明の概要】
【発明が解決しようとする課題】
【0008】
上述の特許文献1では、第1プリズムと第2プリズムを最適位置にどのようにして近接配置しかつ保持するのかについては記載されていない。
【0009】
また、第1プリズムと第2プリズムを近接配置するときに、両プリズムの対向する鋭角の角部(エッジ部)が接触して、プリズムが破損しやすいという課題もある。
【0010】
この発明は、第1プリズムと第2プリズムを近接位置に確実に配置し保持でき、かつ両プリズムの接触による破損の恐れを少なくできる光学装置及びその組み立て方法の提供を目的とする。
【課題を解決するための手段】
(【0011】以降は省略されています)
この特許をJ-PlatPat(特許庁公式サイト)で参照する
関連特許
コニカミノルタ株式会社
校正装置
今日
コニカミノルタ株式会社
画像形成方法
13日前
コニカミノルタ株式会社
画像形成方法
今日
コニカミノルタ株式会社
画像形成装置
7日前
コニカミノルタ株式会社
画像処理装置
5日前
コニカミノルタ株式会社
画像形成装置
1日前
コニカミノルタ株式会社
画像形成方法
5日前
コニカミノルタ株式会社
画像形成システム
7日前
コニカミノルタ株式会社
画像形成システム
5日前
コニカミノルタ株式会社
検品装置および検品方法
5日前
コニカミノルタ株式会社
後処理装置および画像形成装置
今日
コニカミノルタ株式会社
保持シート、及び画像形成装置
6日前
コニカミノルタ株式会社
光学装置及びその組み立て方法
1日前
コニカミノルタ株式会社
潤滑剤塗布装置及び画像形成装置
5日前
コニカミノルタ株式会社
給紙カセットおよび画像形成装置
14日前
コニカミノルタ株式会社
画像形成方法及び画像形成システム
5日前
コニカミノルタ株式会社
用紙搬送装置および用紙搬送システム
12日前
コニカミノルタ株式会社
印刷装置及び印刷装置のメンテナンス方法
12日前
コニカミノルタ株式会社
液体吐出装置、信号検知方法及びプログラム
5日前
コニカミノルタ株式会社
動態撮影装置及び息止め不良判定プログラム
12日前
コニカミノルタ株式会社
画像形成装置、用紙管理方法及びプログラム
5日前
コニカミノルタ株式会社
画像形成装置、調整方法および調整プログラム
5日前
コニカミノルタ株式会社
画像形成システム、排出方法およびプログラム
1日前
コニカミノルタ株式会社
超音波診断装置、画像表示方法及びプログラム
12日前
コニカミノルタ株式会社
ジョブ実行システム、制御方法、及びプログラム
5日前
コニカミノルタ株式会社
超音波診断装置、プログラム及び超音波診断方法
12日前
コニカミノルタ株式会社
画像読取装置、画像形成システム及びプログラム
12日前
コニカミノルタ株式会社
画像形成システム、画像形成方法及びプログラム
5日前
コニカミノルタ株式会社
用紙特性検出装置、画像形成システム及びプログラム
1日前
コニカミノルタ株式会社
定着装置、画像形成装置、制御方法及び制御プログラム
12日前
コニカミノルタ株式会社
画像形成装置、および画像形成装置のクリーニング方法
5日前
コニカミノルタ株式会社
画像形成装置、連結治具および画像形成装置の製造方法
5日前
コニカミノルタ株式会社
文書作成支援装置、文書作成支援方法、及び、プログラム
5日前
コニカミノルタ株式会社
情報処理装置、情報処理方法、および情報処理プログラム
今日
コニカミノルタ株式会社
捺染布帛の製造方法、インクジェット捺染装置、及びインク
7日前
コニカミノルタ株式会社
画像形成装置並びに交換部品損傷度判定方法及びプログラム
5日前
続きを見る
他の特許を見る