TOP
|
特許
|
意匠
|
商標
特許ウォッチ
Twitter
他の特許を見る
公開番号
2025172610
公報種別
公開特許公報(A)
公開日
2025-11-26
出願番号
2024078214
出願日
2024-05-13
発明の名称
ヒートポンプ装置
出願人
パナソニックIPマネジメント株式会社
代理人
弁理士法人クシブチ国際特許事務所
主分類
F25B
49/02 20060101AFI20251118BHJP(冷凍または冷却;加熱と冷凍との組み合わせシステム;ヒートポンプシステム;氷の製造または貯蔵;気体の液化または固体化)
要約
【課題】本開示は、電装ボックスの密閉性を確保し易いヒートポンプ装置を提供する。
【解決手段】本開示におけるヒートポンプ装置は、基板を格納する電装ボックスを備え、電装ボックスは、配線を電装ボックスの内部に引き込む配線中継モジュールを有し、配線中継モジュールは、電装ボックスの内部と外部とを連通させる挿入開口部と、挿入開口部に対して第1方向に向けて挿入されて嵌合し、配線をシールして保持する配線ブロックと、を有し、挿入開口部の内面は、第1方向に向けて挿入開口部の断面積が小さくなる方向に傾斜し、配線ブロックの第1方向側の端部よりも第1方向側まで延長する。
【選択図】図7
特許請求の範囲
【請求項1】
基板を格納する電装ボックスを備え、
前記電装ボックスは、配線を前記電装ボックスの内部に引き込む配線中継モジュールを有し、
前記配線中継モジュールは、
前記電装ボックスの内部と外部とを連通させる挿入開口部と、
前記挿入開口部に対して第1方向に向けて挿入されて嵌合し、前記配線をシールして保持する配線ブロックと、を有し、
前記挿入開口部の内面は、前記第1方向に向けて前記挿入開口部の断面積が小さくなる方向に傾斜し、前記配線ブロックの前記第1方向側の端部よりも前記第1方向側まで延長する、
ヒートポンプ装置。
続きを表示(約 370 文字)
【請求項2】
前記配線ブロックは、
凹部が形成された第2スリーブと、
前記凹部に嵌合する第1スリーブと、を備え、
前記凹部の内面は、前記第1方向に向けて前記凹部の幅が小さくなる方向に傾斜し、
前記第1スリーブには、前記凹部の内側に、前記配線をシールして保持する溝部が形成される、
請求項1に記載のヒートポンプ装置。
【請求項3】
前記第2スリーブは樹脂製であり、
前記第1スリーブはゴム製である、
請求項2に記載のヒートポンプ装置。
【請求項4】
前記第1方向は、下方であり、
前記挿入開口部の下端には、前記配線ブロックの下端から下方に離間し、前記挿入開口部の中心側に向けて突出する底部が形成される、
請求項1に記載のヒートポンプ装置。
発明の詳細な説明
【技術分野】
【0001】
本開示は、ヒートポンプ装置に関する。
続きを表示(約 1,700 文字)
【背景技術】
【0002】
特許文献1は、可燃性の冷媒を用いる空気調和機の室外機を開示する。この空気調和機の室外機は、筐体内の上部に、電気品箱を備える。
【先行技術文献】
【特許文献】
【0003】
特開2015-55455号公報
【発明の概要】
【発明が解決しようとする課題】
【0004】
本開示は、電装ボックスの密閉性を確保し易いヒートポンプ装置を提供する。
【課題を解決するための手段】
【0005】
本開示におけるヒートポンプ装置は、基板を格納する電装ボックスを備え、前記電装ボックスは、配線を前記電装ボックスの内部に引き込む配線中継モジュールを有し、前記配線中継モジュールは、前記電装ボックスの内部と外部とを連通させる挿入開口部と、前記挿入開口部に対して第1方向に向けて挿入されて嵌合し、前記配線をシールして保持する配線ブロックと、を有し、前記挿入開口部の内面は、前記第1方向に向けて前記挿入開口部の断面積が小さくなる方向に傾斜し、前記配線ブロックの前記第1方向側の端部よりも前記第1方向側まで延長する。
【発明の効果】
【0006】
本開示における製造時における配線ブロック又は挿入開口部の寸法、材質のバラつきに依らず、配線ブロックを挿入開口部に対して挿入する際に配線ブロックを押し込む力の大きさを管理することにより、配線を隙間なくシールし易くできる。このため、電装ボックスの密閉性を確保し易くできる。
【図面の簡単な説明】
【0007】
実施の形態1に係る温水給湯暖房機の冷媒回路および水回路を示す図
室外ユニットの内部を示す斜視図
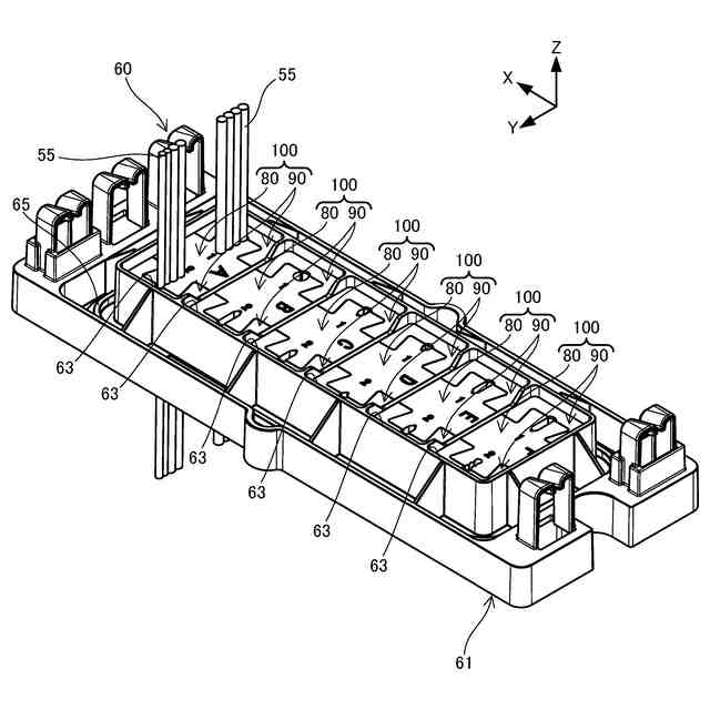
電装ボックスの分解斜視図
配線中継モジュールの斜視図
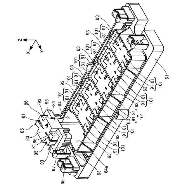
配線中継モジュールの分解斜視図
配線中継モジュールの平面図
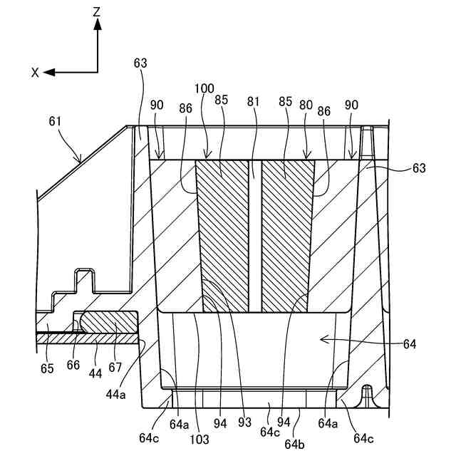
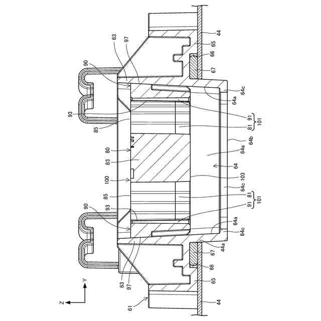
図6のVII-VII断面視図
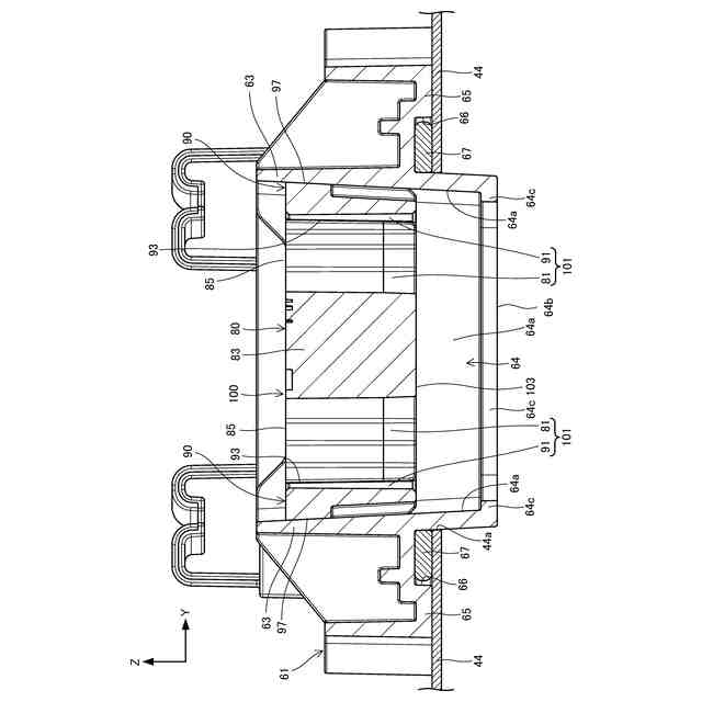
図6のVIII-VIII断面視図
【発明を実施するための形態】
【0008】
(本開示の基礎となった知見等)
発明者らが本開示に想到するに至った当時、ヒートポンプ装置という技術は、冷媒回路に環境負荷が小さい冷媒を採用することが求められるという状況であった。そのため、当該業界では、環境負荷が小さい冷媒の多くは微燃性または可燃性があることを課題として、基板等を格納した電装ボックスの密閉性を高め、冷媒が冷媒回路から漏洩した場合でも、電装ボックスに侵入しない構成とする技術が提案されていた。そうした状況下において、発明者らは、電装ボックスの内外に亘る配線を通す部分には隙間ができやすい、という課題があることを発見し、その課題を解決するために、本開示の主題を構成するに至った。
本開示は、電装ボックスの密閉性を確保し易いヒートポンプ装置を提供する。
【0009】
以下、図面を参照しながら、実施の形態を詳細に説明する。但し、必要以上に詳細な説明は省略する場合がある。例えば、既によく知られた事項の詳細説明、または、実質的に同一の構成に対する重複説明を省略する場合がある。これは、以下の説明が必要以上に冗長になるのを避け、当業者の理解を容易にするためである。
なお、添付図面および以下の説明は、当業者が本開示を十分に理解するために提供されるのであって、これらにより特許請求の範囲に記載の主題を限定することを意図していない。
【0010】
(実施の形態1)
以下、図面を用いて、実施の形態1を説明する。
[1-1.構成]
[1-1-1.冷凍回路の構成]
図1は、実施の形態1に係る温水給湯暖房機1の冷媒回路Rおよび水回路Wを示す図である。温水給湯暖房機1は、主に屋外に設けられる室外ユニット10と、主に室内等の被調和空間に設けられる室内ユニット70と、を有している。室外ユニット10は、本開示における「ヒートポンプ装置」の一例である。
(【0011】以降は省略されています)
この特許をJ-PlatPat(特許庁公式サイト)で参照する
関連特許
個人
製氷容器
13日前
株式会社不二工機
膨張弁
1か月前
株式会社不二工機
膨張弁
1か月前
株式会社不二工機
膨張弁
1日前
株式会社ツインバード
保冷庫
今日
アクア株式会社
冷蔵庫
21日前
アクア株式会社
冷蔵庫
21日前
ホシザキ株式会社
冷凍装置
1か月前
富士電機株式会社
冷却装置
13日前
フクシマガリレイ株式会社
断熱扉
1か月前
富士電機株式会社
自動販売機
1か月前
フクシマガリレイ株式会社
冷却貯蔵庫
1か月前
フクシマガリレイ株式会社
冷却貯蔵庫
1か月前
ダイキン工業株式会社
冷凍装置
2か月前
株式会社ゼロカラ
冷凍装置
29日前
株式会社ゼロカラ
冷凍装置
29日前
フクシマガリレイ株式会社
ショーケース
2か月前
株式会社フィラディス
ワインセラー
6日前
ダイキン工業株式会社
冷媒充填方法
2か月前
株式会社フィラディス
ワインセラー
21日前
トヨタ自動車株式会社
冷凍回路
今日
FrostiX株式会社
冷凍システム
14日前
シャープ株式会社
冷蔵庫
今日
フクシマガリレイ株式会社
商品販売システム
1か月前
アクア株式会社
冷却ボックス装置
1か月前
アイ・ティ・イー株式会社
相変化判定システム
21日前
三菱電機株式会社
冷蔵庫
21日前
アクア株式会社
冷却ボックス装置
1か月前
株式会社富士通ゼネラル
冷凍サイクル装置
2か月前
株式会社富士通ゼネラル
冷凍サイクル装置
2か月前
株式会社富士通ゼネラル
冷凍サイクル装置
1か月前
株式会社前川製作所
冷却装置
2か月前
東芝ライフスタイル株式会社
冷蔵庫
8日前
日本碍子株式会社
空調システム
1か月前
株式会社MARS Company
ドラム式製氷機
14日前
三菱電機株式会社
冷凍冷蔵庫
6日前
続きを見る
他の特許を見る