TOP
|
特許
|
意匠
|
商標
特許ウォッチ
Twitter
他の特許を見る
公開番号
2025172226
公報種別
公開特許公報(A)
公開日
2025-11-20
出願番号
2025157068,2021166089
出願日
2025-09-22,2021-10-08
発明の名称
パッキン一体型逆止弁
出願人
前澤給装工業株式会社
代理人
個人
,
個人
,
個人
主分類
G01F
1/06 20060101AFI20251113BHJP(測定;試験)
要約
【課題】水道メーターの上流側直近に逆止弁を取付ける場合、パッキン一体型逆止弁の逆止弁体がわずかに開いた状態においては、逆止弁軸の後端によって水の流れが妨げられ、水流が乱れることで、水道メーターの器差が検定公差を超えてしまう問題があった。
【解決手段】逆止弁体弁軸後端の所定長さ部をテーパー・R等の形状を用いてに徐々に細くする、或いは、パッキン取付け部材の孔部に通す弁軸の断面形状を+形状として軸外表に溝状の凹陥を形成すると共に、2次側に向けて先細りの形状に構成した。
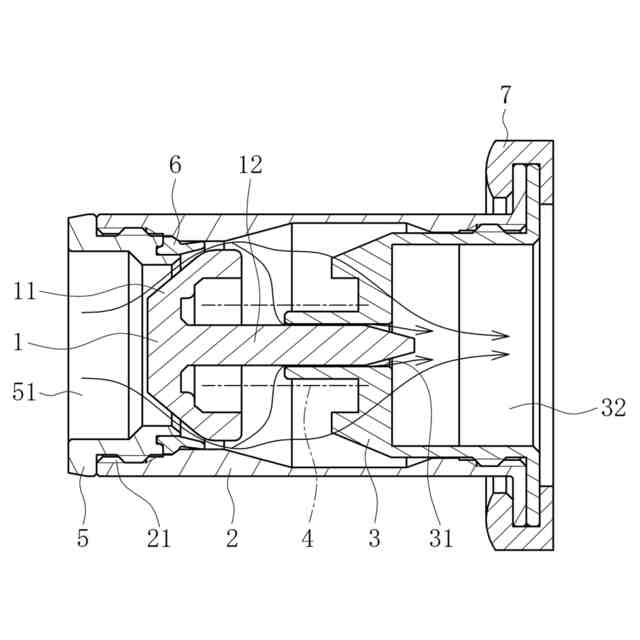
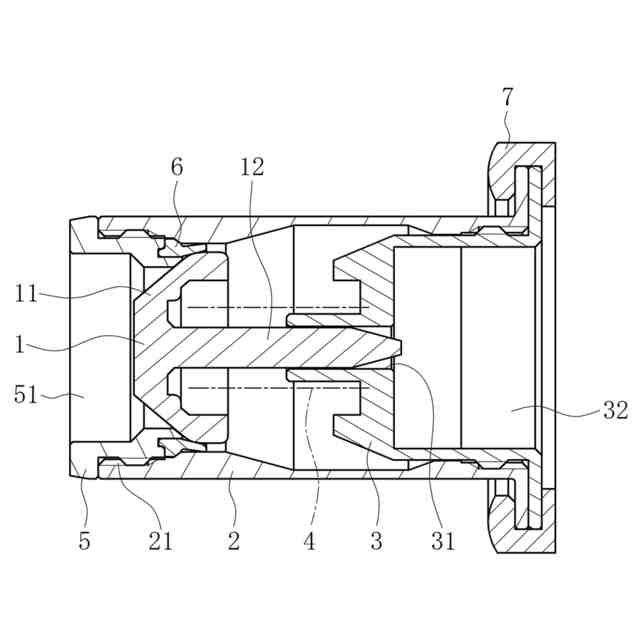
【選択図】図1
特許請求の範囲
【請求項1】
逆止弁体と、
前記逆止弁体の1次側に設けられた逆止弁座と、
前記逆止弁体の2次側に設けられ、水道メーターに当接するパッキンを支持すると共に、前記逆止弁体を支持するパッキン取付け部材と、を備え、
前記逆止弁体は、
1次側の前記逆止弁座に向けて付勢される弁傘と、前記弁傘から2次側に向けて伸びる弁軸とを有し、前記弁軸が前記パッキン取付け部材を貫通する弁軸摺動支持孔に摺動可能に挿入された状態で、前記パッキン取付け部材により支持され、
前記弁軸の2次側の先端部分は、2次側に向かうに従い徐々に細く形成されている、
パッキン一体型逆止弁。
続きを表示(約 160 文字)
【請求項2】
前記弁軸の2次側の先端部分は、軸方向に平行な断面形状が、2次側に向かうに従い縮径するテーパー状に形成されている、
請求項2に記載のパッキン一体型逆止弁。
【請求項3】
前記弁軸は、軸方向に垂直な断面形状が、+形状に形成されている、
請求項3に記載のパッキン一体型逆止弁。
発明の詳細な説明
【技術分野】
【0001】
本発明は、平成17年3月、特定計量器(水道メーター・温水メーター等)の検定検査規則の改正に伴い注目されるようになったメーター機器に設定される逆止弁等の流量計測に与える影響について、その低減を図るための逆止弁の弁軸を備えたパッキン一体型逆止弁に関するものである。
続きを表示(約 1,900 文字)
【背景技術】
【0002】
水道メーターの計量要件については、JIS B 8570-2に記載があり、定格最大流量Q3[m3/h]を選択し、この流量から定格最小流量Q1[m3/h]を求めるためQ3/Q1の比を選択、ここから転移流量Q2[m3/h]はQ2/Q1=1.6で求めることとされている。
【0003】
水道メーターの器差検定は次の3点の流量にて計測する。
1) Q1と1.1×Q1との間 (検定公差±5%)
2) Q2と1.1×Q2との間 (検定公差±2%)
3) 0.9×Q3とQ3との間 (検定公差±2%)
例えば、呼び径13の場合、Q3=2.5[m3/h]としQ3/Q1=100とすると、Q1=0.025[m3/h]、Q2=0.04[m3/h]となる。これらの流量値より1) 2) 3)で確認を行い、器差が検定公差内であることを確認した水道メーターが出荷される。
パッキン一体型逆止弁を水道メーター直近の上流側に設置した試験の結果、特に1) 2)の近傍の流量で器差が大きくなり、検定公差(基準)を超える場合があることが判明している。
【0004】
上記のQ1とQ2の流量を単位換算すると、
Q1=0.025[m3/h]≒0.417[L/min]
Q2=0.04[m3/h]≒0.667[L/min]
となり、Q1とQ2の流量は1[L/min]未満である。
日本水道協会規格JWWA B 129「水道用逆流防止弁」の呼び径13の基準流量16[L/min]と比べ、微小な流量でありパッキン一体型逆止弁の逆止弁体がわずかに開いた状態であり、このわずかに開いた状態では、弁軸の後端によって水の流れが妨げられ、水流が乱れることで、水道メーターの器差が検定公差を超えてしまうことがあることが判明した。
【0005】
水道メーターの流量計測と器差調整については、例えば特許文献1においては、調整盤に回転可能に支持された抵抗板の回転数によって計測し、抵抗板の支持位置を調整することによって器差調整を行うことが提案され、特許文献2においては、水道メーター内の流路を流れる水量に応じたデジタル(パルス)信号を取得することによって、より細かい単位で使用した水量を把握することが提案されている。
【先行技術文献】
【特許文献】
【0006】
特開平7-270201号公報
特開2021-76390号公報
【発明の概要】
【発明が解決しようとする課題】
【0007】
しかしながら、前記特定計量器(水道メーター・温水メーター等)の検定検査規則の改正に伴い、JIS規格による圧力損失基準が採用されることによって、前記のような水道メーターに、逆流防止のために設定される逆止弁、特に、水道メーター直近の上流に設置される逆止弁の水流に対する影響が問題となる。
【0008】
従来の水道メーターの下流側直近に逆止弁を取付ける場合、水道メーターに流入する水に影響を与える要素はないので、基準を超える器差(メーター内を実際に通過した量に対して、メーターが示す量の差)は発生しない。
【0009】
しかしながら、前記1) Q1と1.1×Q1との間 (検定公差±5%)、2) Q2と1.1×Q2との間 (検定公差±2%)の近傍の流量で器差が大きくなり、検定公差(基準)を超える場合があることが、試験の結果判明している。
Q1とQ2の流量は、単位換算により、Q1は 0.025[m3/h]≒0.417[L/min]、Q2は 0.04[m3/h]≒0.667[L/min] となり、何れも、1[L/min]未満である。
【0010】
日本水道協会規格JWWA B 129「水道用逆流防止弁」の呼び径13の基準流量16[L/min]と比べ、微小な流量でありパッキン一体型逆止弁の逆止弁体がわずかに開いた状態であり、このわずかに開いた状態では、弁軸の後端によって水の流れが妨げられ、水流が乱れることで、水道メーターの器差が検定公差を超えてしまうものであるが、水道メーターに基準を超える器差が発生すると、水道メーターで計測された水量により水道使用者に対して水道料金が請求されるので、水道使用者に対して水道料金の過大請求や過少請求が発生し、水道料金請求システムに対する公明さと信用が失われるという大きな問題にも繋がるものである。
【課題を解決するための手段】
(【0011】以降は省略されています)
この特許をJ-PlatPat(特許庁公式サイト)で参照する
関連特許
前澤給装工業株式会社
絶縁スリーブ
5か月前
前澤給装工業株式会社
パッキン一体型逆止弁
2日前
個人
採尿及び採便具
23日前
日本精機株式会社
検出装置
17日前
個人
計量機能付き容器
12日前
個人
高精度同時多点測定装置
1か月前
個人
アクセサリー型テスター
1か月前
株式会社ミツトヨ
測定器
29日前
株式会社カクマル
境界杭
2日前
甲神電機株式会社
電流検出装置
17日前
アズビル株式会社
電磁流量計
1か月前
株式会社ヨコオ
ソケット
1か月前
ダイキン工業株式会社
監視装置
1か月前
トヨタ自動車株式会社
監視装置
1か月前
大成建設株式会社
風洞実験装置
12日前
TDK株式会社
磁気センサ
1か月前
個人
システム、装置及び実験方法
1か月前
日本特殊陶業株式会社
ガスセンサ
10日前
愛知時計電機株式会社
ガスメータ
29日前
個人
非接触による電磁パルスの測定方法
15日前
ローム株式会社
半導体装置
1か月前
日本信号株式会社
距離画像センサ
15日前
長崎県
形状計測方法
1か月前
愛知電機株式会社
軸部材の外観検査装置
26日前
大和製衡株式会社
組合せ計量装置
26日前
大和製衡株式会社
組合せ計量装置
26日前
ローム株式会社
半導体装置
1か月前
双庸電子株式会社
誤配線検査装置
18日前
個人
計量具及び計量機能付き容器
12日前
キーコム株式会社
画像作成システム
2日前
日東精工株式会社
振動波形検査装置
18日前
中国電力株式会社
電柱管理システム
1か月前
個人
液位検視及び品質監視システム
10日前
三恵技研工業株式会社
融雪レドーム
1か月前
日本特殊陶業株式会社
センサ
1か月前
日本特殊陶業株式会社
センサ
1か月前
続きを見る
他の特許を見る