TOP
|
特許
|
意匠
|
商標
特許ウォッチ
Twitter
他の特許を見る
10個以上の画像は省略されています。
公開番号
2025171925
公報種別
公開特許公報(A)
公開日
2025-11-20
出願番号
2024194061
出願日
2024-11-06
発明の名称
ラック取り付けキット
出願人
川湖科技股分有限公司
,
川益科技股ふん有限公司
代理人
弁理士法人ITOH
主分類
H05K
7/18 20060101AFI20251113BHJP(他に分類されない電気技術)
要約
【課題】操作上の利便性が向上したラック取り付けキットを提供する。
【解決手段】ラック取り付けキット20が提供され、フレーム22およびハンドル24を含む。フレーム22は、取り付け機構26を含む。ハンドル24は、フレーム22上に移動可能に取り付けられ、位置決め機構28を含む。ハンドル24がロック状態K1にあるとき、ハンドル24の位置決め機構28およびフレーム22の取り付け機構26の両方は、ラック取り付けキット20がラックに取り付けられることを可能にするための取り付け方向に向く。ハンドル24がロック状態K1からロック解除状態に移動すると、ハンドル24の位置決め機構28は、ハンドル24がユーザによって保持されることを可能にするために、取り付け方向とは異なる操作方向に向く。
【選択図】図1
特許請求の範囲
【請求項1】
ラック取り付けキットであって、
取り付け機構を備えるフレームと、
前記フレーム上に移動可能に取り付けられ、位置決め機構を備えるハンドルと
を特徴とし、
前記ハンドルがロック状態にあるとき、前記ハンドルの前記位置決め機構と前記フレームの前記取り付け機構の両方が取り付け方向に向き、
前記ハンドルが前記ロック状態からロック解除状態に移動すると、前記ハンドルの前記位置決め機構は、前記ハンドルがユーザによって保持されることを可能にするために、前記取り付け方向とは異なる操作方向に向く、
ラック取り付けキット。
続きを表示(約 2,000 文字)
【請求項2】
前記ハンドルが、
前記フレームに枢動可能に取り付けられた第1の端部と、
第2の端部と、
前記第1の端部と前記第2の端部との間に位置する保持部と
を備えることを特徴とする、請求項1に記載のラック取り付けキット。
【請求項3】
前記フレーム上に配置された弾性部材をさらに特徴とし、前記弾性部材は、第1の保持部を備え、前記ハンドルの前記第2の端部は、第2の保持部を備え、前記第1の保持部および前記第2の保持部は、前記ハンドルが前記フレームに対して前記ロック状態に保持されるように互いに係合し、前記弾性部材は、前記第1の保持部に隣接して位置する操作部と弾性アーム部とをさらに備え、前記操作部は、前記ハンドルが前記ロック状態から解放されるように、前記第1の保持部および前記第2の保持部を駆動して互いに係合解除するように操作されるように構成され、前記弾性アーム部は、前記ハンドルが前記ロック状態から解放されると、前記ハンドルを駆動して前記ロック状態から係合解除するための弾発力を発生させるように構成される、請求項2に記載のラック取り付けキット。
【請求項4】
前記弾性部材および前記ハンドルの前記第2の端部のうちの一方がガイド機構を備え、前記ハンドルが前記ロック解除状態から前記ロック状態に移動すると、前記ハンドルの前記第2の端部と前記弾性部材とが、前記ガイド機構によって互いに当接して、前記ハンドルの前記第2の保持部を前記弾性部材の前記第1の保持部と係合するようにガイドし、前記ハンドルを前記ロック状態に保持することを特徴とする、請求項3に記載のラック取り付けキット。
【請求項5】
補助部材と、第1の弾力性部材と、第2の弾力性部材とをさらに特徴とし、前記補助部材は、前記フレームに移動可能に取り付けられ、前記フレームに対して第1の所定の位置と第2の所定の位置との間で切り替え可能であり、前記補助部材は、第1の保持部を備え、前記ハンドルの前記第2の端部は、第2の保持部を備え、前記ハンドルが前記ロック状態にあり、前記補助部材が前記第1の所定の位置に位置するとき、前記第1の保持部および前記第2の保持部は、前記ハンドルを前記ロック状態に保持するために互いに係合し、前記補助部材が前記第2の所定の位置に位置するとき、前記第1の保持部および前記第2の保持部は、前記ハンドルが前記ロック状態から前記ロック解除状態に移動することを可能にするために互いに係合解除し、前記第1の弾力性部材は、前記ハンドルを駆動して前記ロック状態から前記ロック解除状態に移動させるための弾性力を発生させるように構成され、前記第2の弾力性部材は、前記補助部材を前記第1の所定の位置に弾性的に保持するための弾性力を発生させるように構成される、請求項2に記載のラック取り付けキット。
【請求項6】
前記ハンドルの前記位置決め機構が、前記ハンドルの前記第1の端部に隣接して位置することを特徴とする、請求項2に記載のラック取り付けキット。
【請求項7】
前記ハンドルが前記フレームに対して前記ロック状態にあるとき、前記ラック取り付けキットがラックに適合され、前記取り付け機構および前記位置決め機構は、前記ハンドルが前記フレームに対して前記ロック状態から解放されたときに、前記フレームが前記ラックから取り外されることを協働して抑制するために、それぞれ第1の取り付け位置および第2の取り付け位置に位置し、前記位置決め機構は、前記フレームが前記ラックから取り外されることを可能にするために前記第2の取り付け位置から離れるように構成される、請求項1から6のいずれか一項に記載のラック取り付けキット。
【請求項8】
前記フレームは、複数の壁によって画定される貫通孔構造を備え、前記貫通孔構造および前記ハンドルは、前記ユーザの両手によって保持されるように構成されることを特徴とする、請求項1から6のいずれか一項に記載のラック取り付けキット。
【請求項9】
前記ハンドルは、前記フレームの第1の側に隣接して位置し、前記ハンドルの前記位置決め機構が前記操作方向に向くとき、前記ハンドルの前記位置決め機構は、前記フレームの前記第1の側および前記フレームの前記第1の側に対向する前記フレームの第2の側と連通する前記フレーム上の貫通構造を通過せず、前記フレームの前記第1の側に対向する前記フレームの前記第2の側から突出しないことを特徴とする、請求項1から6のいずれか一項に記載のラック取り付けキット。
【請求項10】
前記操作方向は、前記取り付け方向に垂直であり、前記ハンドルの前記位置決め機構が前記操作方向に向くとき、前記ロック解除状態にある前記ハンドルの延在方向は、横断方向に対して平行であることを特徴とする、請求項1から6のいずれか一項に記載のラック取り付けキット。
発明の詳細な説明
【技術分野】
【0001】
本発明は、請求項1の前提部分に記載のラック取り付けキットに関する。
続きを表示(約 2,400 文字)
【背景技術】
【0002】
米国特許第11,647,836号明細書には、ラックに適したスライドレールキットが開示されている。ラックは、少なくとも1つの取り付け構造を含む。少なくとも1つの取り付け構造は、第1の所定の部分および第2の所定の部分を含む。スライドレールキットは、レール部材およびフレームを含む。フレームは、レール部材上に配置される。フレームは、第1の取り付け機構および第2の取り付け機構を含む。第1の取り付け機構は、第1の所定の部分に取り付けられるように構成される。第2の取り付け機構は、弾性部材(resilient member)と、弾性部材上に配置された取り付け部材とを含む。取り付け部材は、弾性部材によって生じる弾発力に応答して第2の所定の部分に取り付けられるように構成される。
【0003】
米国特許第11,647,836号明細書では、ユーザが片方の手で弾性部材を操作して第2の取り付け機構および第1の取り付け機構の取り付け部材をラックから係合解除するとき、ユーザは、スライドレールキットが落下するのを防止するためにもう他方の手でスライドレールキットを支持する必要がある。
【0004】
しかしながら、様々な要件を満たすためには、異なる製品を提供することが重要なトピックになる。
【発明の概要】
【0005】
そこで本発明は、操作上の利便性が向上したラック取り付けキットを提供することを目的とする。
【0006】
これは、請求項1に記載のラック取り付けキットによって達成される。従属請求項は、対応するさらなる発展および改良に関する。
【0007】
以下の詳細な説明からより明確に分かるように、特許請求されるラック取り付けキットは、フレームとハンドルとを含む。フレームは、取り付け機構を含む。ハンドルは、フレーム上に移動可能に取り付けられ、位置決め機構を含む。ハンドルがロック状態にあるとき、ハンドルの位置決め機構およびフレームの取り付け機構の両方が取り付け方向に向く。ハンドルがロック状態からロック解除状態に移動すると、ハンドルの位置決め機構は、ユーザがハンドルを保持することができるようにするために、取り付け方向とは異なる操作方向に向く。
【0008】
要約すると、本発明では、ロック状態にあるハンドルは、ラックに対するラック取り付けキットの取り外しを抑制することができ、ラックに対するラック取り付けキットの取り外しを可能にするためにハンドルがロック状態からロック解除状態に移動すると、ロック解除状態にあるハンドルは、力を加えやすいようにユーザが保持することができる。したがって、本発明は、操作上の利便性が向上している。
【0009】
本発明のこれらおよび他の目的は、様々な図および図面に示される好ましい実施形態の以下の詳細な説明を読んだ後に、当業者には疑いなく明らかになるであろう。
【図面の簡単な説明】
【0010】
以下において、本発明は、添付の図面を参照して、例としてさらに説明される。
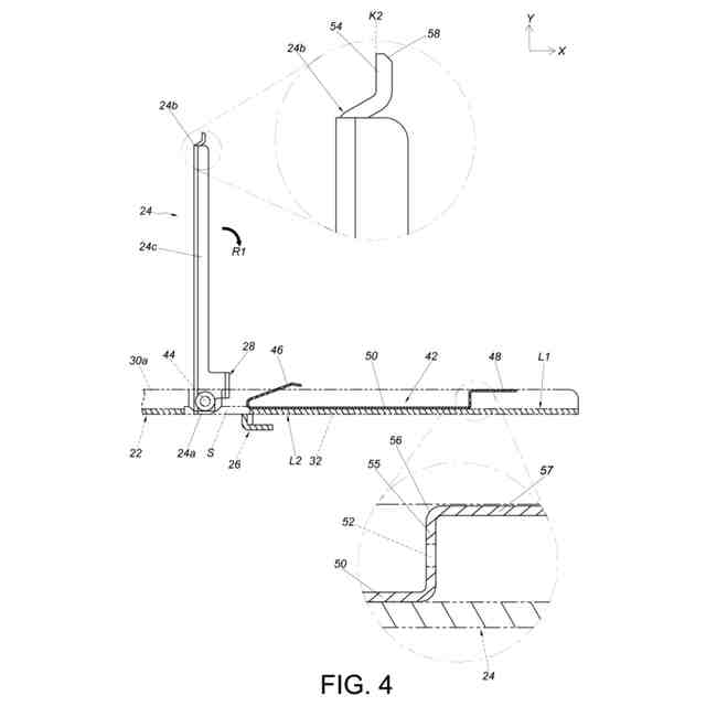
本発明の第1の実施形態による、ハンドルがロック状態にあるときのラック取り付けキットのある視点からの概略図である。
本発明の第1の実施形態による、ハンドルがロック状態にあるときのラック取り付けキットの別の視点からの概略図である。
本発明の第1の実施形態による、ハンドルがロック解除状態にあるときのラック取り付けキットの概略図である。
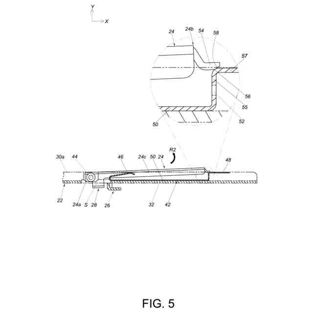
本発明の第1の実施形態による、ハンドルがロック解除状態にあるときのラック取り付けキットの部分図である。
本発明の第1の実施形態による、ハンドルがロック解除状態からロック状態に向かって移動するときのラック取り付けキットの部分図である。
本発明の第1の実施形態による、ハンドルがロック状態にあるときのラック取り付けキットの部分図である。
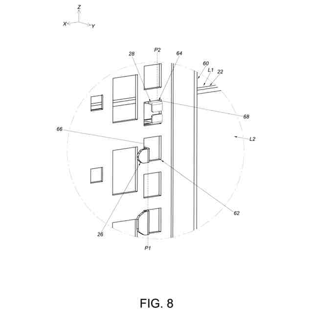
本発明の第1の実施形態による、ラックに取り付けられ、ロック状態にあるハンドルによってラックから取り外されることが抑制されたラック取り付けキットの図である。
本発明の第1の実施形態による、図7に示されるラック取り付けキットのA部分の拡大図である。
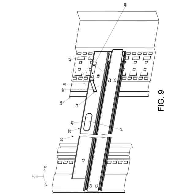
本発明の第1の実施形態による、ラックに取り付けられ、ロック解除状態にあるハンドルによってラックから取り外すことができるラック取り付けキットの図である。
本発明の第1の実施形態による、図9に示されるラック取り付けキットのB部分の拡大図である。
本発明の第2の実施形態によるラック取り付けキットの概略図である。
本発明の第2の実施形態による、図11に示されるラック取り付けキットのC部分の拡大図である。
本発明の第2の実施形態による、ハンドルがロック解除状態にあるときのラック取り付けキットの部分図である。
本発明の第2の実施形態による、ハンドルがロック解除状態からロック状態に向かって移動するときのラック取り付けキットの部分図である。
本発明の第2の実施形態による、ハンドルが図14に示される状態からロック状態に向かって移動するときのラック取り付けキットの部分図である。
本発明の第2の実施形態による、ハンドルがロック状態にあるときのラック取り付けキットの部分図である。
本発明の第2の実施形態による、ラックに取り付けられ、ロック状態にあるハンドルによってラックから取り外されることが抑制されたラック取り付けキットの図である。
本発明の第2の実施形態による、図17に示されるラック取り付けキットのD部分の拡大図である。
【発明を実施するための形態】
(【0011】以降は省略されています)
この特許をJ-PlatPat(特許庁公式サイト)で参照する
関連特許
川湖科技股分有限公司
駆動機構
8か月前
川湖科技股分有限公司
家具アセンブリ
12か月前
川湖科技股分有限公司
支持アセンブリ
7か月前
川湖科技股分有限公司
スライドレール機構
10か月前
川湖科技股分有限公司
スライドレール機構
1か月前
川湖科技股分有限公司
スライドレール機構
4か月前
川湖科技股分有限公司
スライドレール組立体
6か月前
川湖科技股分有限公司
スライドレール組立体
11か月前
川湖科技股分有限公司
スライドレール組立体
9か月前
川湖科技股分有限公司
スライドレール組立体
7か月前
川湖科技股分有限公司
スライドレール組立体
7か月前
川湖科技股分有限公司
スライドレールキット
6か月前
川湖科技股分有限公司
ラック取り付けキット
2日前
川湖科技股分有限公司
スライドレール組立体
5か月前
川湖科技股分有限公司
スライドレール組立体
5か月前
川湖科技股分有限公司
スライドレールキット
4か月前
川湖科技股分有限公司
スライドレール組立体
29日前
川湖科技股分有限公司
スライドレール組立体
23日前
川湖科技股分有限公司
スライドレール組立体
6か月前
川湖科技股分有限公司
スライドレールアセンブリ
6か月前
川湖科技股分有限公司
スライドレールアセンブリ
5か月前
川湖科技股分有限公司
スライドレールアセンブリ
7か月前
川湖科技股分有限公司
スライドレールアセンブリ
4か月前
川湖科技股分有限公司
スライドレールアセンブリ
23日前
川湖科技股分有限公司
調節装置及び関連するスライドレール機構
4日前
川湖科技股分有限公司
取り付けアセンブリ及びその取り付け装置
5か月前
川湖科技股分有限公司
インターロックキット及び関連する家具アセンブリ
11か月前
川湖科技股分有限公司
スライドレールアセンブリ及びそのスライドレールキット
10か月前
個人
電子部品の実装方法
1か月前
愛知電機株式会社
装柱金具
1か月前
個人
非衝突型ガウス加速器
3か月前
日本精機株式会社
回路基板
2か月前
個人
電気式バーナー
1か月前
日星電気株式会社
面状ヒータ
8日前
キヤノン株式会社
電子機器
2か月前
アイホン株式会社
電気機器
3か月前
続きを見る
他の特許を見る