TOP
|
特許
|
意匠
|
商標
特許ウォッチ
Twitter
他の特許を見る
公開番号
2025164662
公報種別
公開特許公報(A)
公開日
2025-10-30
出願番号
2024173957
出願日
2024-10-03
発明の名称
スライドレール組立体
出願人
川湖科技股分有限公司
,
川益科技股ふん有限公司
代理人
弁理士法人ITOH
主分類
A47B
88/43 20170101AFI20251023BHJP(家具;家庭用品または家庭用設備;コーヒーひき;香辛料ひき;真空掃除機一般)
要約
【課題】スライドレールを介してブラケット装置のロック部材を駆動することができるスライドレール組立体を提供する。
【解決手段】スライドレール組立体20は、第1レール22と、第1ブラケット装置24と、第2ブラケット装置26とを備えている。第1レールは、第1所定特徴部28を含む。第1ブラケット装置は、第1レールに配置されている。第2ブラケット装置と第1レールとは、相互に対して移動可能である。第2ブラケット装置は、第2所定特徴部32を有するロック部材30を含む。第1レールと第2ブラケット装置との間の相対移動の間、ロック部材を第1状態S1から第2状態へ切り替えるように移動させるために、第1レールの第1所定特徴部とロック部材の第2所定特徴部とは、相互に突き当たるように構成されている。
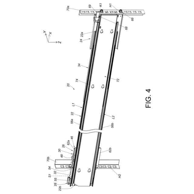
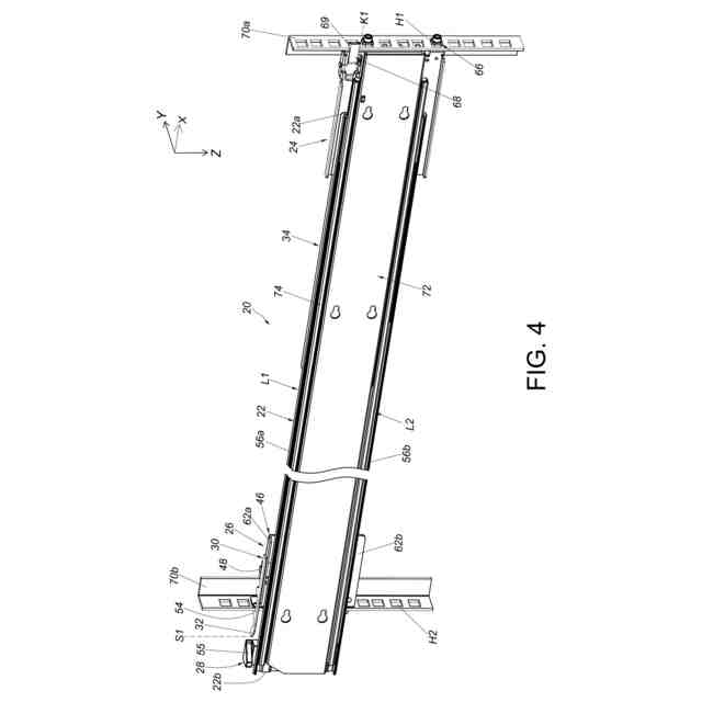
【選択図】図4
特許請求の範囲
【請求項1】
第1所定特徴部を含む第1レールと、
前記第1レールに配置されている第1ブラケット装置と、
前記第1レールに対して移動可能である第2ブラケット装置であり、第2所定特徴部を有するロック部材を含む第2ブラケット装置とを備え、
前記第1レールと前記第2ブラケット装置との間の相対移動の間、前記ロック部材を第1状態から第2状態へ切り替えるように移動させるために、前記第1レールの前記第1所定特徴部と前記ロック部材の前記第2所定特徴部とは、相互に突き当たるように構成されている、
スライドレール組立体。
続きを表示(約 2,300 文字)
【請求項2】
前記第1レールの前記第1所定特徴部と前記ロック部材の前記第2所定特徴部とのうちの一方は、ガイド部を有し、
前記第1レールは、相互に反対側である第1端部と第2端部とを有し、前記第1ブラケット装置は、前記第1端部に隣接して配置され、前記第2ブラケット装置は、前記第1端部から離れるように前記第1レールに対して移動可能である、請求項1記載のスライドレール組立体。
【請求項3】
前記第1レールは、相互に反対側である第1サイドと第2サイドとを有し、
スライドレール組立体はさらに、前記第1レールの前記第1サイドに取り付けられている補強部材を備え、前記補強部材は、所定の通路を伴って形成され、
前記第2ブラケット装置はさらに、前記第1レールに対して移動可能に、前記補強部材の所定の前記通路に移動可能に取り付けられている延長フレームを含み、
前記延長フレームは、端板を伴って構成され、前記端板は、少なくとも1つの取り付け部材を伴って構成され、前記ロック部材は、前記延長フレームに移動可能に取り付けられ、前記ロック部材が前記第1状態にある場合に、前記ロック部材のロック部は、前記端板に隣接し、前記ロック部材が前記第2状態にある場合に、前記ロック部材の前記ロック部は、前記端板から離れている、請求項2記載のスライドレール組立体。
【請求項4】
前記第2ブラケット装置はさらに、前記ロック部材に弾性力を与えるように構成されている弾性特徴部を含む、請求項2記載のスライドレール組立体。
【請求項5】
前記第1レールは、第1壁と、第2壁と、前記第1壁と前記第2壁との間に接続されている長手方向壁とを含み、前記第1所定特徴部は、前記第1レールの前記第1壁に隣接する、請求項1記載のスライドレール組立体。
【請求項6】
前記第1レールは、第1壁と、第2壁と、前記第1壁と前記第2壁との間に接続されている長手方向壁とを含み、
前記ロック部材は、第1延長アームと、第2延長アームと、前記第1延長アームと前記第2延長アームとの間に接続されている操作部とを含み、前記操作部は、前記第2所定特徴部を含み、前記第1延長アームと前記第2延長アームとは、それぞれ前記第1壁と前記第2壁とに隣接し、
前記第1所定特徴部は、前記第1レールの前記長手方向壁に配置されている、請求項1記載のスライドレール組立体。
【請求項7】
第1ポストと第2ポストとを含むラックに取り付けられるように構成されているスライドレール組立体であって、
第1所定特徴部を含む第1レールと、
前記第1レールに配置されている第1ブラケット装置と、
第2ブラケット装置であり、第2ブラケット装置と前記第1レールとは相互に対して移動可能であり、第2ブラケット装置は、第2所定特徴部を有するロック部材を含む第2ブラケット装置とを備え、
前記第1ブラケット装置は、前記第1レールを前記第1ポストに切り離し可能に取り付けるように構成され、前記第2ブラケット装置は、前記第1レールを前記第2ポストに切り離し可能に取り付けるように構成され、ロック状態にある前記ロック部材は、前記第2ブラケット装置を前記第2ポストにロックするように構成され、
前記第1ブラケット装置が前記第1ポストから切り離された状態で、前記第1レールが前記第2ブラケット装置に対して所定方向に移動されるプロセスの間に、前記第1レールの前記第1所定特徴部と前記ロック部材の前記第2所定特徴部とは、相互に突き当たるように構成され、これにより、前記ロック部材を移動させて前記ロック状態からロック解除状態へ切り替え、前記第2ブラケット装置を前記第2ポストにロックしなくする、
スライドレール組立体。
【請求項8】
前記第1レールの前記第1所定特徴部と前記ロック部材の前記第2所定特徴部とのうちの一方は、ガイド部を有する、請求項7記載のスライドレール組立体。
【請求項9】
前記第1レールは、相互に反対側である第1端部と第2端部とを有し、前記第1ブラケット装置は、前記第1端部に隣接して配置され、前記第2ブラケット装置は、前記第1端部から離れるように前記第1レールに対して移動可能であり、
前記第1レールは、相互に反対側である第1サイドと第2サイドとを有し、スライドレール組立体はさらに、前記第1レールの前記第1サイドに取り付けられている補強部材を備え、前記補強部材は、所定の通路を伴って形成され、
前記第2ブラケット装置はさらに、前記第1レールに対して移動可能に、前記補強部材の所定の前記通路に移動可能に取り付けられている延長フレームを含み、前記延長フレームは、前記第2ポストの取り付け孔に取り付けられるように構成されている取り付け部材を伴って構成され、前記ロック部材は、前記延長フレームに移動可能に取り付けられている、請求項7記載のスライドレール組立体。
【請求項10】
前記ロック部材は、前記延長フレームに対して旋回され、
前記第2ブラケット装置はさらに、前記ロック部材に弾性力を与えるように構成されている弾性特徴部を含み、
前記第1ブラケット装置は、前記第1ポストの取り付け孔に取り付けられるように構成されている取り付け部を含み、
スライドレール組立体はさらに、前記第1レールの前記第2サイドに位置し、前記第1レールに対して移動可能である第2レールを備えている、請求項9記載のスライドレール組立体。
発明の詳細な説明
【技術分野】
【0001】
本発明は、スライドレール組立体に関し、さらに詳細には、スライドレールを介してブラケット装置のロック部材を駆動することができるスライドレール組立体に関する。
続きを表示(約 2,400 文字)
【背景技術】
【0002】
米国特許第7357362号は、ブラケットと締結部材とを含むスライドのブラケット位置決め構造を開示している。ブラケットは、端板を含む。締結部材は、ブラケットに枢軸的に接続され、フックアームを伴って構成されている。フックアームは、ロック部を有する。ブラケットの端板の取り付け部材(スタッド)がラックのポストの孔に挿入されると、フックアームがたわんでロック部がポストの縁を横切ることを可能にする。その後、ブラケットをラックのポストにロックするために、締結部材は、弾性部材の弾性力に応じて、ロック状態に保持される。
【発明の概要】
【0003】
具体的には、ブラケットをラックのポストにロックしなくなるロック解除状態に、ロック状態から切り替えるために、締結部材を移動させるには、ユーザが締結部材を手動で操作する必要がある。従って、このようなロック解除操作の利便性を向上させることが重要である。
【0004】
本発明は、スライドレールを介してブラケット装置のロック部材を駆動することができるスライドレール組立体を提供する。
【0005】
本発明の実施形態によれば、スライドレール組立体は、
第1所定特徴部を含む第1レールと、
第1レールに配置されている第1ブラケット装置と、
第1レールに対して移動可能である第2ブラケット装置であり、第2所定特徴部を有するロック部材を含む第2ブラケット装置とを備え、
第1レールと第2ブラケット装置との間の相対移動の間、ロック部材を第1状態から第2状態へ切り替えるように移動させるために、第1レールの第1所定特徴部とロック部材の第2所定特徴部とは、相互に突き当たるように構成されているものである。
【0006】
本発明の別の実施形態によれば、スライドレール組立体は、第1ポストと第2ポストとを含むラックに取り付けられるように構成されているスライドレール組立体であって、
第1所定特徴部を含む第1レールと、
第1レールに配置されている第1ブラケット装置と、
第2ブラケット装置であり、第2ブラケット装置と第1レールとは相互に対して移動可能であり、第2ブラケット装置は、第2所定特徴部を有するロック部材を含む第2ブラケット装置とを備え、
第1ブラケット装置は、第1レールを第1ポストに切り離し可能に取り付けるように構成され、第2ブラケット装置は、第1レールを第2ポストに切り離し可能に取り付けるように構成され、ロック状態にあるロック部材は、第2ブラケット装置を第2ポストにロックするように構成され、
第1ブラケット装置が第1ポストから切り離された状態で、第1レールが第2ブラケット装置に対して所定方向に移動されるプロセスの間に、第1レールの第1所定特徴部とロック部材の第2所定特徴部とは、相互に突き当たるように構成され、これにより、ロック部材を移動させてロック状態からロック解除状態へ切り替え、第2ブラケット装置を第2ポストにロックしなくするものである。
【0007】
様々な図及び図面に示された好ましい実施形態に関する以下の詳細な説明を読んだ後には、本発明のこれらの目的及び他の目的は、当業者に疑いなく明らかになる。
【図面の簡単な説明】
【0008】
本発明の第1実施形態に係り、第1レールと、第1ブラケット装置と、第2ブラケット装置とを備えているスライドレール組立体を示す図である。
本発明の第1実施形態に係るスライドレール組立体の分解図である。
本発明の第1実施形態に係り、第1レールに対して移動可能であるスライドレール組立体の第2ブラケット装置を示す図である。
本発明の第1実施形態に係り、ラックに取り付けられたスライドレール組立体を示す図である。
本発明の第1実施形態に係り、ラックに取り付けられたスライドレール組立体を示す図である。
本発明の第1実施形態に係り、ラックの第1ポストから係合解除されたスライドレール組立体の第1ブラケット装置の締結具を示す図である。
本発明の第1実施形態に係り、第1ポストから切り離されたスライドレール組立体の第1ブラケット装置を示す図である。
本発明の第1実施形態に係り、ラックの第2ポストから係合解除されたスライドレール組立体の第2ブラケット装置のロック部材を示す図である。
本発明の第2実施形態に係るスライドレール組立体を示す図である。
本発明の第2実施形態に係り、第1レールに対して移動可能であるスライドレール組立体の第2ブラケット装置を示す図である。
【発明を実施するための形態】
【0009】
図1ないし3に示すように、本発明の第1実施形態に係り、スライドレール組立体20は、第1レール22と、第1ブラケット装置24と、第2ブラケット装置26とを備えている。
【0010】
第1レール22は、第1所定特徴部28を含む。第1ブラケット装置24は、第1レール22に配置されている。第2ブラケット装置26と第1レール22とは、長手方向に相互に対して移動可能である。図の中で、X軸は長手方向(又はスライドレールの長さ方向又は移動方向)であり、Y軸は横断方向(又はスライドレールの横方向)であり、Z軸は縦方向(又はスライドレールの高さ方向)である。第2ブラケット装置26は、ロック部材30を含む。ロック部材30は、第2所定特徴部32を有し、第2所定特徴部32は、第1所定特徴部28と相互作用するように構成されている。
(【0011】以降は省略されています)
この特許をJ-PlatPat(特許庁公式サイト)で参照する
関連特許
個人
箸
1か月前
個人
家具
4か月前
個人
椅子
3か月前
個人
掃除機
8か月前
個人
自助箸
7か月前
個人
ソファー
2か月前
個人
多用途紐
1か月前
個人
掃除用具
3か月前
個人
枕
8か月前
個人
屋外用箒
7か月前
個人
掃除道具
8か月前
個人
ハンガー
7か月前
個人
枕
5か月前
個人
開閉トング
6か月前
個人
物品
3か月前
個人
組立式棚板
7か月前
個人
省煙消臭器
8か月前
個人
掃除シート
9か月前
個人
靴ベラ
2か月前
個人
受け皿
5か月前
個人
中身のない枕
7か月前
個人
シャワー装置
6か月前
個人
経典表示装置
4か月前
個人
バターナイフ
1か月前
個人
転倒防止装置
5か月前
個人
紙コップ 蓋
2か月前
個人
ゴミ袋保持枠
7か月前
個人
首支持具
3か月前
個人
補助寝具
8か月前
個人
清掃用具
2日前
個人
矯正用枕
4か月前
個人
簡易防災トイレ
1か月前
個人
コーヒー抽出器
4か月前
個人
展示装置
2日前
個人
ホバー掃除機。
6か月前
個人
クッション
4か月前
続きを見る
他の特許を見る