TOP
|
特許
|
意匠
|
商標
特許ウォッチ
Twitter
他の特許を見る
公開番号
2025097278
公報種別
公開特許公報(A)
公開日
2025-06-30
出願番号
2024167982
出願日
2024-09-27
発明の名称
スライドレールキット
出願人
川湖科技股分有限公司
,
川益科技股ふん有限公司
代理人
弁理士法人ITOH
主分類
A47B
88/49 20170101AFI20250623BHJP(家具;家庭用品または家庭用設備;コーヒーひき;香辛料ひき;真空掃除機一般)
要約
【課題】ラックに適用可能であるスライドレールキットを提供する。
【解決手段】スライドレールキット20は、第1レール22と、第2レール24と、ブラケット装置28とを備えている。第1レールは、外サイドL2と内サイドL1とを有する。第2レールは、第1レールに対して移動可能であり、第1レールの内サイドに隣接して配置される。ブラケット装置は、第1レールに配置され、ラック取り付け特徴部46を含む。凹部構造K1は、第1レールの外サイドに形成され、ラック取り付け特徴部に隣接する。
【選択図】図4
特許請求の範囲
【請求項1】
第1サイドフレームと第2サイドフレームとを有するラックに、取り付けられるように構成されているスライドレールキットであって、
外サイドと内サイドとを有する第1レールと、
前記第1レールに対して長手方向に移動可能であり、前記第1レールの前記内サイドに隣接する第2レールと、
前記第1レールに配置されているブラケット装置とを備え、
凹部構造が、前記第1レールの前記外サイドに形成され、前記第1レールの前記内サイドに向かって退避し、凹状空間が、前記凹部構造によって定義され、
前記第1レールは、前記ブラケット装置を介して前記ラックの前記第1サイドフレームに取り付けられるように構成され、
前記第1レールの前記凹部構造は、前記ラックの前記第1サイドフレームの所定部分が、前記凹状空間の中へ延びることを可能にするように構成されている、
スライドレールキット。
続きを表示(約 1,700 文字)
【請求項2】
さらに、前記第1レールと前記第2レールとの間に移動可能に取り付けられている第3レールを含み、
前記第1レールは、第1壁と、第2壁と、前記第1壁と前記第2壁との間に接続されている長手方向壁とを含み、通路が、前記第1レールの前記第1壁と、前記第2壁と、前記長手方向壁とによって画定され、前記第3レールを収容し、
前記凹部構造は、前記長手方向壁に部分的に形成され、前記第1レールの前記外サイドに位置し、前記凹部構造は、前記第1レールの前記第1壁と前記第2壁とのうちの少なくとも一方に部分的に形成されている、請求項1記載のスライドレールキット。
【請求項3】
前記凹部構造は、前記第1レールの所定のレール区間に形成されている、請求項1記載のスライドレールキット。
【請求項4】
前記長手方向壁は、前記第1レールの前記外サイドに、複数の第1面と、第2面とを有し、前記第2面は、前記第1面同士の間に位置し、
前記第1面と前記第2面とは、スライドレールキットの横断方向に横断方向距離をもって相互にスペースをおき、前記凹状空間は、前記第2面の上方に形成されている、請求項2記載のスライドレールキット。
【請求項5】
前記第1面と前記第2面とは、スライドレールキットの前記横断方向に、異なる横断方向位置にある、請求項4記載のスライドレールキット。
【請求項6】
前記第1レールの前記長手方向壁は、第1長手方向区間と、第2長手方向区間と、前記第1長手方向区間と前記第2長手方向区間との間に接続されているリブ部分とを含み、
前記第1長手方向区間と前記第2長手方向区間とのそれぞれが、前記第1面を有し、前記リブ部分は、前記第2面を有する、請求項4記載のスライドレールキット。
【請求項7】
前記第1レールは、相互に反対側である第1端部と第2端部とを有し、前記凹部構造は、前記第1端部と前記第2端部とのうちの一方に隣接して配置され、
前記ラックの前記第1サイドフレームは、少なくとも1つのポストを含み、前記ブラケット装置は、少なくとも1つの前記ポストに取り付けられるように構成されている、請求項1記載のスライドレールキット。
【請求項8】
外サイドを有する第1レールと、
前記第1レールに配置され、ラック取り付け特徴部を含むブラケット装置とを備え、
凹部構造が、前記第1レールの前記外サイドに形成され、前記ラック取り付け特徴部の側方に隣接する、
スライドレールキット。
【請求項9】
前記第1レールは、前記外サイドと反対側である内サイドを有し、
スライドレールキットはさらに、前記第1レールに対して長手方向に移動可能であり、前記第1レールの前記内サイドに隣接する第2レールを含み、
前記ブラケット装置は、前記ラック取り付け特徴部を伴って構成されているブラケットを含み、前記ブラケットは、前記第1レールに対して移動可能であり、
前記ブラケットが前記第1レールに対して取り付け位置にある場合に、前記第1レールの前記外サイドでの前記凹部構造は、前記ブラケットの前記ラック取り付け特徴部の前記側方に隣接して位置する、請求項8記載のスライドレールキット。
【請求項10】
前記第1レールは、第1壁と、第2壁と、前記第1壁と前記第2壁との間に接続されている長手方向壁とを含み、
前記凹部構造は、前記第1レールの前記外サイドで前記長手方向壁に形成され、前記第1レールの前記内サイドに向かって退避し、凹状空間が、前記凹部構造によって定義され、
前記長手方向壁は、前記第1レールの前記外サイドに、複数の第1面と、第2面とを有し、前記第2面は、前記第1面同士の間に位置し、
前記第1面と前記第2面とは、スライドレールキットの横断方向に横断方向距離をもって相互にスペースをおき、前記凹状空間は、前記第2面の上方に形成され、
前記第1面と前記第2面とは、スライドレールキットの前記横断方向に、異なる横断方向位置にある、請求項9記載のスライドレールキット。
発明の詳細な説明
【技術分野】
【0001】
本発明は、スライドレールキットに関し、さらに詳細には、ラックに適用可能であるスライドレールキットに関する。
続きを表示(約 2,200 文字)
【背景技術】
【0002】
米国特許第10225945号には、第1レールと、第2レールと、第3レールと、延長部材とを備えているスライドレール組立体が開示されている。第1レールは、第1チャンネルを有する。第2レールは、第1レールに対して移動可能である。第3レールは、第1レールと第2レールとの間に移動可能に取り付けられている。延長部材は、第1レールに接続されている。延長部材の表面と第3レールの外面とは、実質的に同一平面上に位置する。ラック(又はキャビネット)の両側で第1レールが占有する横断方向のスペースを減らすために、第1レールは短く構成されている。これにより、第1レール全体が、ラックの前ポストと後ポストとの間のスペースの中に配置されることが可能である。このような構成によれば、第2レールは、幅の大きい搬送の物品(シャーシなど)を搬送することができる。しかし、第1レールの長さが制限され、これにより、スライドレールの全体的な構造強度を低下させ、追加延長部材が必要となるため、スライドレール組立体を組み立てる複雑さを増大させる。
【発明の概要】
【0003】
しかし、さまざまな市場の要求に応じて、さまざまなスライドレール製品を開発することが重要である。
【0004】
本発明は、ラックに適用可能であるスライドレールキットに関する。
【0005】
本発明の実施形態によれば、スライドレールキットは、第1サイドフレームと第2サイドフレームとを有するラックに、取り付けられるように構成されているスライドレールキットであって、
外サイドと内サイドとを有する第1レールと、
第1レールに対して長手方向に移動可能であり、第1レールの内サイドに隣接する第2レールと、
第1レールに配置されているブラケット装置とを備え、
凹部構造が、第1レールの外サイドに形成され、第1レールの内サイドに向かって退避し、凹状空間が、凹部構造によって定義され、
第1レールは、ブラケット装置を介してラックの第1サイドフレームに取り付けられるように構成され、
第1レールの凹部構造は、ラックの第1サイドフレームの所定部分が、凹状空間の中へ延びることを可能にするように構成されているものである。
【0006】
本発明の別の実施形態によれば、スライドレールキットは、外サイドを有する第1レールと;第1レールに配置され、ラック取り付け特徴部を含むブラケット装置とを備え;凹部構造が、第1レールの外サイドに形成され、ラック取り付け特徴部の側方に隣接するものである。
【0007】
様々な図及び図面に示された好ましい実施形態に関する以下の詳細な説明を読んだ後には、本発明のこれらの目的及び他の目的は、当業者に疑いなく明らかになる。
【図面の簡単な説明】
【0008】
本発明の第1実施形態に係り、スライドレールキットを第1視野角で示す図である。
本発明の第1実施形態に係り、第1取り付け位置にあるブラケットを伴って、第2視野角でスライドレールキットを示す図である。
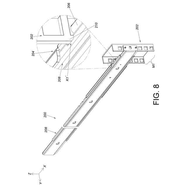
図2の領域Aの拡大図である。
本発明の第1実施形態に係り、第2取り付け位置にあるブラケットを伴って、第2視野角でスライドレールキットを示す図である。
本発明の第1実施形態に係り、ラックに取り付けられている一対のスライドレールキットを示す図である。
本発明の第1実施形態に係り、ラックの第1サイドフレームと第2サイドフレームとにそれぞれ取り付けられたスライドレールキットを示す図である。
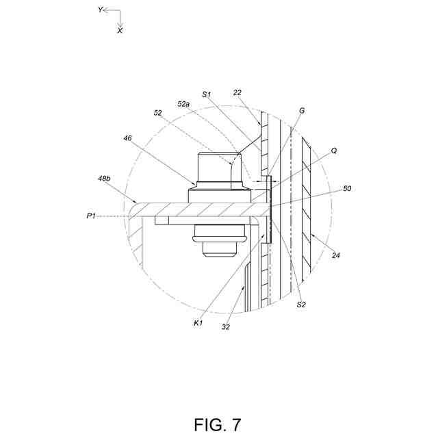
図6の領域Aの拡大図である。
本発明の第2実施形態に係り、ラックの第1サイドフレームに取り付けられたスライドレールキットを示す図である。
【発明を実施するための形態】
【0009】
図1に示すように、本発明の第1実施形態に係り、スライドレールキット20は、第1レール22と、第2レール24と、第3レール26とを備えている。第1レール22と、第2レール24と、第3レール26とは、相互に対して長手方向に移動可能である。図の中で、X軸は長手方向(又はスライドレールの長さ方向又は移動方向)であり、Y軸は横断方向(又はスライドレールの横方向)であり、Z軸は縦方向(又はスライドレールの高さ方向)である。第3レール26は、第1レール22と第2レール24との間に移動可能に取り付けられている。第1レール22は、相互に反対側である内サイドL1と外サイドL2とを有する。
【0010】
好ましくは、第1レール22は、第1壁23aと、第2壁23bと、第1レール22の第1壁23aと第2壁23bとの間に接続されている長手方向壁25とを含む。通路が、第1壁23aと、第2壁23bと、長手方向壁25とによって画定され、第1レール22の内サイドL1に第3レール26を収容するように構成されている。第2レール24は、第1レール22の内サイドL1に隣接して配置されている。本実施形態では、第2レール24は、第3レール26に取り付けられ、第1レール22の内サイドL1に隣接する。
(【0011】以降は省略されています)
この特許をJ-PlatPat(特許庁公式サイト)で参照する
関連特許
個人
箸
1か月前
個人
家具
4か月前
個人
椅子
3か月前
個人
自助箸
7か月前
個人
掃除機
8か月前
個人
体洗い具
10か月前
個人
ソファー
2か月前
個人
屋外用箒
7か月前
個人
ハンガー
7か月前
個人
耳拭き棒
11か月前
個人
多用途紐
1か月前
個人
枕
8か月前
個人
掃除道具
8か月前
個人
掃除用具
3か月前
個人
枕
5か月前
個人
省煙消臭器
8か月前
個人
開閉トング
6か月前
個人
物品
3か月前
個人
掃除シート
9か月前
個人
片手代替具
11か月前
個人
組立式棚板
7か月前
個人
シャワー装置
6か月前
個人
中身のない枕
7か月前
個人
バターナイフ
1か月前
個人
洗面台
11か月前
個人
転倒防止装置
5か月前
個人
ゴミ袋保持枠
7か月前
個人
経典表示装置
4か月前
個人
受け皿
5か月前
個人
紙コップ 蓋
2か月前
個人
靴ベラ
2か月前
個人
組立家具
9か月前
個人
首支持具
3か月前
個人
コーヒー抽出器
4か月前
個人
汚水漏れ防止具
10か月前
個人
清掃用具
2日前
続きを見る
他の特許を見る