TOP
|
特許
|
意匠
|
商標
特許ウォッチ
Twitter
他の特許を見る
10個以上の画像は省略されています。
公開番号
2025139539
公報種別
公開特許公報(A)
公開日
2025-09-26
出願番号
2024188702
出願日
2024-10-28
発明の名称
スライドレール機構
出願人
川湖科技股分有限公司
,
川益科技股ふん有限公司
代理人
弁理士法人ITOH
主分類
A47B
88/53 20170101AFI20250918BHJP(家具;家庭用品または家庭用設備;コーヒーひき;香辛料ひき;真空掃除機一般)
要約
【課題】所定コンポーネントを介してロック部材をロック解除状態に一時的に保持可能であるスライドレール機構を提供する。
【解決手段】スライドレール機構は、第1レール26と、可動レール28と、ロック部材52と、所定コンポーネント54とを備えている。可動レール28は、第1レール26に対して移動可能である。ロック部材52がロック状態S1にある場合に、ロック部材52は、第1レール26でのブロッキング特徴部50によってブロッキングされるように構成されている。ロック部材52がロック解除状態にある場合に、ロック部材52は、ブロッキング特徴部50によってブロッキングされず、可動レール28が、第1レール26に対して所定位置P1から離れるように所定方向D1に移動されることを可能にし、ロック部材52をロック解除状態に保持するために、ロック部材52と所定コンポーネント54とは、互いに係合する。
【選択図】図4
特許請求の範囲
【請求項1】
ブロッキング特徴部を含む第1レールと、
前記第1レールに対して移動可能である可動レールと、
ロック状態又はロック解除状態になるように前記可動レールに対して移動可能であるロック部材と、
弾性部材と、
前記可動レールに配置されている所定コンポーネントとを備え、
前記可動レールが前記第1レールに対して所定位置にある場合に、前記可動レールが前記所定位置から離れるように所定方向に移動されることを防止するために、前記ロック状態にある前記ロック部材は、前記ブロッキング特徴部によってブロッキングされるように構成され、
前記ロック状態から前記ロック解除状態へ切り替えるために前記ロック部材を移動させるように、力が前記ロック部材に加えられた場合に、前記可動レールが、前記所定位置から離れるように前記所定方向に移動することを可能にするために、前記ロック解除状態にある前記ロック部材は、前記ブロッキング特徴部によってブロッキングされなくなり、
前記ロック部材が前記ロック解除状態にある場合に、前記ロック部材を前記ロック解除状態に保持するために、前記ロック部材と前記所定コンポーネントとは、互いに係合するように構成され、前記弾性部材は、弾性力を蓄積するように構成され、
前記可動レールが、前記所定位置から離れるように前記所定方向に移動されるプロセスの間に、前記第1レールは、前記ロック部材を前記所定コンポーネントから係合解除するように構成され、これにより、前記ロック部材は、前記弾性部材によって解除された弾性力に応じて、前記ロック解除状態から前記ロック状態へ切り替わるように移動される、
スライドレール機構。
続きを表示(約 3,100 文字)
【請求項2】
第1スライドレール組立体と第2スライドレール組立体とを備え、
前記第1スライドレール組立体は、前記第1レールと、第2レールと、第3レールとを含み、前記第1レールは、支持フレームを伴って構成され、前記第2レールは、前記第1レールと前記第3レールとの間に移動可能に取り付けられ、
前記第2スライドレール組立体は、前記第1スライドレール組立体に対して移動可能であり、前記第2スライドレール組立体は、支持レール部材と、外レールと、中間レールと、前記可動レールとを含み、
前記支持レール部材は、前記第1レールに移動可能に取り付けられ、前記外レールは、前記支持レール部材に接続され、前記中間レールは、前記外レールと前記可動レールとの間に移動可能に取り付けられている、請求項1記載のスライドレール機構。
【請求項3】
前記第2スライドレール組立体の前記支持レール部材は、前記第1スライドレール組立体の前記第1レールを部分的に覆うように構成され、
前記第1レールの前記支持フレームは、前記ブロッキング特徴部を含み、
前記可動レールが、前記所定位置から離れるように前記所定方向に移動される前記プロセスの間に、前記第1レールの前記支持フレームの所定部分が、前記ロック部材を前記所定コンポーネントから係合解除するように構成されている、請求項2記載のスライドレール機構。
【請求項4】
前記可動レールは、補助部材を伴って構成され、前記ロック部材は、前記補助部材に移動可能に取り付けられ、前記所定コンポーネントは、前記可動レールでの前記補助部材に配置され、
前記ロック部材は、第1係合特徴部を有し、前記所定コンポーネントは、第2係合特徴部を有し、
前記ロック部材が前記ロック解除状態にある場合に、前記ロック部材を前記ロック解除状態に保持するために、前記ロック部材と前記所定コンポーネントとは、前記第1係合特徴部と前記第2係合特徴部とを介して互いに係合するように構成されている、請求項3記載のスライドレール機構。
【請求項5】
前記ロック部材は、シャフトを介して枢軸的に前記補助部材に接続され、前記所定コンポーネントは、弾性ピースであり、ガイド構造を伴って配置され、
前記可動レールが、前記所定位置から離れるように前記所定方向に移動される前記プロセスの間に、前記ロック部材を前記所定コンポーネントから係合解除するために、前記第1レールの前記支持フレームは、前記所定コンポーネントの前記ガイド構造に突き当たって前記所定コンポーネントをたわませるように構成され、
前記ロック部材は、操作部を伴って構成され、ユーザが前記操作部を介して前記ロック部材に力を加えて前記ロック部材を移動させ、前記ロック状態から前記ロック解除状態へ切り替えることを可能にする、請求項4記載のスライドレール機構。
【請求項6】
前記補助部材は、規制部を含み、前記ロック部材が前記ロック状態から前記ロック解除状態へ切り替わるように移動された場合に、前記規制部は、前記ロック部材を前記ロック解除状態でブロッキングするように構成されている、請求項5記載のスライドレール機構。
【請求項7】
ブロッキング特徴部を含む第1レールと、
前記第1レールに対して移動可能である可動レールと、
前記可動レールに対して移動可能であるロック部材と、
所定コンポーネントとを備え、
前記ロック部材がロック状態にある場合に、前記可動レールが、後退位置から離れるように所定方向に移動されることを防止するために、前記ロック部材は、前記ブロッキング特徴部によってブロッキングされるように構成され、
前記ロック部材がロック解除状態にある場合に、前記可動レールが、前記後退位置から離れるように前記所定方向に移動されることを可能にするために、前記ロック部材は、前記ブロッキング特徴部によってブロッキングされず、前記ロック部材を前記ロック解除状態に保持するために、前記ロック部材は、前記所定コンポーネントと係合するように構成されている、
スライドレール機構。
【請求項8】
前記可動レールが、前記後退位置から離れるように前記所定方向に移動されるプロセスの間に、前記ロック部材と前記所定コンポーネントとは、互いに係合解除されるように構成され、
前記ロック部材は、弾性力に応じて前記ロック解除状態から前記ロック状態へ切り替わるために移動されるように構成されている、請求項7記載のスライドレール機構。
【請求項9】
第1スライドレール組立体と第2スライドレール組立体とを備え、
前記第1スライドレール組立体は、前記第1レールと、第2レールと、第3レールとを含み、前記第1レールは、支持フレームを伴って構成され、前記第2レールは、前記第1レールと前記第3レールとの間に移動可能に取り付けられ、
前記第2スライドレール組立体は、前記第1スライドレール組立体に対して移動可能であり、前記第2スライドレール組立体は、支持レール部材と、外レールと、中間レールと、前記可動レールとを含み、
前記支持レール部材は、前記第1レールに移動可能に取り付けられ、前記外レールは、前記支持レール部材に接続され、前記中間レールは、前記外レールと前記可動レールとの間に移動可能に取り付けられ、
前記第2スライドレール組立体の前記支持レール部材は、前記第1スライドレール組立体の前記第1レールを部分的に覆うように構成され、
前記可動レールが、前記後退位置から離れるように前記所定方向に移動される前記プロセスの間に、前記第1レールの前記支持フレームの所定部分が、前記ロック部材を前記所定コンポーネントから係合解除するように構成されている、請求項8記載のスライドレール機構。
【請求項10】
前記可動レールは、補助部材を伴って構成され、前記ロック部材は、前記補助部材に移動可能に取り付けられ、前記所定コンポーネントは、前記補助部材に配置され、
前記ロック部材は、第1係合特徴部を有し、前記所定コンポーネントは、第2係合特徴部を有し、
前記ロック部材が前記ロック解除状態にある場合に、前記ロック部材を前記ロック解除状態に保持するために、前記ロック部材と前記所定コンポーネントとは、前記第1係合特徴部と前記第2係合特徴部とを介して互いに係合するように構成され、
前記ロック部材は、シャフトを介して枢軸的に前記補助部材に接続され、前記所定コンポーネントは、弾性ピースであり、ガイド構造を伴って配置され、
前記可動レールが、前記後退位置から離れるように前記所定方向に移動される前記プロセスの間に、前記ロック部材を前記所定コンポーネントから係合解除するために、前記第1レールの前記支持フレームは、前記所定コンポーネントの前記ガイド構造に突き当たって前記所定コンポーネントをたわませるように構成され、
前記ロック部材は、操作部を伴って構成され、ユーザが前記操作部を介して前記ロック部材に力を加えて前記ロック部材を移動させ、前記ロック状態から前記ロック解除状態へ切り替えることを可能にする、請求項9記載のスライドレール機構。
発明の詳細な説明
【技術分野】
【0001】
本発明は、スライドレール機構に関し、さらに詳細には、所定コンポーネントを介してロック部材をロック解除状態に一時的に保持可能であるスライドレール機構に関する。
続きを表示(約 3,000 文字)
【背景技術】
【0002】
米国特許11540630号には、第1レールと、第2レールと、所定構造と、ロック部材と、操作部材とを備えているスライドレール組立体が開示されている。第2レール(内レールなど)は、第1レール(外レールなど)に対して長手方向に移動可能である。所定構造は第1レールに配置され、所定構造はブロッキング部を有する。ロック部材は、第2レールに移動可能に取り付けられている。操作部材は、ロック部材を駆動して移動させるように構成されている。
【0003】
第2レールが第1レールに対して後退位置にある場合に、弾性部材は所定構造に突き当たり、これにより、第2レールが、後退位置から離れるように開放方向に移動することを防止するために、ロック部材は、弾性部材の弾性力に応じてブロッキング部によってブロッキングされるロック状態に保持されるように構成されている。操作部材を第1位置から第2位置へ移動させるために操作部材に力が加えられた場合に、操作部材は、ロック状態からロック解除状態へ切り替わるために移動するようにロック部材を駆動するように構成され、これにより、第2レールが、後退位置から離れるように開放方向に移動されることを可能にするために、ロック部材は、もはやブロッキング部によってブロッキングされなくなる。
【0004】
具体的には、第2レールが第1レールに対して後退位置にある場合に、ユーザが操作部材に力を加えて操作部材を第1位置から第2位置へ移動させることができ、ロック部材を駆動して、ロック状態からロック解除状態へ切り替える。しかし、ユーザが操作部材に力を加えることを停止し、ユーザによって開放方向に移動されることなく第2レールが依然として後退位置にある場合には、ロック部材は、弾性部材の弾性力によってロック解除状態からロック状態へ復帰するように構成され、第2レールは、ロック部材によって後退位置にロックされる。つまり、ユーザは、ロック部材をロック解除状態に保持するために、操作部材に力を継続的に加える必要がある。従って、ユーザにとって操作するために不便である。
【発明の概要】
【0005】
従って、さまざまな市場の要求に応じて、さまざまなスライドレール製品を開発することが重要である。
【0006】
本発明は、所定コンポーネントを介してロック部材をロック解除状態に保持可能であるスライドレール機構を提供する。
【0007】
本発明の実施形態によれば、スライドレール機構は、
ブロッキング特徴部を含む第1レールと、
第1レールに対して移動可能である可動レールと、
ロック状態又はロック解除状態になるように可動レールに対して移動可能であるロック部材と、
弾性部材と、
可動レールに配置されている所定コンポーネントとを備え、
可動レールが第1レールに対して所定位置にある場合に、可動レールが所定位置から離れるように所定方向に移動されることを防止するために、ロック状態にあるロック部材は、ブロッキング特徴部によってブロッキングされるように構成され、
ロック状態からロック解除状態へ切り替えるためにロック部材を移動させるように、力がロック部材に加えられた場合に、可動レールが、所定位置から離れるように所定方向に移動することを可能にするために、ロック解除状態にあるロック部材は、ブロッキング特徴部によってブロッキングされなくなり、
ロック部材がロック解除状態にある場合に、ロック部材をロック解除状態に保持するために、ロック部材と所定コンポーネントとは、互いに係合するように構成され、弾性部材は、弾性力を蓄積するように構成され、
可動レールが、所定位置から離れるように所定方向に移動されるプロセスの間に、第1レールは、ロック部材を所定コンポーネントから係合解除するように構成され、これにより、ロック部材は、弾性部材によって解除された弾性力に応じて、ロック解除状態からロック状態へ切り替わるように移動されるものである。
【0008】
本発明の別の実施形態によれば、スライドレール機構は、
ブロッキング特徴部を含む第1レールと、
第1レールに対して移動可能である可動レールと、
可動レールに対して移動可能であるロック部材と、
所定コンポーネントとを備え、
ロック部材がロック状態にある場合に、可動レールが、後退位置から離れるように所定方向に移動されることを防止するために、ロック部材は、ブロッキング特徴部によってブロッキングされるように構成され、
ロック部材がロック解除状態にある場合に、可動レールが、後退位置から離れるように所定方向に移動されることを可能にするために、ロック部材は、ブロッキング特徴部によってブロッキングされず、ロック部材をロック解除状態に保持するために、ロック部材は、所定コンポーネントと係合するように構成されているものである。
【0009】
様々な図及び図面に示された好ましい実施形態に関する以下の詳細な説明を読んだ後には、本発明のこれらの目的及び他の目的は、当業者に疑いなく明らかになる。
【図面の簡単な説明】
【0010】
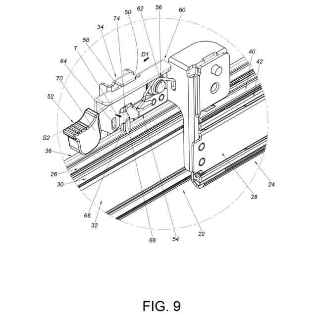
本発明の実施形態に係り、第1視野角でスライドレール機構を示す図である。
本発明の実施形態に係り、第2視野角でスライドレール機構を示す図である。
本発明の実施形態に係るスライドレール機構の分解図である。
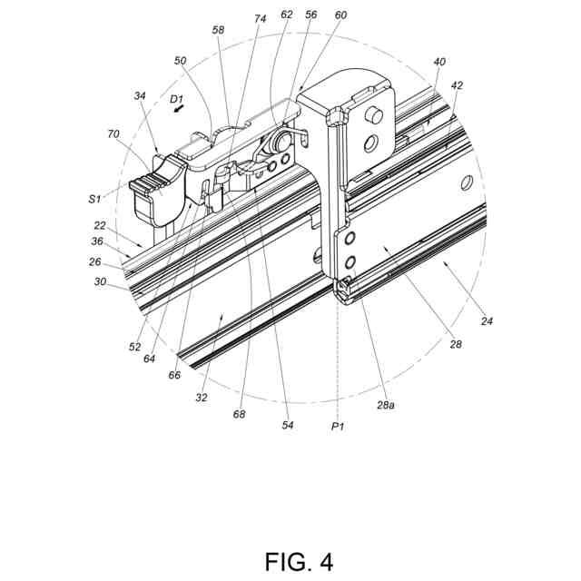
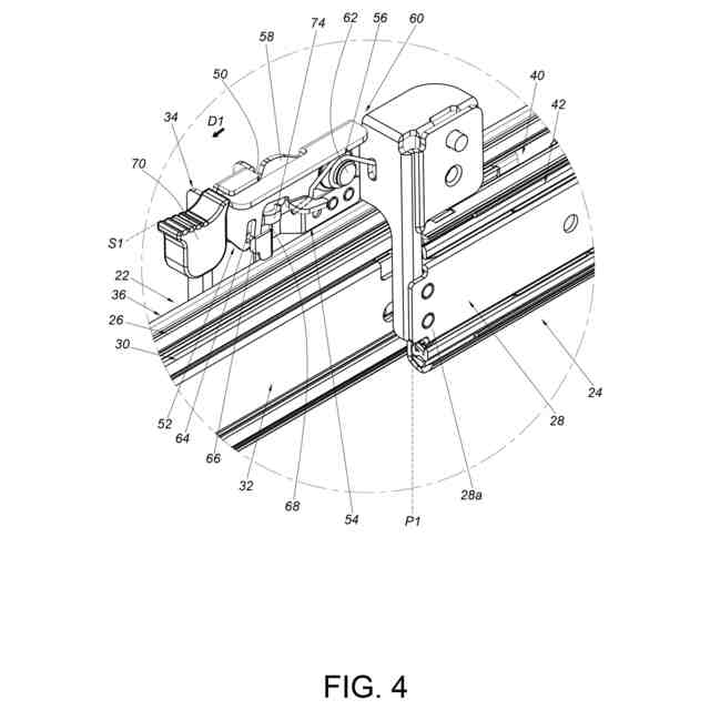
スライドレール機構の可動レールが、第1レールに対して所定位置にロックされていることを示す、図1の領域Aの拡大図である。
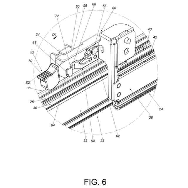
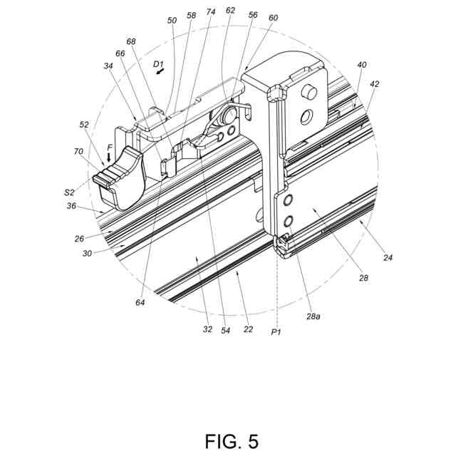
本発明の実施形態に係り、所定位置にある可動レールが第1レールからロック解除されたことを示す図である。
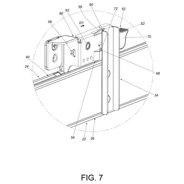
本発明の実施形態に係り、第1視野角で、可動レールが第1レールに対して所定方向に移動されたことを示す図である。
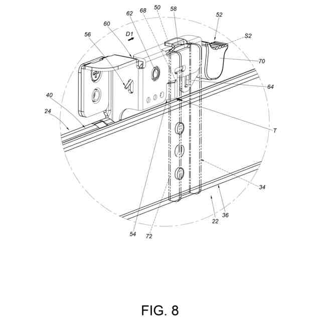
本発明の実施形態に係り、第3視野角で、可動レールが第1レールに対して所定方向に移動されたことを示す図である。
本発明の実施形態に係り、第3視野角で、可動レールが第1レールに対して所定方向にさらに移動されたことを示す図である。
本発明の実施形態に係り、第1視野角で、可動レールが第1レールに対して所定方向にさらに移動されたことを示す図である。
本発明の実施形態に係り、第1視野角で、可動レールが第1レールに対して所定方向に、継続的にさらに移動されたことを示す図である。
本発明の実施形態に係り、スライドレール機構の可動レールが第1レールに対して所定位置でロックされた状態で、複数のスライドレール機構がラックに取り付けられたことを示す図である。
本発明の実施形態に係り、スライドレール機構の可動レールが第1レールに対して所定位置でロック解除された状態で、複数のスライドレール機構がラックに取り付けられたことを示す図である。
【発明を実施するための形態】
(【0011】以降は省略されています)
この特許をJ-PlatPat(特許庁公式サイト)で参照する
関連特許
川湖科技股分有限公司
駆動機構
8か月前
川湖科技股分有限公司
家具アセンブリ
12か月前
川湖科技股分有限公司
支持アセンブリ
7か月前
川湖科技股分有限公司
スライドレール機構
10か月前
川湖科技股分有限公司
スライドレール機構
1か月前
川湖科技股分有限公司
スライドレール機構
4か月前
川湖科技股分有限公司
スライドレール組立体
6か月前
川湖科技股分有限公司
スライドレール組立体
11か月前
川湖科技股分有限公司
スライドレール組立体
9か月前
川湖科技股分有限公司
スライドレール組立体
7か月前
川湖科技股分有限公司
スライドレール組立体
7か月前
川湖科技股分有限公司
スライドレールキット
6か月前
川湖科技股分有限公司
ラック取り付けキット
2日前
川湖科技股分有限公司
スライドレール組立体
5か月前
川湖科技股分有限公司
スライドレール組立体
5か月前
川湖科技股分有限公司
スライドレールキット
4か月前
川湖科技股分有限公司
スライドレール組立体
29日前
川湖科技股分有限公司
スライドレール組立体
23日前
川湖科技股分有限公司
スライドレール組立体
6か月前
川湖科技股分有限公司
スライドレールアセンブリ
6か月前
川湖科技股分有限公司
スライドレールアセンブリ
5か月前
川湖科技股分有限公司
スライドレールアセンブリ
7か月前
川湖科技股分有限公司
スライドレールアセンブリ
4か月前
川湖科技股分有限公司
スライドレールアセンブリ
23日前
川湖科技股分有限公司
調節装置及び関連するスライドレール機構
4日前
川湖科技股分有限公司
取り付けアセンブリ及びその取り付け装置
5か月前
川湖科技股分有限公司
インターロックキット及び関連する家具アセンブリ
11か月前
川湖科技股分有限公司
スライドレールアセンブリ及びそのスライドレールキット
10か月前
個人
箸
1か月前
個人
家具
4か月前
個人
椅子
3か月前
個人
自助箸
7か月前
個人
掃除機
8か月前
個人
体洗い具
10か月前
個人
ソファー
2か月前
個人
屋外用箒
7か月前
続きを見る
他の特許を見る