TOP
|
特許
|
意匠
|
商標
特許ウォッチ
Twitter
他の特許を見る
10個以上の画像は省略されています。
公開番号
2025067778
公報種別
公開特許公報(A)
公開日
2025-04-24
出願番号
2024085924
出願日
2024-05-28
発明の名称
スライドレール組立体
出願人
川湖科技股分有限公司
,
川益科技股ふん有限公司
代理人
個人
,
個人
主分類
A47B
88/473 20170101AFI20250417BHJP(家具;家庭用品または家庭用設備;コーヒーひき;香辛料ひき;真空掃除機一般)
要約
【課題】操作部材を操作することにより、2つのレールを所定位置で相互に対してロック解除することが可能なスライドレール組立体を提供する。
【解決手段】スライドレール組立体20は、第1レール22と、第2レール24と、ブロッキング特徴部28と、2つの操作部材31,32と、ロック部材30を備えている。ブロッキング特徴部28は第1レール22に配置されている。2つの操作部材31,32とロック部材30とは、第2レール24に移動可能に取り付けられている。第2レール24が第1レール22に対して所定位置Pにある場合に、ロック部材30は、第2レール24が所定位置から移動することを防止するために、ブロッキング特徴部28によってブロッキングされる。2つの操作部材31,32のうちの1つが操作された場合に、ロック部材30は、第2レール24が所定位置から移動することを可能にするために、駆動されて移動するように構成されている。
【選択図】図5
特許請求の範囲
【請求項1】
第1レールと、
第2レールであり、第2レールと前記第1レールとが相対的に移動可能である第2レールと、
前記第1レールに配置されているブロッキング特徴部と、
前記第2レールに移動可能に取り付けられている2つの操作部材と、
前記第2レールに移動可能に取り付けられているロック部材とを備え、
前記第2レールが前記第1レールに対して所定位置にあり、かつ前記ロック部材がロック状態にある場合に、前記ロック部材と前記ブロッキング特徴部とは、前記第2レールが前記所定位置から移動することを防止するために、相互にブロッキングするように構成され、
前記2つの操作部材のうちの1つが操作された場合に、前記ロック部材は、前記ロック状態からロック解除状態へ切り替わるために駆動されるように構成され、これにより、前記ロック部材と前記ブロッキング特徴部とは、相互にブロッキングしなくなり、前記第2レールを前記所定位置から離れるように移動させることを可能にする、
スライドレール組立体。
続きを表示(約 1,900 文字)
【請求項2】
前記第2レールは、相互に反対側の第1端部分と第2端部分とを有し、前記2つの操作部材は、前記第2レールで前記第1端部分に隣接して、移動可能に取り付けられ、
前記2つの操作部材は、それぞれ第1軸棒と第2軸棒とを介して前記第2レールに枢軸的に接続されている、請求項1記載のスライドレール組立体。
【請求項3】
前記第1軸棒と前記第2軸棒とのうちの少なくとも1つは、前記第2レールの横断方向と実質的に同一の方向に配置されている、請求項2記載のスライドレール組立体。
【請求項4】
前記2つの操作部材は、相互に噛み合うように構成されているギヤ構造を有する、請求項1記載のスライドレール組立体。
【請求項5】
前記2つの操作部材のうちの1つは、駆動部を含み、前記駆動部は、前記ロック部材を駆動して移動させるように構成され、
スライドレール組立体はさらに、前記2つの操作部材のうちの1つに弾性力を与えるように構成されている復元弾性部材を備え、
前記2つの操作部材はそれぞれ、ユーザによって押圧の方式で操作されるように構成されている第1操作部と第2操作部とを含む、請求項1記載のスライドレール組立体。
【請求項6】
前記ロック部材は、前記第2レールに枢軸的に接続され、
スライドレール組立体はさらに、補助弾性部材を備え、前記ロック部材は、前記補助弾性部材の弾性力に応答して、前記ロック状態に保持されるように構成されている、請求項1記載のスライドレール組立体。
【請求項7】
第1レールと、
第2レールであり、第2レールと前記第1レールとが相対的に長手方向に移動可能である第2レールと、
前記第2レールに移動可能に取り付けられている第1操作部材と第2操作部材とであり、それぞれ、第1ギヤ構造と第2ギヤ構造とを含む第1操作部材と第2操作部材と、
前記第2レールに移動可能に取り付けられているロック部材とを備え、
前記第2レールが前記第1レールに対して後退位置にあり、かつ前記ロック部材がロック状態にある場合に、前記ロック部材と前記第1レールとは、前記第2レールが前記後退位置から移動することを防止するために、相互にロックされるように構成され、
前記第1操作部材と前記第2操作部材とのうちの1つが、第1状態から第2状態へ移動するように操作されるプロセスの間に、前記第1操作部材と前記第2操作部材とのうちの他の1つは、相互に噛み合う前記第1ギヤ構造と前記第2ギヤ構造とを通じて、移動するように駆動され、
前記ロック部材は、前記第2レールを前記後退位置から所定方向に移動させることを可能にするために、前記ロック状態からロック解除状態へ切り替わるために駆動されるように構成されている、
スライドレール組立体。
【請求項8】
前記第1操作部材と前記第2操作部材とは、それぞれ第1軸棒と第2軸棒とを介して前記第2レールに枢軸的に接続され、前記第1操作部材と前記第2操作部材とは、それぞれ第1操作部と第2操作部とを含み、
前記第1操作部材はさらに、駆動部を含み、前記駆動部は、前記ロック部材を移動させるように駆動するように構成され、前記第1軸棒は、前記第1操作部と前記駆動部との間に配置され、
前記第1操作部材はさらに、前記第1軸棒に隣接して配置されている第1作業部分を含み、前記第1作業部分は、前記第1ギヤ構造を伴って構成され、前記第2操作部材はさらに、前記第2軸棒に隣接して配置されている第2作業部分を含み、前記第2作業部分は、前記第2ギヤ構造を伴って構成され、
前記第1軸棒と前記第2軸棒とのうちの少なくとも1つは、前記第2レールの横断方向と実質的に同一の方向に配置されている、請求項7記載のスライドレール組立体。
【請求項9】
さらに、前記第1操作部材と前記第2操作部材とに弾性力を与えるように構成されている復元弾性部材を備え、
前記ロック部材は、前記第2レールに枢軸的に接続され、
スライドレール組立体はさらに、補助弾性部材を備え、前記ロック部材は、前記補助弾性部材の弾性力に応答して、前記ロック状態に保持されるように構成されている、請求項7記載のスライドレール組立体。
【請求項10】
前記第2レールは、相互に反対側の第1端部分と第2端部分とを有し、前記第1操作部材と前記第2操作部材とは、前記第2レールで前記第1端部分に隣接して、移動可能に取り付けられている、請求項7記載のスライドレール組立体。
発明の詳細な説明
【技術分野】
【0001】
本発明は、スライドレール機構に関し、さらに詳細には、2つの操作部材のうちの1つを操作することにより、2つのスライドレールを所定位置で相互に対してロック解除することが可能なスライドレール組立体に関する。
続きを表示(約 2,800 文字)
【背景技術】
【0002】
米国特許US6883884号は、スライドレール装置用のラッチ組立体を開示している。スライドレール装置は、相互に対して移動可能な第1レールと第2レールを備えている。第1レールは、ラッチ組立体を伴って構成され、第2レールは、ラッチベースを伴って構成されている。第1レールが第2レールに対して後退位置にある場合に、ラッチ組立体はラッチベースと係合し、第1レールが後退位置に保持される。ユーザがラッチ組立体をロック解除しようとする場合に、ユーザは、ラッチ組立体の2つの作動部材を同時に押圧する必要がある。これにより、対応する2つのロック解除部材のフックは、ラッチベースともはや係合しなくなり、第1レールが、第2レールに対して後退位置から移動されることを可能にする。
【発明の概要】
【0003】
しかし、異なる市場の要求に対しては、2つの作動部材(又は操作部材)の同時操作を必要とせずに、2つのスライドレールを相互に対してロック解除できるスライドレール製品を開発することが重要である。
【0004】
本発明は、2つの操作部材のうちの1つを操作することにより、2つのスライドレールを所定位置で相互に対してロック解除することができるスライドレール組立体を提供する。
【0005】
本発明の実施形態によれば、スライドレール組立体は、第1レールと;第2レールであり、第2レールと第1レールとが相対的に移動可能である第2レールと;第1レールに配置されているブロッキング特徴部と;第2レールに移動可能に取り付けられている2つの操作部材と;第2レールに移動可能に取り付けられているロック部材とを備え;第2レールが第1レールに対して所定位置にあり、かつロック部材がロック状態にある場合に、ロック部材とブロッキング特徴部とは、第2レールが所定位置から移動することを防止するために、相互にブロッキングするように構成され;2つの操作部材のうちの1つが操作された場合に、ロック部材は、ロック状態からロック解除状態へ切り替わるために駆動されるように構成され、これにより、ロック部材とブロッキング特徴部とは、相互にブロッキングしなくなり、第2レールを所定位置から離れるように移動させることを可能にする。
【0006】
本発明の実施形態によれば、スライドレール組立体は、第1レールと;第2レールであり、第2レールと第1レールとが相対的に長手方向に移動可能である第2レールと;第2レールに移動可能に取り付けられている第1操作部材と第2操作部材とであり、それぞれ、第1ギヤ構造と第2ギヤ構造とを含む第1操作部材と第2操作部材と;第2レールに移動可能に取り付けられているロック部材とを備え;第2レールが第1レールに対して後退位置にあり、かつロック部材がロック状態にある場合に、ロック部材と第1レールとは、第2レールが後退位置から移動することを防止するために、相互にロックされるように構成され;第1操作部材と第2操作部材とのうちの1つが、第1状態から第2状態へ移動するように操作されるプロセスの間に、第1操作部材と第2操作部材とのうちの他の1つは、相互に噛み合う第1ギヤ構造と第2ギヤ構造とを通じて、移動するように駆動され;ロック部材は、第2レールを後退位置から所定方向に移動させることを可能にするために、ロック状態からロック解除状態へ切り替わるために駆動されるように構成されている。
【0007】
様々な図及び図面に示された好ましい実施形態に関する以下の詳細な説明を読んだ後には、本発明のこれらの目的及び他の目的は、当業者に疑いなく明らかになる。
【図面の簡単な説明】
【0008】
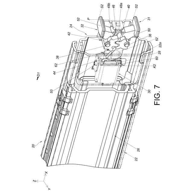
本発明の実施形態に係り、第1レールと第2レールとを少なくとも備えているスライドレール組立体を示す図である。
本発明の実施形態に係るスライドレール組立体の第1レールと、第2レールと、ハウジングとの分解図である。
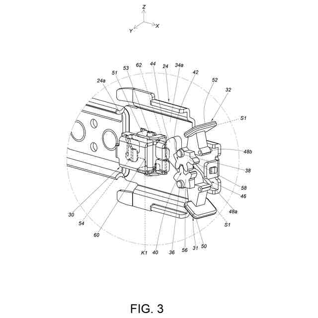
図2の領域Aの拡大図である。
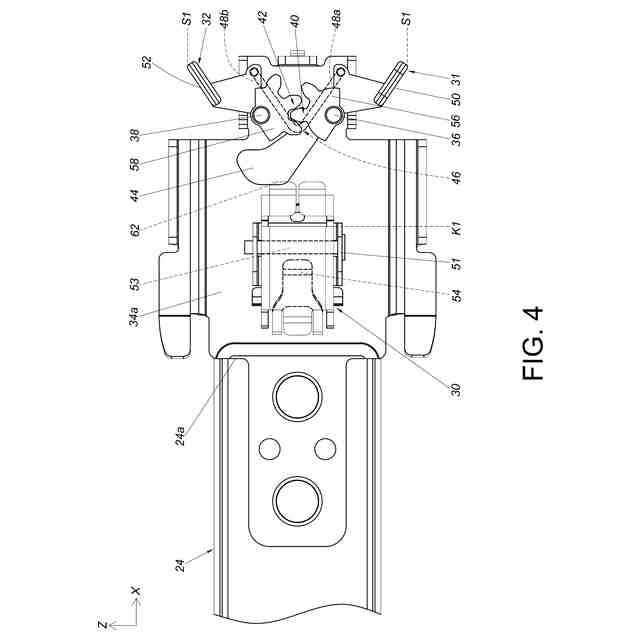
本発明の実施形態に係る第2レールの一部を示す図である。
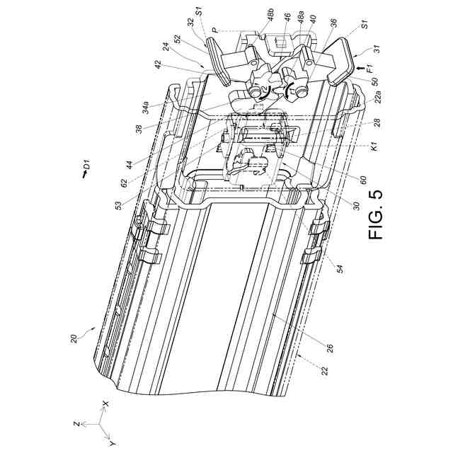
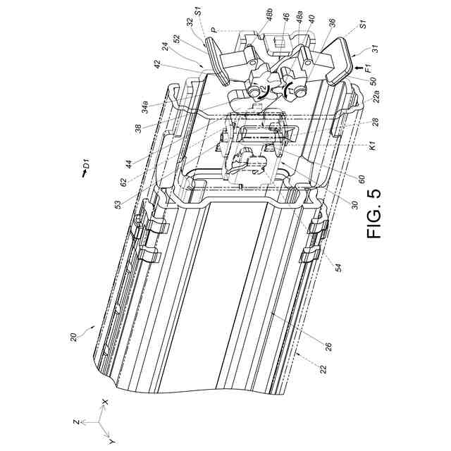
本発明の実施形態に係り、第2レールが第1レールに対して所定位置でロックされていることを1つの視角から示す図である。
本発明の実施形態に係り、第2レールが第1レールに対して所定位置でロックされていることを別の1つの視角から示す図である。
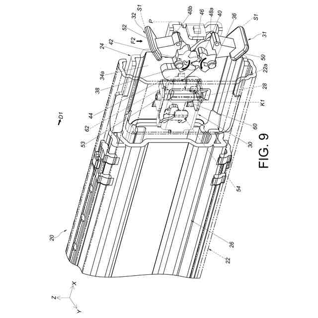
本発明の実施形態に係り、第1レールに対して第2レールをロック解除するために、ユーザが第1操作部材と第2操作部材とのうちの1つを操作することを1つの視角から示す図である。
本発明の実施形態に係り、第1レールに対して第2レールをロック解除するために、ユーザが第1操作部材と第2操作部材とのうちの1つを操作することを別の1つの視角から示す図である。
本発明の実施形態に係り、第2レールが第1レールに対して所定位置でロックされ、ユーザが第1操作部材と第2操作部材とのうちの他の1つを操作することを示す図である。
本発明の実施形態に係り、複数のスライドレール組立体がラックに取り付けられていることと、最上位置にあるスライドレール組立体の第1レールから第2レールをロック解除するために、ユーザが第1操作部材を操作することとを示す図である。
本発明の実施形態に係り、複数のスライドレール組立体がラックに取り付けられていることと、最下位置にあるスライドレール組立体の第1レールから第2レールをロック解除するために、ユーザが第2操作部材を操作することとを示す図である。
【発明を実施するための形態】
【0009】
本発明の実施形態に係り、図1及び図2に示すように、スライドレール組立体20は、相互に対して長手方向に移動可能な第1レール22と第2レール24とを備えている。好ましくは、スライドレール組立体20はさらに、第1レール22と第2レール24との間に移動可能に配置されている第3レール26を備えている。第3レール26には、第2レール24を移動可能に取り付けるように構成されている通路27が形成されている。これに加えて、本実施形態では、X軸は長手方向(又はスライドレールの長さ方向)であり、Y軸は横断方向(又はスライドレールの側方方向)であり、Z軸は縦方向(又はスライドレールの高さ方向)である。
【0010】
さらに、スライドレール組立体20はさらに、ブロッキング特徴部28と、ロック部材30と、2つの操作部材(第1操作部材31と第2操作部材32など)とを備えている。ロック部材30は、ブロッキング特徴部28と協働するように構成されている。
(【0011】以降は省略されています)
この特許をJ-PlatPat(特許庁公式サイト)で参照する
関連特許
川湖科技股分有限公司
ラック取り付けキット
2日前
個人
箸
1か月前
個人
家具
4か月前
個人
椅子
3か月前
個人
自助箸
7か月前
個人
掃除機
8か月前
個人
体洗い具
10か月前
個人
ソファー
2か月前
個人
屋外用箒
7か月前
個人
ハンガー
7か月前
個人
耳拭き棒
11か月前
個人
多用途紐
1か月前
個人
枕
8か月前
個人
掃除道具
8か月前
個人
掃除用具
3か月前
個人
枕
5か月前
個人
省煙消臭器
8か月前
個人
開閉トング
6か月前
個人
物品
3か月前
個人
掃除シート
9か月前
個人
片手代替具
11か月前
個人
組立式棚板
7か月前
個人
シャワー装置
6か月前
個人
中身のない枕
7か月前
個人
バターナイフ
1か月前
個人
洗面台
11か月前
個人
転倒防止装置
5か月前
個人
ゴミ袋保持枠
7か月前
個人
経典表示装置
4か月前
個人
受け皿
5か月前
個人
紙コップ 蓋
2か月前
個人
靴ベラ
2か月前
個人
組立家具
9か月前
個人
首支持具
3か月前
個人
コーヒー抽出器
4か月前
個人
汚水漏れ防止具
10か月前
続きを見る
他の特許を見る