TOP
|
特許
|
意匠
|
商標
特許ウォッチ
Twitter
他の特許を見る
10個以上の画像は省略されています。
公開番号
2025079296
公報種別
公開特許公報(A)
公開日
2025-05-21
出願番号
2024107110
出願日
2024-07-03
発明の名称
スライドレールアセンブリ
出願人
川湖科技股分有限公司
,
川益科技股ふん有限公司
代理人
弁理士法人ITOH
主分類
A47B
88/473 20170101AFI20250514BHJP(家具;家庭用品または家庭用設備;コーヒーひき;香辛料ひき;真空掃除機一般)
要約
【課題】 改善された制動効果を有するスライドレールアセンブリを提供すること。
【解決手段】 スライドレールアセンブリは、第1のレール、第2のレール、制動装置及び補助部材を含む。第1のレールは所定部を備える。第2レールは第1のレールに対して可動である。制動装置は第1のレールに配置される。補助部材は第2のレールに配置される。第2のレールを第1のレールに対して所定の方向に沿って動かすプロセスの間、補助部材は、制動装置が制動効果を提供するように、制動装置に当接するように構成されている。第2のレールが第1のレールに対して所定の方向に沿ってさらに動かされると、所定部は、補助部材に当接して、補助部材が制動装置から外れるように駆動するよう構成されている。
【選択図】 図2
特許請求の範囲
【請求項1】
所定部を備える第1のレールと、
前記第1のレールに対して可動な第2のレールと、
前記第1のレールに配置される制動装置と、
前記第2のレールに配置される補助部材であって、該補助部材は、前記第2のレールに対して第1の所定の状態と第2の所定の状態との間で切り換えられるように構成されている、補助部材と、
を含むスライドレールアセンブリであって、
前記第2のレールが前記第1のレールに対して第1の方向に沿って動かされるプロセスの間、前記第1の所定の状態にある前記補助部材は、前記制動装置が前記第2のレールに制動効果を提供するように、前記制動装置に当接するように構成され、
前記第2のレールが前記第1のレールに対して前記第1の方向に沿ってさらに動かされると、前記所定部は、前記制動装置が前記第2のレールにもはや制動効果を提供しないようにするため、前記補助部材を前記制動装置から外すために、前記補助部材に当接し、前記補助部材が前記第1の所定の状態から前記第2の所定の状態に切り替わるよう駆動するように構成されている、スライドレールアセンブリ。
続きを表示(約 1,900 文字)
【請求項2】
第3のレールをさらに含み、前記第1のレールは該第3のレールと前記第2のレールとの間に可動に取り付けられ、
前記第1のレールは、互いに反対側にある第1の端部及び第2の端部を有し、前記制動装置は、前記第1のレールの第1の端部に隣接して配置されている、請求項1に記載のスライドレールアセンブリ。
【請求項3】
前記第1のレールはブロック部をさらに備え、前記スライドレールアセンブリは、前記第2のレールに可動に取り付けられる第1の作用部材及び第2の作用部材をさらに含み、
前記第2のレールが前記第1のレールに対して前記第1の方向に沿って所定の位置にさらに動かされると、前記第1の作用部材及び前記第2の作用部材は、前記第2のレールが前記所定の位置から離れるのを防止するために、前記ブロック部の両端にそれぞれ隣接して位置するように構成されている、請求項1に記載のスライドレールアセンブリ。
【請求項4】
前記第1の作用部材及び前記第2の作用部材は前記第2のレールに枢結され、前記第2のレールは、前記第1の作用部材及び前記第2の作用部材にそれぞれ弾性力を提供するように構成された第1の弾性部及び第2の弾性部を備え、
前記スライドレールアセンブリは、前記第1の作用部材及び前記第2の作用部材を駆動して動かすように構成された少なくとも1つの操作部材をさらに含む、請求項3に記載のスライドレールアセンブリ。
【請求項5】
前記所定部は突出部であり、前記所定部は第1の所定端及び第2の所定端を有し、該第1の所定端及び該第2の所定端のうちの少なくとも一方はガイド部を備える、請求項1に記載のスライドレールアセンブリ。
【請求項6】
前記制動装置は、互いに対して可動な第1の制動部及び第2の制動部を含む、請求項1に記載のスライドレールアセンブリ。
【請求項7】
第1のレールと、
前記第1のレールに対して可動な第2のレールと、
前記第1のレール及び前記第2のレールのうちの一方に配置される制動装置及び所定部と、
前記第1のレール及び前記第2のレールのうちの他方に配置される補助部材であって、該補助部材は弾性部品である、補助部材と、
を含むスライドレールアセンブリであって、
前記第2のレールが前記第1のレールに対して開方向に沿って動かされるプロセスの間に、前記補助部材は、前記制動装置に当接して前記制動装置を駆動し制動効果を提供させるように構成され、
前記第2のレールが前記第1のレールに対して前記開方向に沿ってさらに動かされると、前記所定部は、前記補助部材がもはや前記制動装置に制動効果を提供させるよう駆動しないようにするために、前記補助部材に当接して前記補助部材を弾性変形させて前記制動装置から外れるようにさせるよう構成されている、スライドレールアセンブリ。
【請求項8】
第3のレールをさらに含み、前記第1のレールは該第3のレールと前記第2のレールとの間に可動に取り付けられ、前記第3のレールは外側レールであり、前記第1のレールは中間レールであり、前記第2のレールは内側レールであり、
前記第1のレールは互いに反対側にある第1の端部及び第2の端部を有し、前記制動装置は、前記第1のレールの第1の端部に隣接して配置されている、請求項7に記載のスライドレールアセンブリ。
【請求項9】
前記第1のレールはブロック部をさらに備え、前記スライドレールアセンブリは、前記第2のレールに可動に取り付けられる第1の作用部材をさらに含み、
前記第2のレールが前記第1のレールに対して前記開方向に沿って所定の位置にさらに動かされると、前記第1の作用部材は、前記第2のレールが前記開方向に沿って該所定の位置から離れるのを防止するために、前記ブロック部に隣接して位置するように構成され、前記第1の作用部材は前記第2のレールに枢結され、前記第2のレールは前記第1の作用部材に弾性力を提供するように構成された第1の弾性部を備え、前記スライドレールアセンブリは、前記第1の作用部材を駆動して動かすように構成された操作部材をさらに含む、請求項7に記載のスライドレールアセンブリ。
【請求項10】
前記所定部は突出部であり、前記所定部は第1の所定端及び第2の所定端を有し、該第1の所定端及び該第2の所定端のうちの少なくとも一方はガイド部を備える、請求項7に記載のスライドレールアセンブリ。
発明の詳細な説明
【技術分野】
【0001】
本発明は、スライドレールアセンブリに関し、より具体的には、一方のスライドレールが他方のスライドレールに対して所定の距離動かされた場合に制動効果を有するスライドレールアセンブリに関する。
続きを表示(約 2,800 文字)
【背景技術】
【0002】
特許文献1には、第1のレール、第2のレール、第3のレール及び制動装置を含む3セクションのスライドレールアセンブリが開示されている。第3のレール(例えば、中間レール)は第1のレール(例えば、外側レール)と第2のレール(例えば、内側レール)との間に可動に取り付けられている。制動装置は第1のレールに取り付けられている。第3のレールは、制動装置の両側にそれぞれ配置された第1の押圧部及び第2の押圧部を含む。第3のレールが動かされて第1のレールに対して第1の方向に沿って開けられるか又は第2の方向に沿って引っ込められた場合、制動装置は双方向制動機能のための制動効果を提供できる。
【0003】
特許文献2は、第1のレール(中間レール等)、ボールベアリングアセンブリ、第2のレール(内側レール等)及び制動装置を含むスライドレールアセンブリが開示されている。ボールベアリングアセンブリは第1のレール上に可動に取り付けられている。ボールベアリングアセンブリはボールリテーナ及び複数のボールを含む。ボールリテーナは停止部を含む。制動装置は第1のレール上に取り付けられている。制動装置はボールリテーナの停止部に対応し、制動力を提供するように構成されている。ボールリテーナは、ボールリテーナの停止部が制動装置に接触するように第2のレールによって駆動されて動かされるように構成されている。スライドレールアセンブリは、第3のレール(外側レール等)をさらに含み、第1のレールは第3のレールに対して可動である。特許文献に開示の第2のレール(内側レール等)は、制動効果を提供するために、ボールリテーナを駆動して制動装置に当接するよう動かすように構成されている。
【先行技術文献】
【特許文献】
【0004】
米国特許第10398228号明細書
米国特許第10781855号明細書
【発明の概要】
【発明が解決しようとする課題】
【0005】
特許文献1、2には、制動効果を提供するために制動装置を備えたスライドレールアセンブリが開示されている。しかしながら、異なる市場要求のために様々なスライドレール製品を開発することが重要である。
【0006】
本発明は、一方のスライドレールが他方のスライドレールに対して所定の距離動かされた場合に制動効果を有するスライドレールアセンブリを提供する。
【0007】
本発明の実施形態によれば、スライドレールアセンブリは、第1のレール、第2のレール、制動装置及び補助部材を含む。第1のレールは所定部を備える。第2のレールは第1のレールに対して可動である。制動装置は第1のレールに配置されている。補助部材は第2のレールに配置され、第2のレールに対して第1の所定の状態と第2の所定の状態との間で切り替わるように構成されている。第2のレールが第1のレールに対して第1の方向に沿って動かされるプロセスの間、第1の所定の状態にある補助部材は、制動装置が第2のレールに制動効果を提供するように、制動装置に当接するように構成され、第2のレールが第1のレールに対して第1の方向に沿ってさらに動かされると、所定部は、制動装置が第2のレールにもはや制動効果を提供しないようにするため、補助部材を制動装置から外すために、補助部材に当接し、補助部材が第1の所定の状態から第2の所定の状態に切り替わるよう駆動するように構成されている。
【0008】
本発明の別の実施形態によれば、スライドレールアセンブリは、第1のレールと、第2のレールと、制動装置及び所定部と、補助部材とを含む。第2のレールは第1のレールに対して可動である。制動装置及び所定部は、第1のレール及び第2のレールのうちの一方に配置されている。補助部材は第1のレール及び第2のレールのうちの他方に配置され、補助部材は弾性部品である。第2のレールが第1のレールに対して開方向に沿って動かされるプロセスの間に、補助部材は、制動装置に当接して制動装置を駆動し制動効果を提供させるように構成され、第2のレールが第1のレールに対して開方向に沿ってさらに動かされると、所定部は、補助部材がもはや制動装置に制動効果を提供させるよう駆動しないようにするために、補助部材に当接して補助部材を弾性変形させて制動装置から外れるようにさせるよう構成されている。
【0009】
本発明のこれらの及び他の目的は、様々な図面に示される好ましい実施形態の以下の詳細な説明を読んだ後、当業者に間違いなく明らかになる。
【図面の簡単な説明】
【0010】
図1は、本発明の一実施形態に係るスライドレールアセンブリを示す図である。
図2は、本発明の実施形態に係る、第1のレール、第2のレール及び第3のレールを含むスライドレールアセンブリの分解図である。
図3は、本発明の実施形態に係る第1のレールを示す図である。
図4は、本発明の実施形態に係る第2のレールを示す図である。
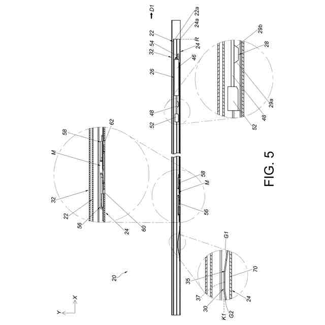
図5は、本発明の実施形態に係る、引っ込み状態にあるスライドレールアセンブリを示す図である。
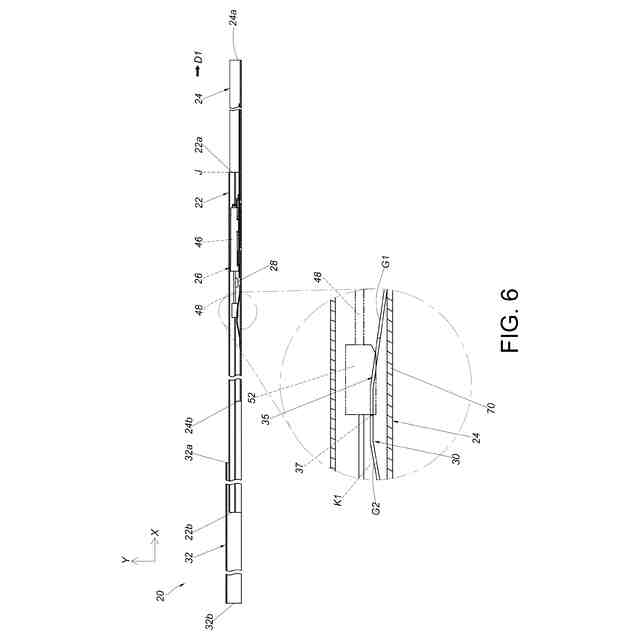
図6は、本発明の実施形態に係る、第1のレールが第3のレールに対して開位置に位置する状態を示す図であり、第2のレールが第1のレールに対して第1の方向に沿って動かされている。
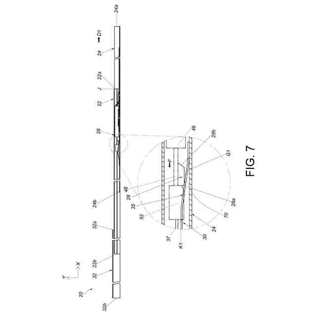
図7は、本発明の実施形態に係る、第1のレールが第3のレールに対して開位置に位置する状態を示す図であり、第2のレールが第1のレールに対して第1の方向に沿ってさらに動かされている。
図8は、本発明の実施形態に係る、第1のレールが第3のレールに対して開位置に位置する状態を示す図であり、第2のレールが第1のレールに対して所定の位置でロックされている。
図9は、本発明の実施形態に係る、第1のレールが第3のレールに対して開位置に位置する状態を別の視点で示す図であり、第2のレールは第1のレールに対して所定の位置でロックされている。
図10は、本発明の実施形態に係る、第2のレールが第1のレールに対して所定の位置に位置する状態を示す図であり、第1の作用部材が駆動されて第2のレールが第1の方向に沿って所定の位置から離れることができる。
図11は、本発明の実施形態に係る、第2のレールが第1のレールに対して所定の位置に位置する状態を示す図であり、第1の作用部材が駆動されて第2のレールが第2の方向に沿って所定の位置から離れることができる。
【発明を実施するための形態】
(【0011】以降は省略されています)
この特許をJ-PlatPat(特許庁公式サイト)で参照する
関連特許
川湖科技股分有限公司
駆動機構
8か月前
川湖科技股分有限公司
家具アセンブリ
12か月前
川湖科技股分有限公司
支持アセンブリ
7か月前
川湖科技股分有限公司
スライドレール機構
10か月前
川湖科技股分有限公司
スライドレール機構
1か月前
川湖科技股分有限公司
スライドレール機構
4か月前
川湖科技股分有限公司
スライドレール組立体
6か月前
川湖科技股分有限公司
スライドレール組立体
11か月前
川湖科技股分有限公司
スライドレール組立体
9か月前
川湖科技股分有限公司
スライドレール組立体
7か月前
川湖科技股分有限公司
スライドレール組立体
7か月前
川湖科技股分有限公司
スライドレールキット
6か月前
川湖科技股分有限公司
ラック取り付けキット
2日前
川湖科技股分有限公司
スライドレール組立体
5か月前
川湖科技股分有限公司
スライドレール組立体
5か月前
川湖科技股分有限公司
スライドレールキット
4か月前
川湖科技股分有限公司
スライドレール組立体
29日前
川湖科技股分有限公司
スライドレール組立体
23日前
川湖科技股分有限公司
スライドレール組立体
6か月前
川湖科技股分有限公司
スライドレールアセンブリ
6か月前
川湖科技股分有限公司
スライドレールアセンブリ
5か月前
川湖科技股分有限公司
スライドレールアセンブリ
7か月前
川湖科技股分有限公司
スライドレールアセンブリ
4か月前
川湖科技股分有限公司
スライドレールアセンブリ
23日前
川湖科技股分有限公司
調節装置及び関連するスライドレール機構
4日前
川湖科技股分有限公司
取り付けアセンブリ及びその取り付け装置
5か月前
川湖科技股分有限公司
インターロックキット及び関連する家具アセンブリ
11か月前
川湖科技股分有限公司
スライドレールアセンブリ及びそのスライドレールキット
10か月前
個人
箸
1か月前
個人
家具
4か月前
個人
椅子
3か月前
個人
自助箸
7か月前
個人
掃除機
8か月前
個人
体洗い具
10か月前
個人
ソファー
2か月前
個人
屋外用箒
7か月前
続きを見る
他の特許を見る