TOP
|
特許
|
意匠
|
商標
特許ウォッチ
Twitter
他の特許を見る
10個以上の画像は省略されています。
公開番号
2025170208
公報種別
公開特許公報(A)
公開日
2025-11-18
出願番号
2024194056
出願日
2024-11-06
発明の名称
調節装置及び関連するスライドレール機構
出願人
川湖科技股分有限公司
,
川益科技股ふん有限公司
代理人
弁理士法人ITOH
主分類
A47B
88/50 20170101AFI20251111BHJP(家具;家庭用品または家庭用設備;コーヒーひき;香辛料ひき;真空掃除機一般)
要約
【課題】保護機能を有する調節装置及び関連するスライドレール機構を提供する。
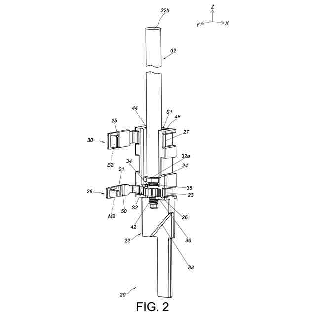
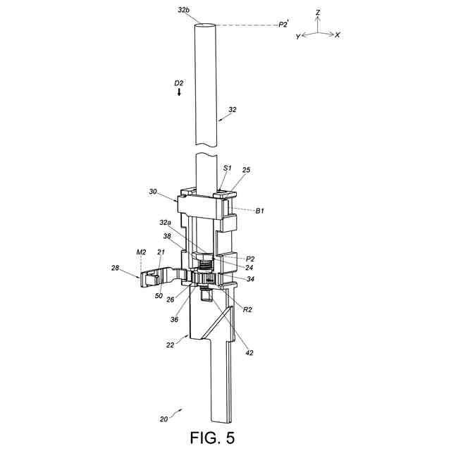
【解決手段】調節装置20が提供され、ベース22と、駆動部材24と、調節部材26と、係合部材28とを備えている。調節部材は26、ベース22に配置され、駆動部材24に調節可能に接続されている。係合部材28は、ベース22に対して係合状態と係合解除状態M2との間で切り替え可能である。係合部材28が係合状態にある場合に、係合部材28は、調節部材26が駆動部材24を調節することを防止するために、調節部材26と係合するように構成されている。係合部材28が係合解除状態にある場合に、係合部材28は、調節部材26が駆動部材24を調節することを可能にするために、調節部材26から係合解除される。
【選択図】図2
特許請求の範囲
【請求項1】
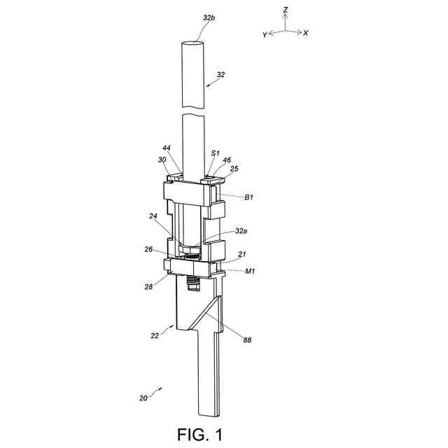
ベースと、
駆動部材と、
前記ベースに配置され、前記駆動部材に調節可能に接続されている調節部材と、
前記ベースに対して係合状態と係合解除状態との間で切り替え可能である係合部材とを備え、
前記係合部材が前記係合状態にある場合に、前記係合部材は、前記調節部材が前記駆動部材を調節することを防止するために、前記調節部材と係合するように構成され、
前記係合部材が前記係合解除状態にある場合に、前記係合部材は、前記調節部材が前記駆動部材を調節することを可能にするために、前記調節部材から係合解除する、
調節装置。
続きを表示(約 2,000 文字)
【請求項2】
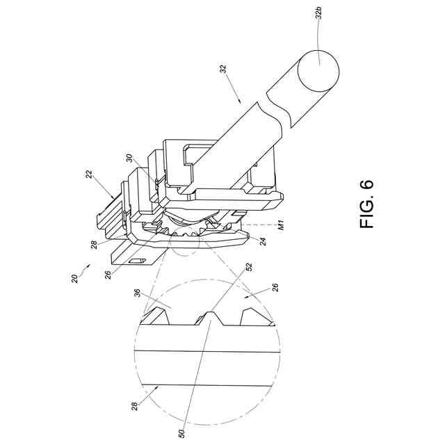
前記係合部材は、前記ベースに移動可能に取り付けられ、前記係合部材は、係合区間と第1所定特徴部とを含み、
前記係合区間は、前記調節部材が前記駆動部材を調節することを防止するために、前記調節部材の対応区間と係合するように構成され、
前記第1所定特徴部は、前記係合部材を前記係合状態に保持するために、前記ベースと係合するように構成されている、請求項1記載の調節装置。
【請求項3】
前記調節部材は、前記調節部材の回転によって前記駆動部材を調節するように構成され、前記駆動部材は、前記ベースに対して直線的に移動するように構成され、前記調節部材は、前記駆動部材にネジ結合で接続されている、請求項1記載の調節装置。
【請求項4】
前記ベースは、前記駆動部材と前記調節部材とを少なくとも部分的に受けるように構成されている受け構造を含む、請求項1記載の調節装置。
【請求項5】
調節装置は、作業部材に適合され、前記作業部材は、前記駆動部材の移動に応答して駆動される、請求項4記載の調節装置。
【請求項6】
調節装置は、補助装置と協働するように構成され、前記補助装置は、補助ベースを含み、
調節装置の前記ベースと前記補助装置の前記補助ベースとは、対称構造を有し、
前記作業部材は、ロッド状構造であり、第1端部と、前記第1端部とは反対側の第2端部とを含み、
前記作業部材の前記第1端部と前記第2端部とは、それぞれ高さ方向に、調節装置の前記ベースの前記受け構造の第1受け部分と、前記補助装置の前記補助ベースの補助受け構造の第1補助受け部分とに挿入され、
調節装置の前記ベースと前記補助装置の前記補助ベースとの対称軸は、前記高さ方向に垂直な方向に方向付けられている、請求項5記載の調節装置。
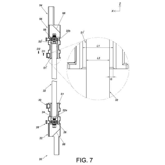
【請求項7】
前記高さ方向に垂直な長手方向での、調節装置の前記ベースの前記受け構造の前記第1受け部分の寸法は、制限された範囲の中で、前記作業部材が前記長手方向に移動することを可能にするために、前記長手方向での前記作業部材の前記第1端部の寸法よりも大きく、
前記長手方向での前記補助装置の前記補助ベースの前記補助受け構造の前記第1補助受け部分の寸法は、前記長手方向での前記作業部材の前記第2端部の寸法よりも大きい、請求項6記載の調節装置。
【請求項8】
調節装置の前記ベースの前記受け構造の前記第1受け部分は、横断方向開口を含み、
調節装置はさらに、ブロッキング部材を含み、前記ブロッキング部材は、前記ベースに移動可能に取り付けられ、ブロッキング状態と非ブロッキング状態との間で切り替え可能であり、
前記ブロッキング部材が前記ブロッキング状態にある場合に、前記横断方向開口を介して、前記高さ方向と長手方向とに垂直な横断方向に、前記作業部材が調節装置の前記ベースの前記受け構造の前記第1受け部分から離脱することを防止するために、前記ブロッキング部材は、前記横断方向開口をブロッキングするように構成されている、請求項6記載の調節装置。
【請求項9】
調節装置の前記ベースの前記受け構造は、第1受け部分と、前記第1受け部分に連通する第2受け部分とを含み、前記第1受け部分は、前記駆動部材と作業部材とを少なくとも部分的に受けるように構成され、
前記第2受け部分は、前記調節部材を少なくとも部分的に受けるように構成され、
制限された範囲の中で、前記作業部材が長手方向に移動することを可能にするために、前記長手方向での調節装置の前記ベースの前記受け構造の前記第1受け部分の寸法は、前記長手方向での前記作業部材の第1端部の寸法よりも大きい、請求項4記載の調節装置。
【請求項10】
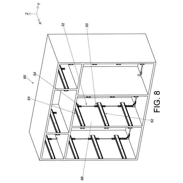
第1レールと、前記第1レールに対して長手方向に変位可能である第2レールとを含む第1スライドレール組立体と、
第3レールと、前記第3レールに対して前記長手方向に変位可能である第4レールとを含む第2スライドレール組立体と、
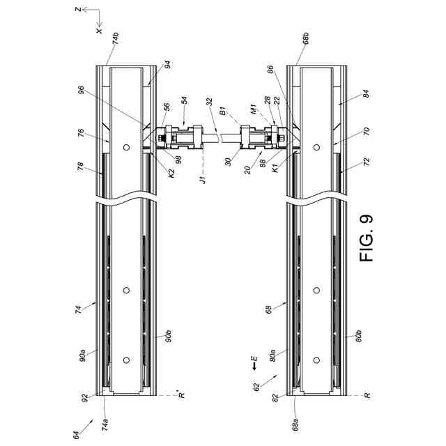
請求項1ないし9のいずれか1項に記載の調節装置であり、前記第1スライドレール組立体に移動可能に取り付けられている調節装置と、
前記第2スライドレール組立体に移動可能に取り付けられている補助装置と、
前記調節装置と前記補助装置との間に配置されている作業部材とを備え、
前記第2レールが開放方向に前記第1レールに対して変位した場合に、前記調節装置と、前記作業部材と、前記補助装置とは、駆動されて移動し、これにより、前記補助装置は、前記第4レールが前記第3レールに対して前記開放方向に変位することを防止する、
スライドレール機構。
発明の詳細な説明
【技術分野】
【0001】
本発明は、請求項1及び10の(特徴項に先立つ)プレアンブルに係る調節装置及び関連するスライドレール機構に関する。
続きを表示(約 1,500 文字)
【背景技術】
【0002】
台湾特許第I822613号は、スライドレール機構の調節装置を開示している。調節装置は、ベースと、駆動部材と、調節部材とを備えている。調節部材は、ベースに配置され、駆動部材を調節するように構成されている。調節装置は、作業部材と協働するように構成され、スライドレール機構のただ1つのスライドレール組立体のみを開けることを可能にするインターロックとして機能する。
【発明の概要】
【0003】
しかし、インターロックには保護機構が設けられていない。即ち、調節部材に不用意に外力が加わった場合に、駆動部材及び/又は作業部材が駆動してインターロックが誤動作する可能性がある。従って、異なる要求に応えるためには、異なる製品を提供することが重要なテーマとなる。
【0004】
これを念頭において、本発明は、保護機能を備えた調節装置及び関連するスライドレール機構を提供することを目的とする。
【0005】
これは、請求項1及び10記載の調節装置及び関連するスライドレール機構によって達成される。従属請求項は、対応する一層の発展及び改良に関する。
【0006】
以下の詳細な説明から一層明確に分かるように、請求項に記載された調節装置は、
ベースと、
駆動部材と、
ベースに配置され、駆動部材に調節可能に接続されている調節部材と、
ベースに対して係合状態と係合解除状態との間で切り替え可能である係合部材とを備え、
係合部材が係合状態にある場合に、係合部材は、調節部材が駆動部材を調節することを防止するために、調節部材と係合するように構成され、
係合部材が係合解除状態にある場合に、係合部材は、調節部材が駆動部材を調節することを可能にするために、調節部材から係合解除するものである。
【0007】
さらに、請求項に記載されたスライドレール機構は、
第1レールと、第1レールに対して長手方向に変位可能である第2レールとを含む第1スライドレール組立体と、
第3レールと、第3レールに対して長手方向に変位可能である第4レールとを含む第2スライドレール組立体と、
上述した調節装置であり、第1スライドレール組立体に移動可能に取り付けられている調節装置と、
第2スライドレール組立体に移動可能に取り付けられている補助装置と、
調節装置と補助装置との間に配置されている作業部材とを備え、
第2レールが開放方向に第1レールに対して変位した場合に、調節装置と、作業部材と、補助装置とは、駆動されて移動し、これにより、補助装置は、第4レールが第3レールに対して開放方向に変位することを防止するものである。
【0008】
要約すると、係合部材は、調節部材の意図しない移動を防止するために調節部材と協働するように構成され、調節装置の信頼性を高める。さらに、制限された範囲の中で、作業部材が長手方向に移動することを可能にするために、長手方向での調節装置のベースの受け構造の第1受け部分の寸法が、長手方向での作業部材の第1端部の寸法よりも大きい構成により、調節装置は、組み付け誤差を補償することができる。
【0009】
様々な図及び図面に示された好ましい実施形態に関する以下の詳細な説明を読んだ後には、本発明のこれらの目的及び他の目的は、当業者に疑いなく明らかになる。
【図面の簡単な説明】
【0010】
以下では、本発明を、下記の添付の図面を参照しながら、例としてさらに説明する。
(【0011】以降は省略されています)
この特許をJ-PlatPat(特許庁公式サイト)で参照する
関連特許
個人
箸
1か月前
個人
家具
4か月前
個人
椅子
3か月前
個人
自助箸
7か月前
個人
掃除機
8か月前
個人
体洗い具
10か月前
個人
ソファー
2か月前
個人
屋外用箒
7か月前
個人
ハンガー
7か月前
個人
耳拭き棒
11か月前
個人
多用途紐
1か月前
個人
枕
8か月前
個人
掃除道具
8か月前
個人
掃除用具
3か月前
個人
枕
5か月前
個人
省煙消臭器
8か月前
個人
開閉トング
6か月前
個人
物品
3か月前
個人
掃除シート
9か月前
個人
片手代替具
11か月前
個人
組立式棚板
7か月前
個人
シャワー装置
6か月前
個人
中身のない枕
7か月前
個人
バターナイフ
1か月前
個人
洗面台
11か月前
個人
転倒防止装置
5か月前
個人
ゴミ袋保持枠
7か月前
個人
経典表示装置
4か月前
個人
受け皿
5か月前
個人
紙コップ 蓋
2か月前
個人
靴ベラ
2か月前
個人
組立家具
9か月前
個人
首支持具
3か月前
個人
コーヒー抽出器
4か月前
個人
汚水漏れ防止具
10か月前
個人
清掃用具
2日前
続きを見る
他の特許を見る