TOP
|
特許
|
意匠
|
商標
特許ウォッチ
Twitter
他の特許を見る
10個以上の画像は省略されています。
公開番号
2025164663
公報種別
公開特許公報(A)
公開日
2025-10-30
出願番号
2024174008
出願日
2024-10-03
発明の名称
スライドレールアセンブリ
出願人
川湖科技股分有限公司
,
川益科技股ふん有限公司
代理人
弁理士法人ITOH
主分類
A47B
88/493 20170101AFI20251023BHJP(家具;家庭用品または家庭用設備;コーヒーひき;香辛料ひき;真空掃除機一般)
要約
【課題】動作信頼性の高いスライドレールアセンブリを提供する。
【解決手段】スライドレールアセンブリ20が提供され、第1のレール22、第2のレール24、補助スライド装置26、補助部材27及び保持部材28を含む。第2のレール24は第1のレール22のチャネル32に可動に取り付けられている。補助スライド装置26は、第1のレール22と第2のレール24との間に可動に取り付けられている。補助部材27は補助スライド装置26に接続され、係合部42を含む。保持部材28は第1のレール22に配置され、所定部位52を有する弾性部50を含む。補助部材27及び補助スライド装置26は、それぞれ第1の材料及び第2の材料でできている。第2のレール24が第1のレール22に対して開方向D1に沿って変位されて第1のレール22から取り外されると、補助スライド装置26は、係合部42と所定部位52との係合により所定の位置Kに位置する。
【選択図】図2A
特許請求の範囲
【請求項1】
チャネルを含む第1のレールと、
前記第1のレールのチャネルに可動に取り付けられ、前記第1のレールに対して長手方向に変位可能な第2のレールと、
前記第1のレールと前記第2のレールとの間に可動に取り付けられる補助スライド装置と、
前記補助スライド装置に接続される補助部材であって、該補助部材は係合部を含む、補助部材と、
前記第1のレールに配置される保持部材であって、該保持部材は弾性部を含み、該弾性部は所定部位を含む、保持部材と、
を含むスライドレールアセンブリであって、
前記補助部材は第1の材料でできており、前記補助スライド装置は第2の材料でできており、
前記第2のレールが前記第1のレールに対して開方向に沿って変位されることにより前記第1のレールのチャネルから取り外されると、前記補助スライド装置は、前記補助部材の係合部と前記保持部材の弾性部の所定部位との係合により所定の位置に位置する、スライドレールアセンブリ。
続きを表示(約 1,300 文字)
【請求項2】
前記補助部材は、前記補助スライド装置に接続される独立した部材である、請求項1に記載のスライドレールアセンブリ。
【請求項3】
前記補助スライド装置は凹部を含み、前記補助部材は接続部及び伸長部をさらに含み、該接続部は該凹部に接続されるように構成され、該伸長部は該接続部から延び、前記係合部は、該伸長部に配置されている、請求項1に記載のスライドレールアセンブリ。
【請求項4】
前記第1のレールは、前記弾性部が横方向に動くのを抑制するように構成された抑制部をさらに含み、
前記所定部位及び前記抑制部のうちの一方は収容構造であり、前記所定部位及び前記抑制部のうちの他方は、前記収容構造内に延びるように構成された突起であり、前記収容構造は複数の壁によって画定される穴構造である、請求項1に記載のスライドレールアセンブリ。
【請求項5】
前記第1のレールは、第1の壁、第2の壁及び前記第1のレールの該第1の壁と該第2の壁との間に接続される長手壁をさらに含み、前記第1のレールの第1の壁、第2の壁及び長手壁は協働して前記第1のレールのチャネルを画定し、前記保持部材は、前記第1のレールの長手壁に接続される本体部をさらに含み、前記弾性部は第1の端部区画及び第2の端部区画をさらに含み、前記弾性部の第1の端部区画は前記保持部材の本体部に接続され、前記所定部位は前記弾性部の第2の端部区画に配置され、前記弾性部の第2の端部区画は第1のガイド部及び第2のガイド部を含み、前記所定部位は該第1のガイド部と該第2のガイド部との間に配置され、前記保持部材の本体部は前記弾性部を支持するように構成された支持区画を含み、前記本体部は、前記保持部材が一体構造となるように前記弾性部及び前記支持区画と一体的に形成されている、請求項1に記載のスライドレールアセンブリ。
【請求項6】
前記第2のレールは解除部を含み、前記第2のレールが前記第1のレールのチャネルの外から前記第1のレールのチャネル内に引っ込み方向に沿って挿入されると、前記第2のレールの解除部は、前記補助スライド装置が前記所定の位置から前記引っ込み方向に沿って変位できるようにするために、前記保持部材の弾性部を駆動して、前記補助部材の係合部と前記保持部材の弾性部の所定部位との係合を解除する、請求項1に記載のスライドレールアセンブリ。
【請求項7】
前記所定部位のサイズは前記係合部のサイズよりも大きい、請求項1に記載のスライドレールアセンブリ。
【請求項8】
前記補助スライド装置は第1の面及び第2の面を含み、該第1の面と前記第1のレールの長手壁との間の横方向距離は、該第2の面と前記第1のレールの長手壁との間の横方向距離よりも大きい、請求項1に記載のスライドレールアセンブリ。
【請求項9】
前記第1の材料の硬度は前記第2の材料の硬度よりも大きい、請求項1に記載のスライドレールアセンブリ。
【請求項10】
前記第1の材料は炭素鋼であり、前記第2の材料は亜鉛めっき鋼である、請求項1に記載のスライドレールアセンブリ。
発明の詳細な説明
【技術分野】
【0001】
本発明は、請求項1の前提部に係るスライドレールアセンブリに関する。
続きを表示(約 2,400 文字)
【背景技術】
【0002】
特許文献1には、引出しスライドのための補助スライド位置決め機構が開示されている。補助スライド位置決め機構は、第1のレール、第2のレール、補助スライド部材及び位置決め部材を含む。補助スライド部材は、第1のレールと第2のレールとの間で可動に取り付けられる。補助スライド部材の前端に係合スロット構造が配置されている。係合スロットの下側に隣接して係合フックが配置されている。位置決め部材は、第1のレールのチャネルの入口に隣接して配置されている。第2のレールが開方向に沿って変位することにより第1のレールのチャネルから取り外されている場合、位置決め部材は、補助スライド部材が第1のレールに対して変位するのを規制するために、弾性フックロッドにより補助スライド部材の係合フックに係合し、第2のレールを第1のレールのチャネルの外から第1のレールのチャネル内に挿入する間の支持性及び/又は安定性を促進する。
【先行技術文献】
【特許文献】
【0003】
米国特許第6851773号明細書
米国特許第7648214号明細書
米国特許第9279451号明細書
【0004】
特許文献1では、係合フックと補助スライド部材とは互いに一体に形成され、同一材料でできている。しかしながら、様々な要求を満たすために、より動作信頼性の高いスライドレールアセンブリを提供することが重要な課題となっている。
【発明の概要】
【0005】
それに鑑み、本発明は、より動作信頼性の高いスライドレールアセンブリを提供することを目的とする。
【0006】
これは、請求項1に記載のスライドレールアセンブリによって実現される。従属請求項は対応する更なる展開及び改良に関する。
【0007】
以下の詳細な説明からより明確に分かるように、本願発明のスライドレールアセンブリは、第1のレール、第2のレール、補助スライド装置、補助部材及び保持部材を含む。第1のレールはチャネルを含む。第2のレールは第1のレールのチャネルに可動に取り付けられ、第1のレールに対して長手方向に変位可能である。補助スライド装置は第1のレールと第2のレールとの間に可動に取り付けられる。補助部材は補助スライド装置に接続される。補助部材は係合部を含む。保持部材は第1のレールに配置されている。保持部材は弾性部を含み、弾性部は所定部位を含む。補助部材は第1の材料でできており、補助スライド装置は第2の材料でできている。第2のレールが、第1のレールに対して開方向に沿って変位されることにより、第1のレールのチャネルから取り外されると、補助スライド装置は、補助部材の係合部と保持部材の弾性部の所定部位との係合により所定の位置に位置する。
【0008】
要約すると、本発明は、補助スライド装置を第1のレールに対して所定の位置に保持する動作においてより信頼性がある。
【0009】
本発明のこれらの及び他の目的は、様々な図及び図面に示される好ましい実施形態の以下の詳細な説明を読んだ後、当業者に間違いなく明らかになるであろう。
【図面の簡単な説明】
【0010】
以下、下記の添付の図面を参照しながら本発明を例示としてさらに説明する。
図1は、本発明の実施の形態に係るスライドレールアセンブリの概略図である。
図2Aは、本発明の実施の形態に係るスライドレールアセンブリの分解図である。
図2Bは、本発明の実施形態に係る保持部材の図である。
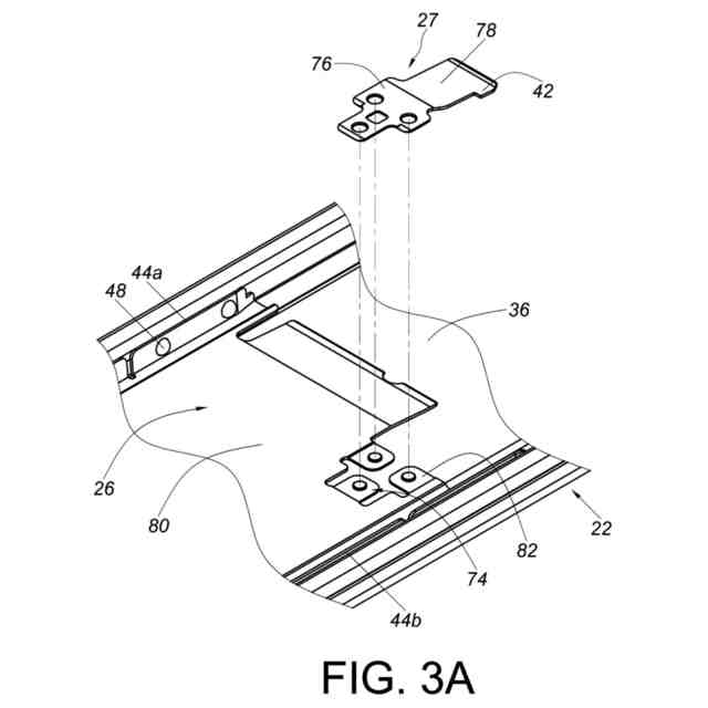
図3Aは、本発明の実施形態に係る、補助部材が補助スライド装置から取り外された状態のスライドレールアセンブリの部分拡大図である。
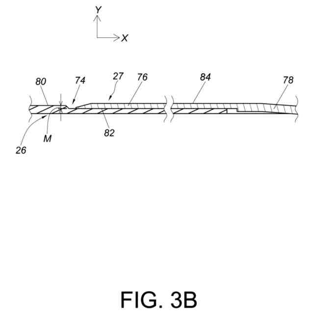
図3Bは、本発明の実施の形態に係る、補助部材が補助スライド装置に接続された状態のスライドレールアセンブリの部分拡大図である。
図4は、本発明の実施の形態に係るスライドレールアセンブリの部分図である。
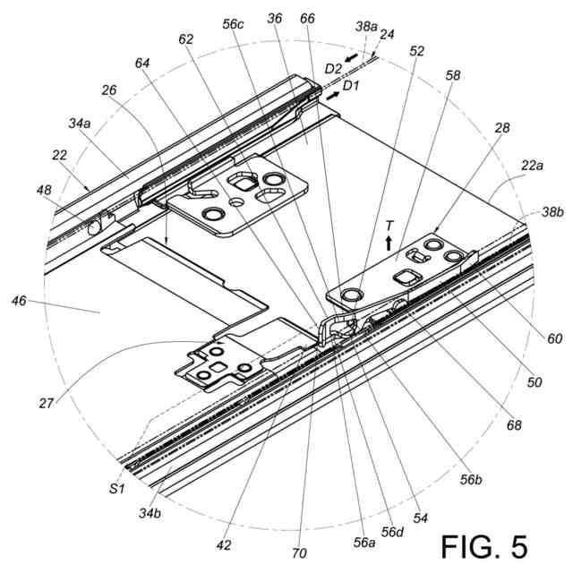
図5は、本発明の実施の形態に係る、第2のレールが第1のレールに対して開方向に沿って変位した状態のスライドレールアセンブリの部分図である。
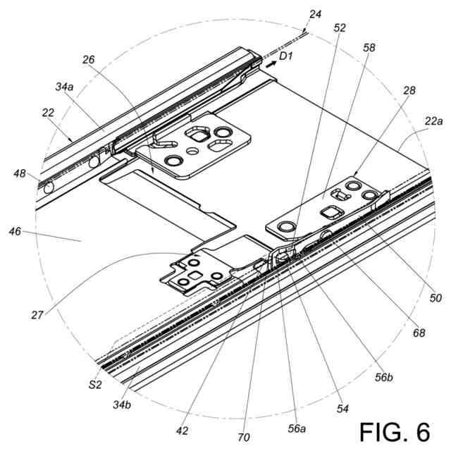
図6は、本発明の実施形態に係る、第2のレールが第1のレールに対して図5に示す位置から開方向に沿って変位した状態のスライドレールアセンブリの図である。
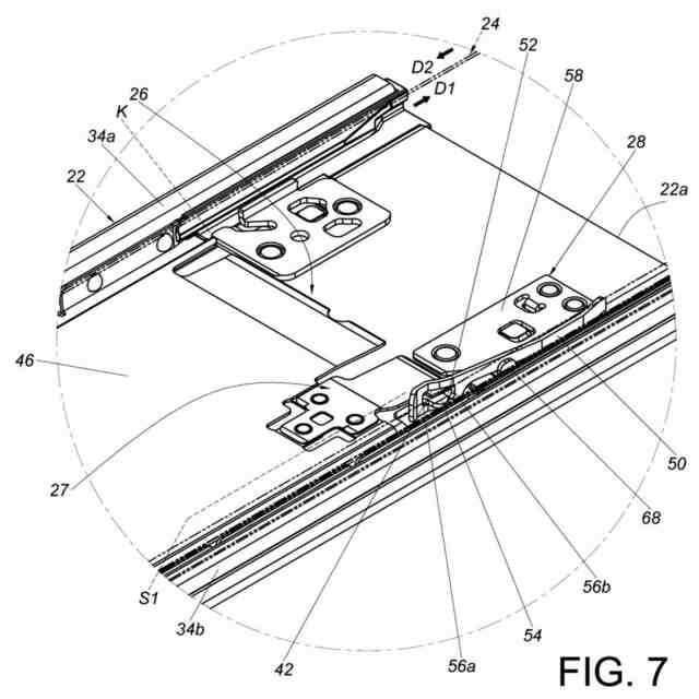
図7は、本発明の実施形態に係る、第2のレールが第1のレールに対して図6に示す位置から開方向に沿って変位した状態のスライドレールアセンブリの図である。
図8は、本発明の実施形態に係る、第2のレールが第1のレールから取り外され、第1のレールが第3のレールに対して伸長位置に位置する状態のスライドレールアセンブリの図である。
図9は、本発明の実施形態に係る、第2のレールが第1のレールのチャネルの外から第1のレールのチャネル内に挿入される状態のスライドレールアセンブリの図である。
図10は、本発明の実施形態に係る、第2のレールが第1のレールに対して図9に示す位置から引っ込み方向に沿って変位する状態のスライドレールアセンブリの図である。
図11は、第2のレールが第1のレールに対して図10に示す位置から引っ込み方向に沿って変位する状態のスライドレールアセンブリの図である。
図12は、本発明の実施形態による、第2のレールが図11に示す位置から引込み方向に沿って第1のレールに対して変位するときのスライドレールアセンブリの図である。
【発明を実施するための形態】
(【0011】以降は省略されています)
この特許をJ-PlatPat(特許庁公式サイト)で参照する
関連特許
川湖科技股分有限公司
駆動機構
8か月前
川湖科技股分有限公司
家具アセンブリ
12か月前
川湖科技股分有限公司
支持アセンブリ
7か月前
川湖科技股分有限公司
スライドレール機構
10か月前
川湖科技股分有限公司
スライドレール機構
1か月前
川湖科技股分有限公司
スライドレール機構
4か月前
川湖科技股分有限公司
スライドレール組立体
6か月前
川湖科技股分有限公司
スライドレール組立体
11か月前
川湖科技股分有限公司
スライドレール組立体
9か月前
川湖科技股分有限公司
スライドレール組立体
7か月前
川湖科技股分有限公司
スライドレール組立体
7か月前
川湖科技股分有限公司
スライドレールキット
6か月前
川湖科技股分有限公司
ラック取り付けキット
2日前
川湖科技股分有限公司
スライドレール組立体
5か月前
川湖科技股分有限公司
スライドレール組立体
5か月前
川湖科技股分有限公司
スライドレールキット
4か月前
川湖科技股分有限公司
スライドレール組立体
29日前
川湖科技股分有限公司
スライドレール組立体
23日前
川湖科技股分有限公司
スライドレール組立体
6か月前
川湖科技股分有限公司
スライドレールアセンブリ
6か月前
川湖科技股分有限公司
スライドレールアセンブリ
5か月前
川湖科技股分有限公司
スライドレールアセンブリ
7か月前
川湖科技股分有限公司
スライドレールアセンブリ
4か月前
川湖科技股分有限公司
スライドレールアセンブリ
23日前
川湖科技股分有限公司
調節装置及び関連するスライドレール機構
4日前
川湖科技股分有限公司
取り付けアセンブリ及びその取り付け装置
5か月前
川湖科技股分有限公司
インターロックキット及び関連する家具アセンブリ
11か月前
川湖科技股分有限公司
スライドレールアセンブリ及びそのスライドレールキット
10か月前
個人
箸
1か月前
個人
家具
4か月前
個人
椅子
3か月前
個人
自助箸
7か月前
個人
掃除機
8か月前
個人
体洗い具
10か月前
個人
ソファー
2か月前
個人
屋外用箒
7か月前
続きを見る
他の特許を見る