TOP
|
特許
|
意匠
|
商標
特許ウォッチ
Twitter
他の特許を見る
公開番号
2025170889
公報種別
公開特許公報(A)
公開日
2025-11-20
出願番号
2024075725
出願日
2024-05-08
発明の名称
情報提供システム、及び情報提供方法
出願人
トヨタ自動車株式会社
代理人
個人
主分類
G06Q
50/10 20120101AFI20251113BHJP(計算;計数)
要約
【課題】ユーザが使用場所に応じて必要なロボット関連リソースを定量的に知ることができる情報提供システム、及び情報提供方法を提供する。
【解決手段】本開示にかかる情報提供システムは、自律移動する移動ロボット20に組合せて用いられることで異なる複数のサービスを移動ロボット20が実行することを可能とする複数のロボット付属ユニット30に関する情報と、移動ロボット20が稼働する場所に関する情報と、求められるサービスの種類に関する情報と、を含む入力情報を入力する。情報提供システムは、入力情報に基づき、サービスに必要な、移動ロボット20と複数のロボット付属ユニット30とについてのリソース量に関する情報であるリソース情報を算出する算出処理を行い、算出処理で算出された結果を出力する。
【選択図】図1
特許請求の範囲
【請求項1】
自律移動ロボットについての情報を提供する情報提供システムであって、
前記自律移動ロボットに組合せて用いられることで異なる複数のサービスを前記自律移動ロボットが実行することを可能とする複数のロボット付属ユニットに関する情報と、前記自律移動ロボットが稼働する場所に関する情報と、求められるサービスの種類に関する情報と、を含む入力情報を入力し、
前記入力情報に基づき、サービスに必要な、前記自律移動ロボットと複数のロボット付属ユニットとについてのリソース量に関する情報であるリソース情報を算出する算出処理を行い、
前記算出処理で算出された結果を出力する、
情報提供システム。
続きを表示(約 630 文字)
【請求項2】
前記算出処理は、前記リソース情報の一部として、前記入力情報に基づいて、必要な人のリソース量に関する情報を含んだ情報を算出する、
請求項1に記載の情報提供システム。
【請求項3】
前記算出処理は、前記入力情報に基づき、サービスに必要な前記自律移動ロボットと前記ロボット付属ユニットとの複数の組合せのそれぞれについて、前記リソース情報を算出する、
請求項1又は2に記載の情報提供システム。
【請求項4】
前記異なる複数のサービスは、搬送サービス、巡回警備サービス、及び清掃サービスのうち、少なくとも2つを含む、
請求項1又は2に記載の情報提供システム。
【請求項5】
コンピュータが自律移動ロボットについての情報を提供する情報提供方法であって、
前記自律移動ロボットに組合せて用いられることで異なる複数のサービスを前記自律移動ロボットが実行することを可能とする複数のロボット付属ユニットに関する情報と、前記自律移動ロボットが稼働する場所に関する情報と、求められるサービスの種類に関する情報と、を含む入力情報を入力し、
前記入力情報に基づき、サービスに必要な、前記自律移動ロボットと複数のロボット付属ユニットとについてのリソース量に関する情報であるリソース情報を算出する算出処理を行い、
前記算出処理で算出された結果を出力する、
情報提供方法。
発明の詳細な説明
【技術分野】
【0001】
本開示は、情報提供システム、及び情報提供方法に関する。
続きを表示(約 1,500 文字)
【背景技術】
【0002】
特許文献1には、車輪付きカートを牽引する自律移動ロボットが開示されている。
【先行技術文献】
【特許文献】
【0003】
国際公開第2023/86665号
【発明の概要】
【発明が解決しようとする課題】
【0004】
ユーザが使用場所に応じて必要なロボット関連リソースを定量的に知ることができる技術が望まれる。なお、特許文献1に記載の技術は、この課題を解決できる技術ではない。
【課題を解決するための手段】
【0005】
本開示にかかる情報提供システムは、自律移動ロボットについての情報を提供する情報提供システムであって、前記自律移動ロボットに組合せて用いられることで異なる複数のサービスを前記自律移動ロボットが実行することを可能とする複数のロボット付属ユニットに関する情報と、前記自律移動ロボットが稼働する場所に関する情報と、求められるサービスの種類に関する情報と、を含む入力情報を入力し、前記入力情報に基づき、サービスに必要な、前記自律移動ロボットと複数のロボット付属ユニットとについてのリソース量に関する情報であるリソース情報を算出する算出処理を行い、前記算出処理で算出された結果を出力するものである。システムは、例えば機械学習モデルを用い算出を行ってもよい。
【0006】
本開示にかかる情報提供方法は、コンピュータが自律移動ロボットについての情報を提供する情報提供方法であって、前記自律移動ロボットに組合せて用いられることで異なる複数のサービスを前記自律移動ロボットが実行することを可能とする複数のロボット付属ユニットに関する情報と、前記自律移動ロボットが稼働する場所に関する情報と、求められるサービスの種類に関する情報と、を含む入力情報を入力し、前記入力情報に基づき、サービスに必要な、前記自律移動ロボットと複数のロボット付属ユニットとについてのリソース量に関する情報であるリソース情報を算出する算出処理を行い、前記算出処理で算出された結果を出力するものである。コンピュータは、例えば機械学習モデルを用い算出を行ってもよい。
【発明の効果】
【0007】
本開示によれば、ユーザが使用場所に応じて必要なロボット関連リソースを定量的に知ることができる情報提供システム、及び情報提供方法を提供することができる。
【図面の簡単な説明】
【0008】
情報提供システムを備えた管理システムの全体構成を示す模式図である。
図1の管理システムの制御系を示すブロック図である。
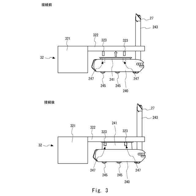
図1の清掃ユニットの接続前後の構成を模式的に示す側面図である。
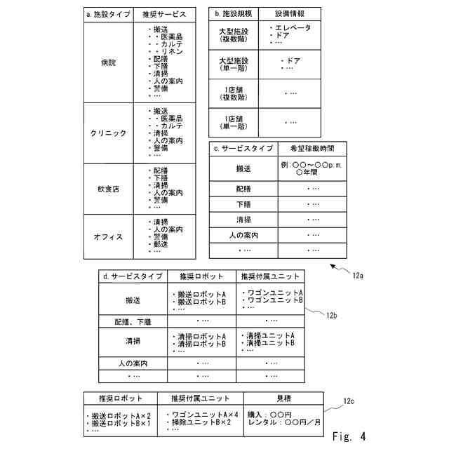
図1の管理システムで入出力される情報の一例を示す図である。
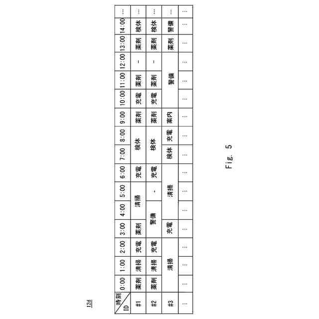
図1の管理システムで算出されるスケジュール情報の一例を示す図である。
本実施形態にかかる情報提供方法を示すフローチャートである。
【発明を実施するための形態】
【0009】
以下、発明の実施形態を通じて本発明を説明するが、特許請求の範囲に係る発明は以下の実施形態に限定するものではない。また、実施形態で説明する構成の全てが課題を解決するための手段として必須であるとは限らない。
【0010】
本実施形態にかかる情報提供システムは、自律移動ロボットについての情報を提供するシステムである。この情報提供システムは、複数のサービス(タスクともいう)を実行可能な自律移動ロボットの運用を管理する管理システム内に組み込むことができる。
(【0011】以降は省略されています)
この特許をJ-PlatPat(特許庁公式サイト)で参照する
関連特許
トヨタ自動車株式会社
車両
24日前
トヨタ自動車株式会社
車両
17日前
トヨタ自動車株式会社
車両
24日前
トヨタ自動車株式会社
治具
25日前
トヨタ自動車株式会社
電池
1か月前
トヨタ自動車株式会社
方法
1か月前
トヨタ自動車株式会社
電池
18日前
トヨタ自動車株式会社
車両
26日前
トヨタ自動車株式会社
方法
17日前
トヨタ自動車株式会社
車両
18日前
トヨタ自動車株式会社
電池
9日前
トヨタ自動車株式会社
車両
3日前
トヨタ自動車株式会社
配管
4日前
トヨタ自動車株式会社
電池
3日前
トヨタ自動車株式会社
車体
17日前
トヨタ自動車株式会社
車両
17日前
トヨタ自動車株式会社
車両
4日前
トヨタ自動車株式会社
ロータ
4日前
トヨタ自動車株式会社
モータ
27日前
トヨタ自動車株式会社
電動車
4日前
トヨタ自動車株式会社
サーバ
27日前
トヨタ自動車株式会社
モータ
16日前
トヨタ自動車株式会社
電動車
3日前
トヨタ自動車株式会社
蓄電池
17日前
トヨタ自動車株式会社
制御装置
4日前
トヨタ自動車株式会社
制御装置
4日前
トヨタ自動車株式会社
学習装置
3日前
トヨタ自動車株式会社
制御装置
4日前
トヨタ自動車株式会社
エンジン
4日前
トヨタ自動車株式会社
電池装置
26日前
トヨタ自動車株式会社
蓄電装置
25日前
トヨタ自動車株式会社
コネクタ
3日前
トヨタ自動車株式会社
電源装置
25日前
トヨタ自動車株式会社
バッテリ
1か月前
トヨタ自動車株式会社
蓄電装置
16日前
トヨタ自動車株式会社
蓄電装置
24日前
続きを見る
他の特許を見る