TOP
|
特許
|
意匠
|
商標
特許ウォッチ
Twitter
他の特許を見る
公開番号
2025170641
公報種別
公開特許公報(A)
公開日
2025-11-19
出願番号
2024075395
出願日
2024-05-07
発明の名称
巻線界磁型モータ
出願人
トヨタ自動車株式会社
代理人
弁理士法人酒井国際特許事務所
主分類
H02K
13/00 20060101AFI20251112BHJP(電力の発電,変換,配電)
要約
【課題】ロータの機能とは関係のない部品を最小とする構造を有することができる巻線界磁型モータを提供すること。
【解決手段】界磁巻線のコイルエンド部が樹脂により固定された構造を有するロータを備えた巻線界磁型モータであって、スリップリングと中空軸状の樹脂成型体とを含むスリップリング構造部と、ロータ軸と一体回転する軸と、樹脂成型体の内周面と軸の外周面との間をシールするシール部材と、コイルエンド部の最外周部を囲い、コイルエンド部を埋める樹脂を保持するリング部品と、を備え、樹脂成型体は、樹脂に埋められる部位である足部を有し、足部はスリップリング側の端面であり樹脂から露出した円環状の第1平面部を有し、リング部品は、軸方向におけるスリップリング側の端面であり、樹脂から露出した円環状の第2平面部を有し、シール部材は、足部の内周部と軸の外周部との間に配置されている。
【選択図】図1
特許請求の範囲
【請求項1】
界磁巻線がロータ突極に巻き回され、かつ前記界磁巻線のコイルエンド部が樹脂により固定された構造を有するロータを備えた巻線界磁型モータであって、
スリップリングと前記スリップリングが外周面に取り付けられた中空軸状の樹脂成型体とを含むスリップリング構造部と、
前記樹脂成型体の内部に配置され、前記ロータのロータ軸と一体回転する軸と、
前記樹脂成型体の内周面と前記軸の外周面との間をシールするシール部材と、
前記コイルエンド部の最外周部を囲い、前記コイルエンド部を埋める前記樹脂を保持するリング部品と、
を備え、
前記樹脂成型体は、前記樹脂に埋められる部位である足部を有し、
前記足部は、軸方向における前記スリップリング側の端面であり、前記樹脂から露出した円環状の平面である第1平面部を有し、
前記リング部品は、軸方向における前記スリップリング側の端面であり、前記樹脂から露出した円環状の平面である第2平面部を有し、
前記シール部材は、前記足部の内周部と前記軸の外周部との間に配置されている
ことを特徴とする巻線界磁型モータ。
発明の詳細な説明
【技術分野】
【0001】
本発明は、巻線界磁型モータに関する。
続きを表示(約 1,500 文字)
【背景技術】
【0002】
特許文献1には、巻線界磁型モータのロータに樹脂を注入する際に用いられる樹脂材注入用の金型が開示されている。
【先行技術文献】
【特許文献】
【0003】
特開平10-225072号公報
【発明の概要】
【発明が解決しようとする課題】
【0004】
特許文献1に記載の構成では、樹脂材供給装置から圧送されてくる樹脂材が注入口から金型の内部に入り、樹脂材をロータ内部に充填して硬化させることにより、樹脂材で界磁巻線を固定する。その際、樹脂材の注入圧への対策としてロータ外部への樹脂が漏れることを防ぐための部品(例えばロータ端の蓋)が必須となっている。しかしながら、この部品はロータの機能とは関係のない部品であるため、この部品の分だけ重量増加や部品コストの増加を招く虞がある。
【0005】
本発明は、上記事情に鑑みてなされたものであって、ロータの機能とは関係のない部品を最小とする構造を有することができる巻線界磁型モータを提供することを目的とする。
【課題を解決するための手段】
【0006】
本発明は、界磁巻線がロータ突極に巻き回され、かつ前記界磁巻線のコイルエンド部が樹脂により固定された構造を有するロータを備えた巻線界磁型モータであって、スリップリングと前記スリップリングが外周面に取り付けられた中空軸状の樹脂成型体とを含むスリップリング構造部と、前記樹脂成型体の内部に配置され、前記ロータのロータ軸と一体回転する軸と、前記樹脂成型体の内周面と前記軸の外周面との間をシールするシール部材と、前記コイルエンド部の最外周部を囲い、前記コイルエンド部を埋める前記樹脂を保持するリング部品と、を備え、前記樹脂成型体は、前記樹脂に埋められる部位である足部を有し、前記足部は、軸方向における前記スリップリング側の端面であり、前記樹脂から露出した円環状の平面である第1平面部を有し、前記リング部品は、軸方向における前記スリップリング側の端面であり、前記樹脂から露出した円環状の平面である第2平面部を有し、前記シール部材は、前記足部の内周部と前記軸の外周部との間に配置されていることを特徴とする。
【発明の効果】
【0007】
本発明では、ロータの機能とは関係のない部品を最小とする構造を有することができる。
【図面の簡単な説明】
【0008】
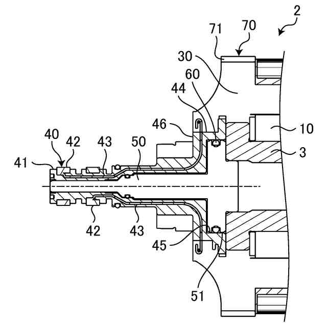
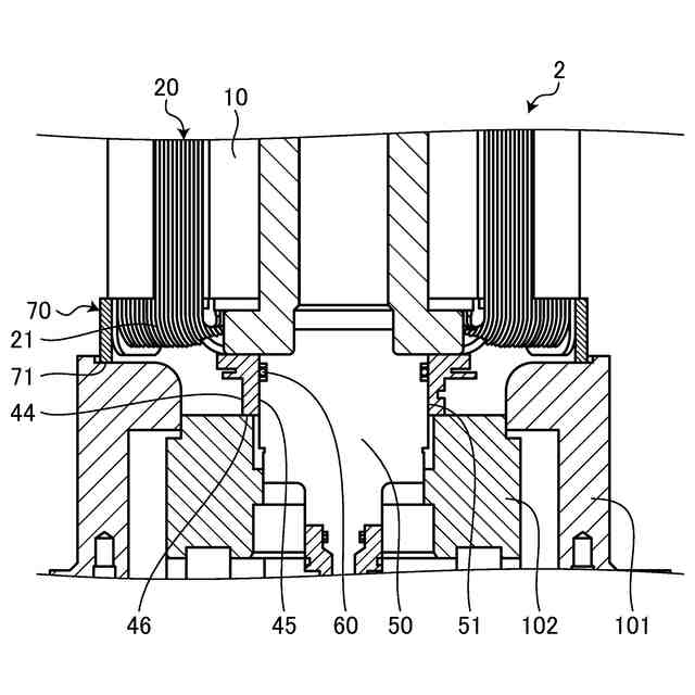
図1は、実施形態における巻線界磁型モータを模式的に示す図である。
図2は、巻線界磁型モータを説明するための図である。
図3は、巻線界磁型モータの詳細構造を説明するための図である。
図4は、足部に含まれる平面部と内周部を説明するための図である。
図5は、樹脂型を用いて樹脂をロータに充填することを説明するための図である。
【0009】
以下、本発明の実施形態における巻線界磁型モータについて具体的に説明する。なお、本発明は、以下に説明する実施形態に限定されるものではない。
【0010】
図1~図3に示すように、巻線界磁型モータ1は、ロータ2と、ロータ軸3と、ステータと、を備える。ロータ2はロータ軸3と一体回転する回転子である。ステータはロータ2の外周側に配置され、ケースに固定された固定子である。ステータのティース部にはステータコイルが巻き回されている。ステータコイルはU相巻線,V相巻線,W相巻線の三相巻線を含む。なお、図1等ではステータが省略されている。
(【0011】以降は省略されています)
特許ウォッチbot のツイートを見る
この特許をJ-PlatPat(特許庁公式サイト)で参照する
関連特許
トヨタ自動車株式会社
方法
28日前
トヨタ自動車株式会社
車体
15日前
トヨタ自動車株式会社
治具
23日前
トヨタ自動車株式会社
車両
22日前
トヨタ自動車株式会社
車両
22日前
トヨタ自動車株式会社
方法
15日前
トヨタ自動車株式会社
電池
7日前
トヨタ自動車株式会社
電池
1日前
トヨタ自動車株式会社
車両
15日前
トヨタ自動車株式会社
車両
24日前
トヨタ自動車株式会社
車両
15日前
トヨタ自動車株式会社
車両
1日前
トヨタ自動車株式会社
電池
16日前
トヨタ自動車株式会社
配管
2日前
トヨタ自動車株式会社
車両
2日前
トヨタ自動車株式会社
車両
16日前
トヨタ自動車株式会社
電動車
2日前
トヨタ自動車株式会社
蓄電池
15日前
トヨタ自動車株式会社
モータ
14日前
トヨタ自動車株式会社
ロータ
2日前
トヨタ自動車株式会社
電動車
1日前
トヨタ自動車株式会社
サーバ
25日前
トヨタ自動車株式会社
モータ
25日前
トヨタ自動車株式会社
製造設備
7日前
トヨタ自動車株式会社
蓄電装置
1日前
トヨタ自動車株式会社
路側装置
14日前
トヨタ自動車株式会社
反応容器
1日前
トヨタ自動車株式会社
電動車両
15日前
トヨタ自動車株式会社
蓄電装置
25日前
トヨタ自動車株式会社
監視装置
7日前
トヨタ自動車株式会社
樹脂外板
15日前
トヨタ自動車株式会社
制御装置
25日前
トヨタ自動車株式会社
制御装置
1日前
トヨタ自動車株式会社
判定装置
1日前
トヨタ自動車株式会社
濾過装置
16日前
トヨタ自動車株式会社
蓄電装置
14日前
続きを見る
他の特許を見る