TOP
|
特許
|
意匠
|
商標
特許ウォッチ
Twitter
他の特許を見る
10個以上の画像は省略されています。
公開番号
2025170559
公報種別
公開特許公報(A)
公開日
2025-11-19
出願番号
2024075230
出願日
2024-05-07
発明の名称
太陽電池設置構造
出願人
積水化学工業株式会社
代理人
弁護士法人クレオ国際法律特許事務所
主分類
E04D
13/18 20180101AFI20251112BHJP(建築物)
要約
【課題】主に、太陽電池と屋根との一体感が得られるようにする。
【解決手段】
屋根面1を複数枚の金属仕上材2で覆った金属屋根3に太陽電池4を設置する太陽電池設置構造に関する。
太陽電池4は、シート状の太陽電池11とされて、金属屋根3の金属仕上材2の上に面接触状態で配置される。
金属屋根3は、隣接する金属仕上材2の間に設けられた継部材15に、上からカバー部16が取付けられ、
シート状の太陽電池11は、カバー部16に設けた押さえ部17によって、上から押付け固定されても良い。
【選択図】図3
特許請求の範囲
【請求項1】
屋根面を複数枚の金属仕上材で覆った金属屋根に太陽電池を設置する太陽電池設置構造であって、
前記太陽電池は、シート状の太陽電池とされて、前記金属屋根の前記金属仕上材の上に面接触状態で配置されていることを特徴とする太陽電池設置構造。
続きを表示(約 720 文字)
【請求項2】
請求項1に記載の太陽電池設置構造であって、
前記金属屋根は、隣接する前記金属仕上材の間に設けられた継部材を上から覆うカバー部を有し、
シート状の前記太陽電池は、前記カバー部に設けた押さえ部によって、上から押付け固定されていることを特徴とする太陽電池設置構造。
【請求項3】
請求項1または請求項2に記載の太陽電池設置構造であって、
シート状の前記太陽電池は、電池本体の内部に複数のセルを有しており、
複数の前記セルは、前記電池本体の短辺方向または長辺方向に沿って並べられていることを特徴とする太陽電池設置構造。
【請求項4】
請求項1または請求項2に記載の太陽電池設置構造であって、
前記金属屋根は、棟部に棟カバーを有しており、
シート状の前記太陽電池は、ジャンクションボックスおよび配線が、前記棟カバーの内部に設置されていることを特徴とする太陽電池設置構造。
【請求項5】
請求項1または請求項2に記載の太陽電池設置構造であって、
シート状の前記太陽電池は、ジャンクションボックスどうしを向かい合わせた状態で、2列に並べて並設され、
片側の列は、隣接するシート状の前記太陽電池の前記ジャンクションボックスにおける、近接した+部と-部とが順に接続され、
他側の列は、隣接するシート状の前記太陽電池の前記ジャンクションボックスにおける、離れた+部と-部とが順に接続され、
列の両端部では、片側の列と他側の列の空いた+部どうし、および、空いた-部どうしが接続されていることを特徴とする太陽電池設置構造。
発明の詳細な説明
【技術分野】
【0001】
この発明は、太陽電池設置構造に関する。
続きを表示(約 1,200 文字)
【背景技術】
【0002】
太陽電池は、再生可能エネルギーの利用拡大によって建物などへの設置件数が増加する傾向にある。
【0003】
現在、一般的となっている太陽電池は、パネル状のモジュールとされており、固定金具を用いて建物の屋根の上に設置される(例えば、特許文献1参照)。
【先行技術文献】
【特許文献】
【0004】
実登第3241380号公報
【発明の概要】
【発明が解決しようとする課題】
【0005】
例えば、特許文献1に記載された太陽電池は、建物の屋根の上に、パネル状のモジュールを載置して固定するようにしていた。パネル状のモジュールは、平面視矩形状の太陽電池本体の外周を矩形枠で覆ったものであり、屋根とは無関係な独立した形状および構成の屋根搭載物であった。そのため、太陽電池は、屋根との一体感が乏しかった。
【0006】
そこで、本発明は、上記した問題点の改善に寄与することを主な目的としている。
【課題を解決するための手段】
【0007】
上記課題に対して、本発明は、
屋根面を複数枚の金属仕上材で覆った金属屋根に太陽電池を設置する太陽電池設置構造であって、
前記太陽電池は、シート状の太陽電池とされて、前記金属屋根の前記金属仕上材の上に面接触状態で配置されていることを特徴とする。
【発明の効果】
【0008】
本発明は、上記構成によって、太陽電池と屋根との一体感を得ることなどができる。
【図面の簡単な説明】
【0009】
実施例にかかる太陽電池設置構造を備えた金属屋根(切妻屋根)の斜視図である。
図1とは異なる金属屋根(寄棟屋根)を示す斜視図である。
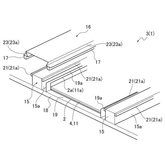
図1の金属屋根の部分的な分解斜視図である。
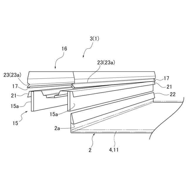
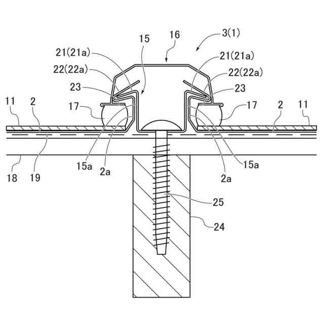
図3の金属屋根の正面図である。
図3の変形例にかかる金属仕上材の継部分の分解斜視図である。
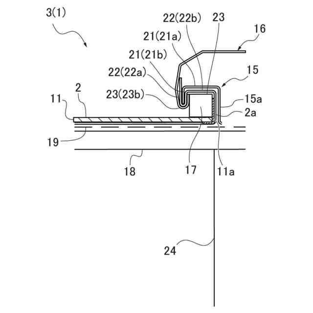
他の実施例にかかる金属屋根の正面図である。
図6Aの変形例にかかる金属仕上材の継部分の正面図である。
図6Aの他の変形例にかかる金属仕上材の継部分の拡大した正面図である。
別の実施例にかかる金属仕上材の継部分の拡大した正面図である。
シート状の太陽電池の構造図である。このうち、(a)は平面図、(b)は断面図である。
シート状の太陽電池の別の構造を示す平面図である。
金属屋根の棟部分の縦断面図である。
シート状の太陽電池の接続状態を示す平面図である。
【発明を実施するための形態】
【0010】
本実施の形態は、図1~図10を用いて詳細に説明される。
【実施例】
(【0011】以降は省略されています)
この特許をJ-PlatPat(特許庁公式サイト)で参照する
関連特許
積水化学工業株式会社
複層管
1か月前
積水化学工業株式会社
樹脂管
1か月前
積水化学工業株式会社
配管構造
1か月前
積水化学工業株式会社
集合継手
1か月前
積水化学工業株式会社
解析方法
1か月前
積水化学工業株式会社
製管装置
1か月前
積水化学工業株式会社
積層構造体
1か月前
積水化学工業株式会社
耐火処理構造
1か月前
積水化学工業株式会社
雨樋システム
20日前
積水化学工業株式会社
耐火処理構造
1か月前
積水化学工業株式会社
両面粘着テープ
1か月前
積水化学工業株式会社
配管の接続構造
1か月前
積水化学工業株式会社
両面粘着テープ
1か月前
積水化学工業株式会社
螺旋管の製管装置
1か月前
積水化学工業株式会社
更生管の製管方法
1か月前
積水化学工業株式会社
更生管の製管装置
1か月前
積水化学工業株式会社
防食用粘着テープ
1か月前
積水化学工業株式会社
太陽電池設置構造
5日前
積水化学工業株式会社
螺旋管の製管装置
1か月前
積水化学工業株式会社
太陽電池設置構造
5日前
積水化学工業株式会社
太陽電池設置構造
5日前
積水化学工業株式会社
熱伝導性樹脂組成物
1か月前
積水化学工業株式会社
基板積層体の製造方法
17日前
積水化学工業株式会社
樹脂組成物、放熱部材
1か月前
積水化学工業株式会社
基板積層体の製造方法
20日前
積水化学工業株式会社
継手構造および接続構造
1か月前
積水化学工業株式会社
床の施工方法及び建築物
1か月前
積水化学工業株式会社
配管構造及びプレハブ配管
1か月前
積水化学工業株式会社
配管構造及びプレハブ配管
1か月前
積水化学工業株式会社
集合継手及び排水システム
1か月前
積水化学工業株式会社
生産管理システムおよび方法
1か月前
積水化学工業株式会社
生産管理システムおよび方法
1か月前
積水化学工業株式会社
竪樋支持具および排水システム
20日前
積水化学工業株式会社
膜付き基材の製造方法及び粉体
1か月前
積水化学工業株式会社
太陽電池モジュールの取付構造
5日前
積水化学工業株式会社
軒樋支持具および雨樋システム
1か月前
続きを見る
他の特許を見る