TOP
|
特許
|
意匠
|
商標
特許ウォッチ
Twitter
他の特許を見る
公開番号
2025158037
公報種別
公開特許公報(A)
公開日
2025-10-16
出願番号
2024060474
出願日
2024-04-03
発明の名称
製管装置
出願人
積水化学工業株式会社
代理人
弁理士法人湧泉特許事務所
主分類
B29C
63/32 20060101AFI20251008BHJP(プラスチックの加工;可塑状態の物質の加工一般)
要約
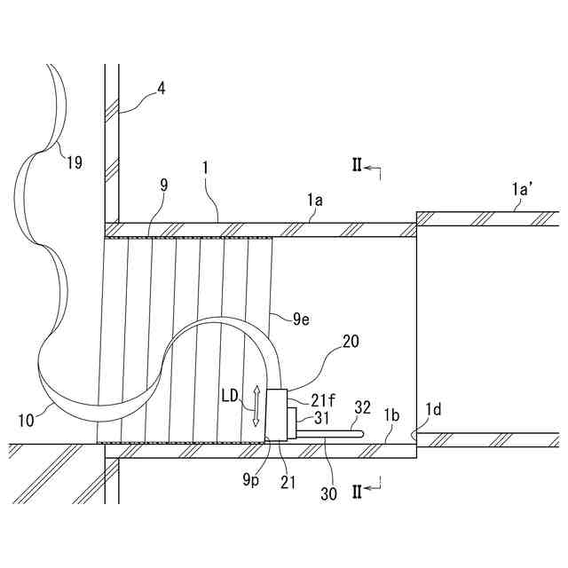
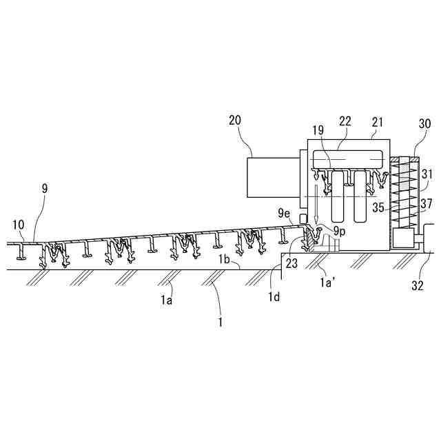
【課題】自走式の製管装置によって螺旋管状の更生管を既設管の内周に沿って製管する際に、延伸前方側における既設管の内周面に段差や突起等の断面変位部がある場合、それを乗り越えるための準備操作が間に合うようにする。
【解決手段】製管装置20は、更生管9の管軸方向の延伸前方側の管端部9eに配置された装置本体21と、帯状部材10における未製管の後続帯部19を挟み込んで記管端部9eへ斜めに押し込む駆動ローラ22と、管端部9eに対して螺旋巻回方向へスライド可能に係止された管端ガイド23と、作動機構30を含む。作動機構30は、装置本体21から延伸前方側へ更生管9の螺旋巻きピッチの数倍以上突出された検知部材32を有して、延伸前方側における既設管1の内周面形状を検知する。
【選択図】図1
特許請求の範囲
【請求項1】
帯状部材からなる螺旋管状の更生管を既設管の内周に沿って製管しながら螺旋巻回方向へ推進される製管装置において、
製管中の更生管の管軸方向の延伸前方側の管端部に前記螺旋巻回方向へ移動可能に設けられた装置本体と、
前記装置本体に設けられ、前記帯状部材における前記管端部に続く未製管の後続帯部を挟み込んで前記管端部へ斜めに押し込む駆動ローラと、
前記装置本体に設けられ、前記管端部に対して前記螺旋巻回方向へスライド可能に係止された管端ガイドと、
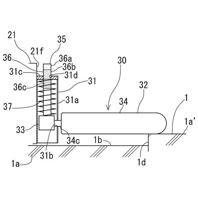
前記装置本体から延伸前方側へ前記更生管の螺旋巻きピッチの数倍以上突出されて前記既設管の内周面と接触される検知部材を有して、前記延伸前方側における前記既設管の内周面形状に応じて作動される作動機構と、
を備えたことを特徴とする製管装置。
続きを表示(約 480 文字)
【請求項2】
前記後続帯部が前記管端部と嵌合される位置から前記検知部材の先端までの、前記管軸方向に沿う距離が、前記螺旋巻きピッチの3倍以上である請求項1に記載の製管装置。
【請求項3】
前記作動機構が、前記装置本体に設けられて前記検知部材の基端部を前記更生管の管径方向に沿う装置高さ方向へ昇降可能に保持するホルダと、前記検知部材を前記装置高さ方向の管外周を向く底側へ付勢する付勢手段とを含む請求項1に記載の製管装置。
【請求項4】
前記作動機構が、前記検知部材の基端部から前記装置高さ方向へ延びるシャフトを更に有し、前記ホルダによって、前記シャフトが、前記装置高さ方向の管内周を向く天側へ出没するよう昇降可能に保持されている請求項3に記載の製管装置。
【請求項5】
前記シャフトの外周部には視認マークが設けられている請求項4に記載の製管装置。
【請求項6】
前記検知部材が、当該検知部材の突出方向に沿う軸線まわりに回転可能な回転体を含む請求項1~5の何れか1項に記載の製管装置。
発明の詳細な説明
【技術分野】
【0001】
本発明は、帯状部材からなる螺旋管状の更生管を既設管の内周に沿って製管する製管装置に関し、特に、製管しながら螺旋巻回方向へ推進(自走)される自走式の製管装置に関する。
続きを表示(約 2,400 文字)
【背景技術】
【0002】
老朽化した下水道管等の既設管の内周面に沿って帯状部材を巻回して螺旋管状の更生管を製管することによって、既設管を更生する方法は公知である。例えば、特許文献1、2には、更生管を製管するための自走式の製管装置が記載されている。当該製管装置は、更生管の延伸前方側の管端部に配置された装置本体と、装置本体に設けられた少なくとも一対の駆動ローラと、管端部に沿ってスライド可能に係止された複数の管端ガイドとを含む。装置本体には、管端部を内周側から規制するリンクローラ等の内周規制体が設けられておらず、装置本体の配置箇所以外の管端部が内周側へ解放されている。
【0003】
帯状部材における未製管の後続帯部が、駆動ローラによって挟み付けられるとともに管端部へ向けて斜めに押し込まれる。これによって、後続帯部が管端部に組み込まれて更生管が延伸されるとともに、押し込みによる推進反力によって、製管装置が螺旋巻回方向へ推進される。製管装置における推進方向と直交する幅方向を管軸方向に対して傾けたり、1の管端ガイドに組み込まれたブレーキ機構によって管端部との間にブレーキを効かしたりすることによって、製管径を拡縮できる。
【先行技術文献】
【特許文献】
【0004】
特開2019-084728号公報
特開2023-071364号公報
【発明の概要】
【発明が解決しようとする課題】
【0005】
老朽化した下水道管等の既設管の内周面には、段差や突起等の断面変位部が形成されている場合がある。更生施工時には、かかる断面変位部を乗り越えるために、断面変位部のある程度手前から製管径を漸次小さくする等の準備操作が必要であった。例えば、更生管の螺旋巻きの数ピッチ手前から製管装置のブレーキ力等の設定値を変更する必要があった。
【0006】
しかし、実際の更生施工現場では、供用下で下水が流れていたり暗所であったり等の様々な悪条件のために、断面変位部に気づかずに製管を継続してしまい、製管装置が断面変位部に引っ掛かって停止してしまうことがあった。特に、更生管を全周にわたって既設管の内周面に貼り付けるように製管する貼り付け製管においては、製管装置が既設管の内周面の少しの高さの段差や突起にも引っ掛かって停止しやすかった。
本発明は、かかる事情に鑑み、自走式の製管装置によって螺旋管状の更生管を既設管の内周に沿って製管する際に、延伸前方側における既設管の内周面に段差や突起等の断面変位部があるときは、その乗り越え準備操作に必要な距離以上手前で断面変位部の存在を確実に把握できるようにして、乗り越え準備操作が間に合うようにすることを目的とする。
【課題を解決するための手段】
【0007】
前記課題を解決するため、本発明は、帯状部材からなる螺旋管状の更生管を既設管の内周に沿って製管しながら螺旋巻回方向へ推進される製管装置において、
製管中の更生管の管軸方向の延伸前方側の管端部に前記螺旋巻回方向へ移動可能に設けられた装置本体と、
前記装置本体に設けられ、前記帯状部材における前記管端部に続く未製管の後続帯部を挟み込んで前記管端部へ斜めに押し込む駆動ローラと、
前記装置本体に設けられ、前記管端部に対して前記螺旋巻回方向へスライド可能に係止された管端ガイドと、
前記装置本体から延伸前方側へ前記更生管の螺旋巻きピッチの数倍以上突出されて前記既設管の内周面と接触される検知部材を有して、前記延伸前方側における前記既設管の内周面形状に応じて作動される作動機構と、
を備えたことを特徴とする。
【0008】
当該製管装置によって製管する際、更生管の螺旋巻きの数ピッチ以上延伸前方側における既設管の内周面に段差や突起等の断面変位部があるときは、該断面変位部に検知部材が接触することで、作動機構が作動される。該作動によって、装置本体より延伸前方側へ数ピッチ以上進んだ位置における既設管の内周面形状を把握できる。これに応じて、断面変位部の少なくとも数ピッチ手前から更生管の縮径等の事前の乗り越え準備操作を開始することができる。
断面変位部の乗り越え準備操作の開始から更生管が断面変位部の乗り越え可能な状態になるまでの管軸方向の所要距離は、通常、更生管の数ピッチである。
したがって、製管装置の装置本体が断面変位部に到着するまでに乗り越え準備操作を終えることで、断面変位部を乗り越えながら製管できる。
【0009】
好ましくは、前記後続帯部が前記管端部と嵌合される位置から前記検知部材の先端までの、前記管軸方向に沿う距離が、前記螺旋巻きピッチの3倍以上である。
これによって、延伸前方側の断面変位部に対する乗り越え準備操作を確実に間に合わせることができる。
【0010】
好ましくは、前記作動機構が、前記装置本体に設けられて前記検知部材の基端部を前記更生管の管径方向に沿う装置高さ方向へ昇降可能に保持するホルダと、前記検知部材を前記装置高さ方向の管外周を向く底側へ付勢する付勢手段とを含む。
これによって、検知部材が、付勢手段の付勢によって、既設管の内周面に常時押し当てられるとともに、既設管の内周面形状に応じて昇降される。ひいては、作動機構が、既設管の内周面形状に応じて確実に作動されるようにできる。
製管装置が既設管の管底部に位置するときだけでなく管頂部や管側部に位置するときでも、付勢手段によって検知部材を既設管の内周面に押し当てることができるから、管底部の断面変位部だけでなく管頂部や管側部の断面変位部をも確実に検知できる。
(【0011】以降は省略されています)
この特許をJ-PlatPat(特許庁公式サイト)で参照する
関連特許
積水化学工業株式会社
鉄道用枕木
今日
積水化学工業株式会社
粘着テープ
今日
積水化学工業株式会社
粘着テープ
6日前
積水化学工業株式会社
粘着テープ
今日
積水化学工業株式会社
粘着テープ
6日前
積水化学工業株式会社
雨樋システム
1か月前
積水化学工業株式会社
太陽電池設置構造
22日前
積水化学工業株式会社
表示素子用封止剤
2日前
積水化学工業株式会社
太陽電池設置構造
22日前
積水化学工業株式会社
太陽電池設置構造
22日前
積水化学工業株式会社
基板積層体の製造方法
1か月前
積水化学工業株式会社
基板積層体の製造方法
1か月前
積水化学工業株式会社
両面不燃面材付きパネル
今日
積水化学工業株式会社
液晶デバイス用シール剤
2日前
積水化学工業株式会社
表面材及び表面材付き基材
6日前
積水化学工業株式会社
太陽光発電シートの設置構造
今日
積水化学工業株式会社
太陽光発電シートの設置構造
今日
積水化学工業株式会社
竪樋支持具および排水システム
1か月前
積水化学工業株式会社
太陽電池モジュールの取付構造
22日前
積水化学工業株式会社
熱膨張性マイクロカプセル用組成物
1か月前
積水化学工業株式会社
ポリオルガノシロキサン、樹脂組成物
13日前
積水化学工業株式会社
既設管更生方法および既設管更生設備
7日前
積水化学工業株式会社
硬化性樹脂組成物及び表示素子用封止剤
2日前
積水化学工業株式会社
超音波トランスデューサおよび超音波センサ
22日前
積水化学工業株式会社
超音波トランスデューサ、及び超音波センサ
22日前
積水化学工業株式会社
継手
27日前
積水化学工業株式会社
継手
1か月前
積水化学工業株式会社
塩化ビニル系樹脂組成物及び塩化ビニル系樹脂成形体
今日
積水化学工業株式会社
ガス製造装置
13日前
積水化学工業株式会社
区画貫通処理構造
今日
積水化学工業株式会社
施工管理システム
1か月前
積水化学工業株式会社
防食用粘着テープ
1か月前
積水化学工業株式会社
光ファイバ担持管梱包体および光ファイバ担持管梱包体用の支持部材
29日前
積水化学工業株式会社
集合継手及び配管構造
1か月前
積水化学工業株式会社
電気融着継手、配管システム、配管付き電気融着継手、及び配管更生構造
1か月前
積水化学工業株式会社
アダプタおよび継手構造
21日前
続きを見る
他の特許を見る