TOP
|
特許
|
意匠
|
商標
特許ウォッチ
Twitter
他の特許を見る
公開番号
2025176354
公報種別
公開特許公報(A)
公開日
2025-12-04
出願番号
2024082444
出願日
2024-05-21
発明の名称
既設管更生方法および既設管更生設備
出願人
積水化学工業株式会社
代理人
弁理士法人湧泉特許事務所
主分類
B29C
63/32 20060101AFI20251127BHJP(プラスチックの加工;可塑状態の物質の加工一般)
要約
【課題】元押し式製管機を用いて製管した更生管により、既設管を更生する方法において、製管機が高温になるのを防止する。
【解決手段】
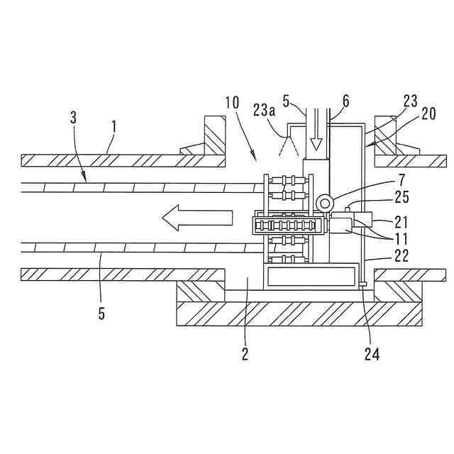
発進側マンホール2に設置された元押し式の製管機10を用いて、帯状部材5を螺旋状に巻回するとともに一周ずれて隣接する側縁部どうしを接合することにより更生管3を製管しながら、更生管3を既設管1の発進側の管端から到達側の管端に向けて送り込む。製管機10が更生管3を製管している過程で、製管機10に水をかけて製管機10を冷却する。放水冷却装置20は、ポンプ21と、ポンプ21の吸込口に接続され発進側マンホール2の底部を流れる水を吸い込む吸込管22と、ポンプ21の吐出口に接続され製管機10に向けて放水する放水管23と、を有する。
【選択図】図1
特許請求の範囲
【請求項1】
発進側マンホールに設置された元押し式の製管機を用いて、帯状部材を螺旋状に巻回するとともに一周ずれて隣接する側縁部どうしを接合することにより更生管を製管しながら、前記更生管を既設管の発進側の管端から到達側の管端に向けて送り込む既設管更生方法において、
前記製管機が前記更生管を製管している過程で、前記製管機に水をかけて前記製管機を冷却することを特徴とする既設管更生方法。
続きを表示(約 900 文字)
【請求項2】
前記製管機は、前記帯状部材を挟んで前記更生管の発進側の端部に向けて押し込むインナー駆動ローラとアウター駆動ローラを含み、前記製管機の冷却工程では、前記インナー駆動ローラとアウター駆動ローラに重点的に水をかけることを特徴とする請求項1に記載の既設管更生方法。
【請求項3】
前記製管機の温度または前記更生管の発進側の端部近傍の帯状部材の温度が所定温度を超えた時に、前記製管機の冷却工程を実行することを特徴とする請求項1に記載の既設管更生方法。
【請求項4】
発進側マンホールに設置され、帯状部材を螺旋状に巻回するとともに一周ずれて隣接する側縁部どうしを接合することにより更生管を製管しながら、前記更生管を前記既設管の発進側の管端から到達側の管端に向けて送り込む元押し式の製管機を備えるとともに、
放水冷却装置を備え、前記放水冷却装置は、ポンプと、前記ポンプの吸込口に接続され前記ポンプの駆動により前記発進側マンホールの底部または既設管の底部を流れる水を吸い込む吸込管と、前記ポンプの吐出口に接続され前記ポンプの駆動により前記製管機に向けて放水して前記製管機を冷却する放水管と、を有することを特徴とする既設管更生設備。
【請求項5】
前記製管機は、前記帯状部材を挟んで前記更生管の発進側の端部に向けて押し込むインナー駆動ローラおよびアウター駆動ローラと、前記インナー駆動ローラと前記アウター駆動ローラを駆動するモータを含んでおり、
前記ポンプは、前記モータにより駆動されることを特徴とする請求項4に記載の既設管更生設備。
【請求項6】
前記製管機の特定部位の温度または前記更生管の発進側の端部近傍の帯状部材の温度を検出する温度センサを備え、前記温度センサの検出温度が所定温度を超えた時に、前記ポンプを駆動させることを特徴とする請求項4に記載の既設管更生設備。
【請求項7】
前記吸込管には、固形物の吸い上げを阻止するストレーナが設けられていることを特徴とする請求項4に記載の既設管更生設備。
発明の詳細な説明
【技術分野】
【0001】
本発明は、老朽化した下水道管等の既設管を更生する方法と設備に関し、特に、発進側マンホールに設置した本押し式の製管機を用いて螺旋管状の更生管を製管する方法と設備に関する。
続きを表示(約 1,800 文字)
【背景技術】
【0002】
老朽化した下水道管等の既設管の内周に沿って帯状部材(プロファイル)からなる螺旋管状の更生管を構築することにより既設管を更生する方法として、種々の方式が採用されている。
【0003】
特許文献1には、いわゆるエキスパンド製管工法による既設管更生方法が開示されている。具体的に説明すると、元押し式の製管機が発進側のマンホールに設置される。この製管機を用い、帯状部材を螺旋状に巻回して、その隣接する側縁部どうしを接合することにより螺旋管状の更生管を製管しながら、既設管内へ更生管を順次送り込む。更生管は既設管の内径より小径に製管される。
【0004】
上記製管の過程で帯状部材の接合部に切断用ワイヤを介在させる。更生管の先端部(到達側の端部)が既設管の到達側の管端まで到達したら、更生管の先端部を固定する。そして、切断用ワイヤを引き取ることによって、前記帯状部材の接合部の一部を巻回方向に沿って順次切断して、接合力を弱化させる。これと並行して、製管機による製管工程を再開する。すなわち、帯状部材を更生管の発進側の端部に供給して製管しながら更生管の発進側の端部を回転させる。これにより、部分切断により接合力が弱化した接合部において、帯状部材の隣接する側縁部どうしが周方向に滑り、更生管が到達側から発進側へ向けて順次拡径されて、既設管の内周面に張り付けられる。
【先行技術文献】
【特許文献】
【0005】
特開2021-126830号公報
【発明の概要】
【発明が解決しようとする課題】
【0006】
製管機は、製管工程において、インナー駆動ローラとアウター駆動ローラで帯状部材を挟んで製管済の更生管の発進側端部に押し込む。そのため、これらローラは、帯状部材との接触により生じる摩擦熱が蓄積されて高温となり、帯状部材がローラとの接触部で熱変形することがある。特に、アウター駆動ローラとの接触部で帯状部材に凹みが発生する。その結果、駆動ローラによる帯状部材の挟み込みが弱くなり、駆動ローラが空回りして製管を継続できなくなる。また、製管機の温度上昇に伴い製管機の負荷の増大を招く。
【課題を解決するための手段】
【0007】
前記課題を解決するため、本発明は、発進側マンホールに設置された元押し式の製管機を用いて、帯状部材を螺旋状に巻回するとともに一周ずれて隣接する側縁部どうしを接合することにより更生管を製管しながら、前記更生管を既設管の発進側の管端から到達側の管端に向けて送り込む既設管更生方法において、前記製管機が前記更生管を製管している過程で、前記製管機に水をかけて前記製管機を冷却する。
この方法によれば、帯状部材が熱変形するのを防止でき、更生管の製管を継続することができるとともに、製管機の負荷を低減することができる。
【0008】
前記製管機は、前記帯状部材を挟んで前記更生管の発進側の端部に向けて押し込むインナー駆動ローラとアウター駆動ローラを含み、前記製管機の冷却工程では、前記インナー駆動ローラとアウター駆動ローラに重点的に水をかけるのが好ましい。
【0009】
好ましくは、前記製管機の温度または前記更生管の発進側の端部近傍の帯状部材の温度が所定温度を超えた時に、前記製管機の冷却工程を実行する。
【0010】
本発明の他の態様は、既設管更生設備において、発進側マンホールに設置され、帯状部材を螺旋状に巻回するとともに一周ずれて隣接する側縁部どうしを接合することにより更生管を製管しながら、前記更生管を前記既設管の発進側の管端から到達側の管端に向けて送り込む元押し式の製管機を備えるとともに、
放水冷却装置を備え、前記放水冷却装置は、ポンプと、前記ポンプの吸込口に接続され前記ポンプの駆動により前記発進側マンホールの底部または前記既設管の底部を流れる水を吸い込む吸込管と、前記ポンプの吐出口に接続され前記ポンプの駆動により前記製管機に向けて放水して前記製管機を冷却する放水管と、を有することを特徴とする。
この構成によれば、発進側マンホールの底部または既設管の底部を流れる水を用いて製管機を冷却するため、冷却水を簡単に調達することができる。
(【0011】以降は省略されています)
この特許をJ-PlatPat(特許庁公式サイト)で参照する
関連特許
積水化学工業株式会社
粘着テープ
5日前
積水化学工業株式会社
粘着テープ
5日前
積水化学工業株式会社
雨樋システム
1か月前
積水化学工業株式会社
配管の接続構造
1か月前
積水化学工業株式会社
太陽電池設置構造
21日前
積水化学工業株式会社
表示素子用封止剤
1日前
積水化学工業株式会社
太陽電池設置構造
21日前
積水化学工業株式会社
太陽電池設置構造
21日前
積水化学工業株式会社
基板積層体の製造方法
1か月前
積水化学工業株式会社
基板積層体の製造方法
1か月前
積水化学工業株式会社
液晶デバイス用シール剤
1日前
積水化学工業株式会社
表面材及び表面材付き基材
5日前
積水化学工業株式会社
竪樋支持具および排水システム
1か月前
積水化学工業株式会社
太陽電池モジュールの取付構造
21日前
積水化学工業株式会社
熱膨張性マイクロカプセル用組成物
1か月前
積水化学工業株式会社
既設管更生方法および既設管更生設備
6日前
積水化学工業株式会社
ポリオルガノシロキサン、樹脂組成物
12日前
積水化学工業株式会社
硬化性樹脂組成物及び表示素子用封止剤
1日前
積水化学工業株式会社
超音波トランスデューサ、及び超音波センサ
21日前
積水化学工業株式会社
超音波トランスデューサおよび超音波センサ
21日前
積水化学工業株式会社
継手
1か月前
積水化学工業株式会社
継手
26日前
積水化学工業株式会社
ガス製造装置
12日前
積水化学工業株式会社
施工管理システム
1か月前
積水化学工業株式会社
防食用粘着テープ
1か月前
積水化学工業株式会社
光ファイバ担持管梱包体および光ファイバ担持管梱包体用の支持部材
28日前
積水化学工業株式会社
集合継手及び配管構造
1か月前
積水化学工業株式会社
電気融着継手、配管システム、配管付き電気融着継手、及び配管更生構造
1か月前
積水化学工業株式会社
アダプタおよび継手構造
20日前
積水化学工業株式会社
ポリビニルアセタール樹脂
1日前
積水化学工業株式会社
ポリビニルアセタール樹脂
5日前
積水化学工業株式会社
ポリビニルアセタール樹脂
5日前
積水化学工業株式会社
ポリビニルアセタール樹脂
5日前
積水化学工業株式会社
ポリビニルアセタール樹脂
5日前
積水化学工業株式会社
ポリビニルアセタール樹脂
5日前
積水化学工業株式会社
ポリビニルアセタール樹脂
5日前
続きを見る
他の特許を見る