TOP
|
特許
|
意匠
|
商標
特許ウォッチ
Twitter
他の特許を見る
10個以上の画像は省略されています。
公開番号
2025165245
公報種別
公開特許公報(A)
公開日
2025-11-04
出願番号
2024069241
出願日
2024-04-22
発明の名称
竪樋支持具および排水システム
出願人
積水化学工業株式会社
代理人
個人
,
個人
,
個人
,
個人
主分類
E04D
13/08 20060101AFI20251027BHJP(建築物)
要約
【課題】効果的に伸縮処理する。
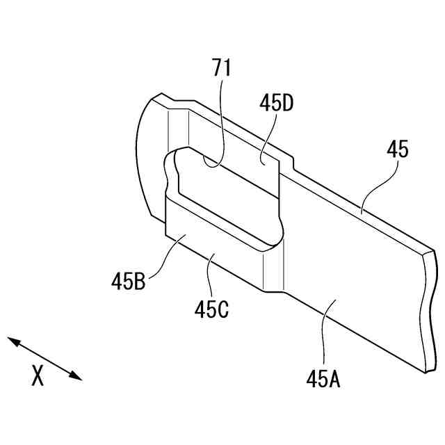
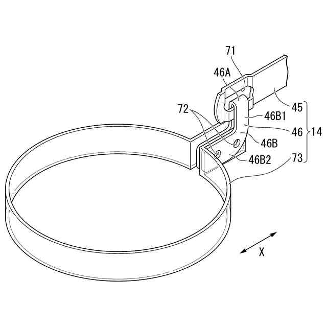
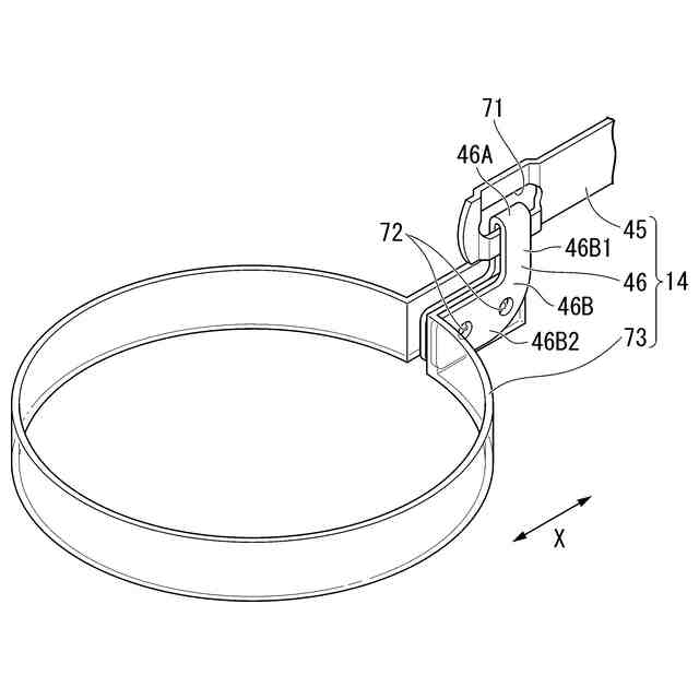
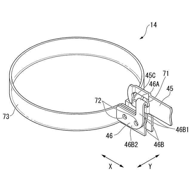
【解決手段】竪樋13を壁2の前方で支持する竪樋支持具14であって、前記壁2に固定される第1部材45と、前記竪樋13を支持するバンド73に接続する第2部材46と、を備え、前記第1部材45と前記第2部材46とが、前後方向に移動可能に連結することを特徴とする竪樋支持具。
【選択図】図4
特許請求の範囲
【請求項1】
竪樋を壁の前方で支持する竪樋支持具であって、
前記壁に固定される第1部材と、
前記竪樋を支持するバンドに接続する第2部材と、を備え、
前記第1部材と前記第2部材とが、前後方向に移動可能に連結することを特徴とする竪樋支持具。
続きを表示(約 650 文字)
【請求項2】
前記第1部材に第1孔が設けられ、
前記第1孔に前記第2部材が前後方向に移動可能に配置されていることを特徴とする請求項1に記載の竪樋支持具。
【請求項3】
前記第1部材は、表裏面が左右方向を向く板状であり、
前記第1部材のうち、前記第1孔に対して上下に位置する部分は左右方向に夫々突出していることを特徴とする請求項2に記載の竪樋支持具。
【請求項4】
前記第2部材は、上端が前記第1部材に連結する第1部分と、前記第1部分の下端から前方に延び、前記バンドに接続する第2部分と、を含むことを特徴とする請求項1に記載の竪樋支持具。
【請求項5】
前記第1部材に第1孔が設けられ、
前記第1孔に前記第1部分が配置され、
前記第2部分に第2孔が設けられ、
前記第1孔は、前記第2孔よりも前後方向に長いことを特徴とする請求項4に記載の竪樋支持具。
【請求項6】
竪樋と、
請求項1から請求項5のいずれかに係る竪樋支持具と、を備え、
前記竪樋支持具は、前記竪樋を壁の前方で支持することを特徴とする排水システム。
【請求項7】
建物の屋根又は壁に、水平方向に間隔をあけて固定された複数の雨樋支持具と、
前記複数の雨樋支持具に支持された雨樋と、を更に備え、
前記竪樋は、前記雨樋から下方に延びる構成を含む、ことを特徴とする請求項6に記載の排水システム。
発明の詳細な説明
【技術分野】
【0001】
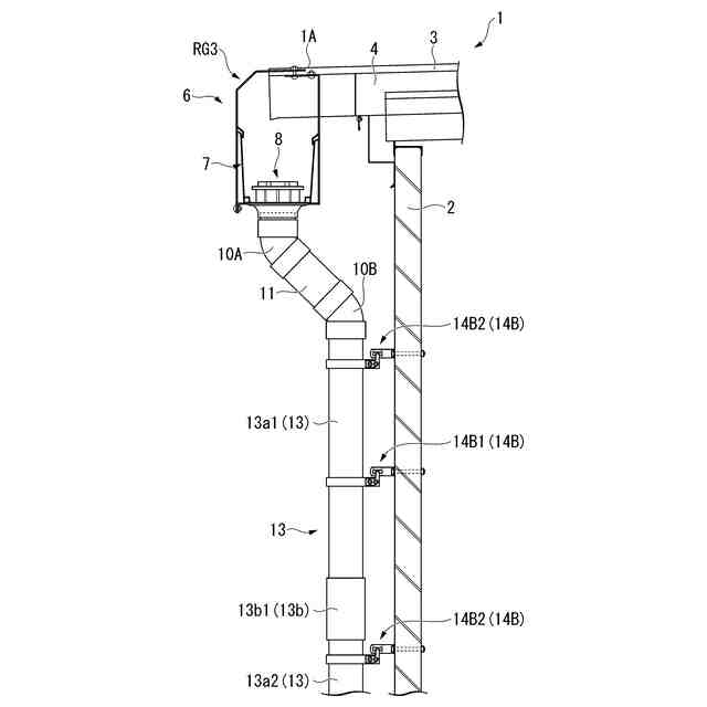
本発明は、竪樋支持具および排水システムに関する。
続きを表示(約 1,000 文字)
【背景技術】
【0002】
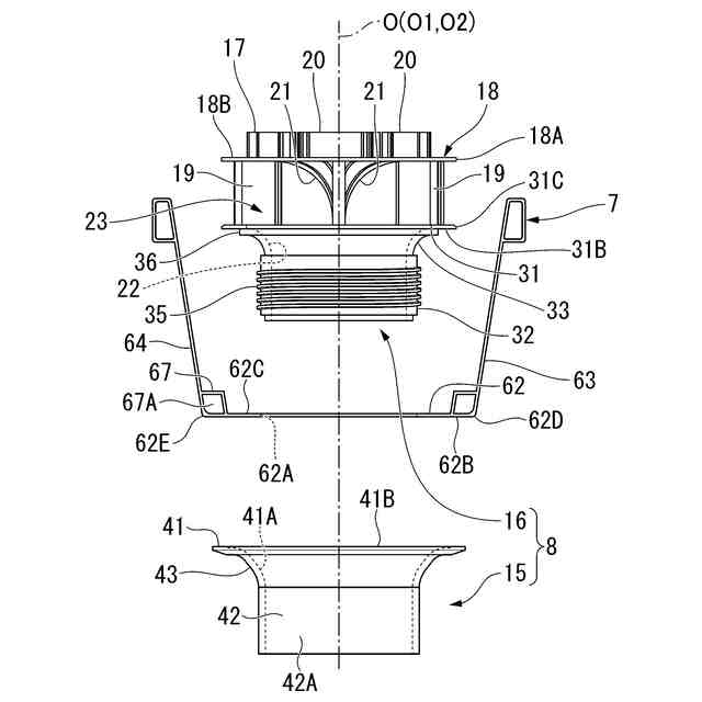
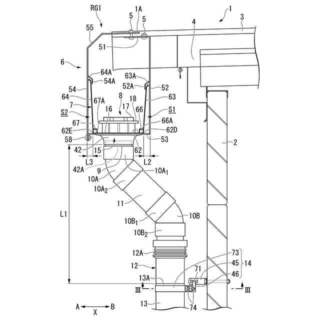
例えば、特許文献1に記載されたような、排水システムに用いられる竪樋支持具が知られている。
【先行技術文献】
【特許文献】
【0003】
特開平10-339003号公報
【発明の概要】
【発明が解決しようとする課題】
【0004】
この種の雨樋支持具において、例えば、排水システムに関する雨樋支持具以外の部材(例えば、屋根や竪樋など)に対して、温度変化(昼夜の外気温変動や夏期冬期の変動)を起因として生じる熱伸縮の影響を吸収するための対策(すなわち、伸縮処理)をすることが求められている。
【0005】
本発明は、前述した事情に鑑みてなされたものであって、効果的に伸縮処理することを目的とする。
【課題を解決するための手段】
【0006】
上記課題を解決するため、本発明は以下の手段を提供する。
<1>竪樋を壁の前方で支持する竪樋支持具であって、前記壁に固定される第1部材と、前記竪樋を支持するバンドに接続する第2部材と、を備え、前記第1部材と前記第2部材とが、前後方向に移動可能に連結することを特徴とする竪樋支持具。
【0007】
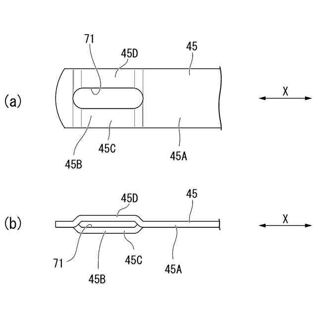
<2>上記<1>に係る竪樋支持具では、前記第1部材に第1孔が設けられ、前記第1孔に前記第2部材が前後方向に移動可能に配置されていることを特徴とする<1>に記載の竪樋支持具。
【0008】
<3>上記<1>に係る竪樋支持具の前記前記第1部材は、表裏面が左右方向を向く板状であり、前記第1部材のうち、前記第1孔に対して上下に位置する部分は左右方向に夫々突出していることを特徴とする<2>に記載の竪樋支持具。
【0009】
<4>上記<3>に係る竪樋支持具では、前記第2部材は、上端が前記第1部材に連結する第1部分と、前記第1部分の下端から前方に延び、前記バンドに接続する第2部分と、を含むことを特徴とする<1>に記載の竪樋支持具。
【0010】
<5>上記<3>に係る竪樋支持具では、前記第1部材に第1孔が設けられ、前記第1孔に前記第1部分が配置され、前記第2部分に第2孔が設けられ、前記第1孔は、前記第2孔よりも前後方向に長いことを特徴とする<4>に記載の竪樋支持具。
(【0011】以降は省略されています)
この特許をJ-PlatPat(特許庁公式サイト)で参照する
関連特許
積水化学工業株式会社
雨樋システム
27日前
積水化学工業株式会社
太陽電池設置構造
12日前
積水化学工業株式会社
太陽電池設置構造
12日前
積水化学工業株式会社
太陽電池設置構造
12日前
積水化学工業株式会社
基板積層体の製造方法
24日前
積水化学工業株式会社
基板積層体の製造方法
27日前
積水化学工業株式会社
太陽電池モジュールの取付構造
12日前
積水化学工業株式会社
竪樋支持具および排水システム
27日前
積水化学工業株式会社
熱膨張性マイクロカプセル用組成物
26日前
積水化学工業株式会社
ポリオルガノシロキサン、樹脂組成物
3日前
積水化学工業株式会社
超音波トランスデューサ、及び超音波センサ
12日前
積水化学工業株式会社
超音波トランスデューサおよび超音波センサ
12日前
積水化学工業株式会社
継手
24日前
積水化学工業株式会社
継手
17日前
積水化学工業株式会社
ガス製造装置
3日前
積水化学工業株式会社
施工管理システム
1か月前
積水化学工業株式会社
防食用粘着テープ
1か月前
積水化学工業株式会社
光ファイバ担持管梱包体および光ファイバ担持管梱包体用の支持部材
19日前
積水化学工業株式会社
集合継手及び配管構造
24日前
積水化学工業株式会社
電気融着継手、配管システム、配管付き電気融着継手、及び配管更生構造
27日前
積水化学工業株式会社
アダプタおよび継手構造
11日前
積水化学工業株式会社
多口継手及び配管システム
11日前
積水化学工業株式会社
ドレン部材、軒樋、及び雨樋
17日前
積水化学工業株式会社
還元剤およびガスの製造方法
11日前
積水化学工業株式会社
雨樋用曲がり配管及び雨樋システム
24日前
積水化学工業株式会社
軒樋、軒樋システム、及び軒樋梱包体
3日前
積水化学工業株式会社
導電性粒子、ソケット、導電材料及び接続構造体
1か月前
積水化学工業株式会社
補強用接着シートおよびその巻回体並びに風力発電用ブレードの補修方法および風力発電用ブレード
1か月前
積水化学工業株式会社
区画貫通処理構造、区画貫通処理材、及び区画貫通処理構造の施工方法
1か月前
積水化学工業株式会社
ポリオール含有組成物、発泡性ウレタン樹脂組成物、及びポリウレタン発泡体
1か月前
積水化学工業株式会社
ポリオール含有組成物、発泡性ポリウレタン組成物及びポリウレタンフォーム
3日前
積水化学工業株式会社
調光素子用シール剤、硬化性樹脂組成物の調光素子用シール剤としての使用、調光素子、及び、合わせガラス
1か月前
個人
接合構造
1か月前
個人
タッチミー
1か月前
個人
屋台
2か月前
個人
野良猫ハウス
2か月前
続きを見る
他の特許を見る