TOP
|
特許
|
意匠
|
商標
特許ウォッチ
Twitter
他の特許を見る
公開番号
2025168543
公報種別
公開特許公報(A)
公開日
2025-11-07
出願番号
2025147541,2021206604
出願日
2025-09-05,2021-12-21
発明の名称
集合継手及び配管構造
出願人
積水化学工業株式会社
代理人
個人
,
個人
,
個人
,
個人
主分類
E03C
1/12 20060101AFI20251030BHJP(上水;下水)
要約
【課題】接続部から排水が漏れ出すことがなく、かつコストの低い集合継手を提供する。
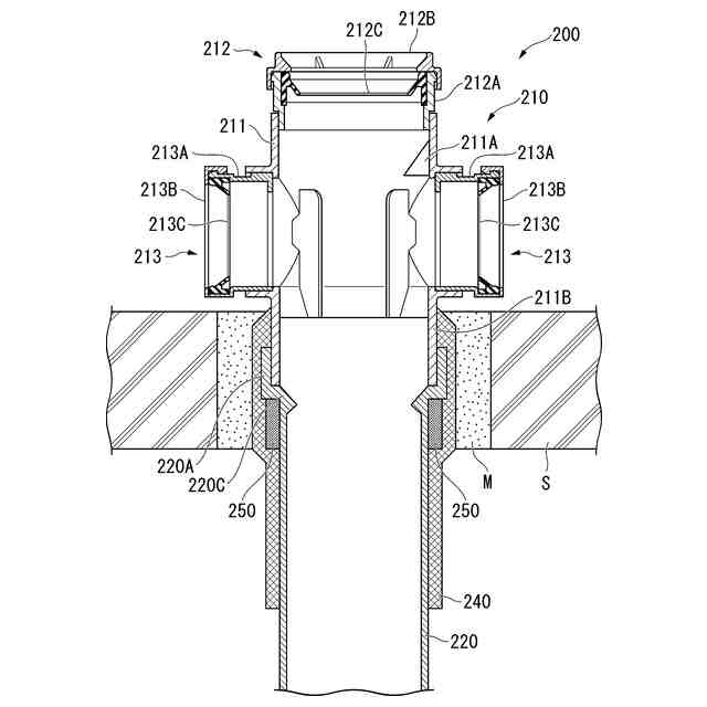
【解決手段】集合継手200は、上方に設けられた立管接続部212と、側方に設けられた横管接続部213と、下方に設けられた直管接続部211Bと、を備える集合部210と、直管接続部211Bに接続される直管部220と、を備え、直管部220の上端は拡径された受口部220Aであり、直管接続部211Bが受口部220Aの内側に配置される。
【選択図】図2
特許請求の範囲
【請求項1】
上方に設けられた立管接続部と、側方に設けられた横管接続部と、下方に設けられた直管接続部と、を備える集合部と、
前記直管接続部に接続される直管部と、
を備え、
前記直管部の上端は拡径された受口部であり、前記直管接続部が前記受口部の内側に配置される、
集合継手。
続きを表示(約 380 文字)
【請求項2】
前記受口部と前記直管部との間にテーパ部が設けられている、
請求項1に記載の集合継手。
【請求項3】
前記直管部の内側に突起が設けられている、
請求項1又は2に記載の集合継手。
【請求項4】
前記直管接続部及び前記直管部の外側に遮音カバーが設けられている、
請求項1から3のいずれか1項に記載の集合継手。
【請求項5】
建物の最下層部に用いられる配管構造であって、
立管と、
横枝管と、
脚部継手と、
請求項1から4のいずれか1項に記載の集合継手と、
を備え、
前記集合継手の前記集合部には前記立管及び前記横枝管が接続され、
前記集合継手の前記直管部の下端は前記脚部継手に接続されている、
配管構造。
発明の詳細な説明
【技術分野】
【0001】
本発明は、集合継手及び配管構造に関する。
続きを表示(約 1,500 文字)
【背景技術】
【0002】
集合住宅などの多層建物には、各階居室部の衛生機器等からの排水を導入する横枝管が設けられている。横枝管により運搬された排水は、集合継手により集約される。集約された排水は、集合継手の下部に接続された脚部継手を介して下水路に流される。
建物の最下層部(床下)における集合継手と脚部継手との接続について、排水管が占める空間を少なくするために、集合継手の下部を受口として、前記受口に挿入する立管の長さを調整する構造が開示されている(特許文献1)。
また、建物における床スラブの厚さに対応して、床スラブ集合継手と脚部継手との間の立管の長さを変更可能とする構造が開示されている(特許文献2)。
【先行技術文献】
【特許文献】
【0003】
特開2016-69974号公報
特開2016-204837号公報
【発明の概要】
【発明が解決しようとする課題】
【0004】
上述の構造について、特許文献1の構造は上側に位置する集合継手側を受口としている。このため、受口と立管との間に隙間が生じたとき、その隙間から排水が漏れ出し、止水性が低下することがある。
また、特許文献2の構造は集合継手と、接続部材と、立管と、がそれぞれ別部材であることから部材が多く、コストが高くなる課題がある。
【0005】
本発明は、前述した事情に鑑みてなされたものであって、接続部から排水が漏れ出しにくく、かつコストの低い集合継手を提供することを目的とする。
【課題を解決するための手段】
【0006】
前記課題を解決するために、本発明は以下の手段を提案している。
本発明に係る集合継手は、上方に設けられた立管接続部と、側方に設けられた横管接続部と、下方に設けられた直管接続部と、を備える集合部と、前記直管接続部に接続される直管部と、を備え、前記直管部の上端は拡径された受口部であり、前記直管接続部が前記受口部の内側に配置される。
【0007】
この発明によれば、直管接続部が受口部の内側に配置される。ここで、上側に位置する集合部が受口である場合と、下側に位置する直管部が受口である場合とについて比較する。
上側に位置する集合部が受口であるとき、受口と直管部との間に隙間が生じると、隙間に移動した排水は、重力に伴い下側に移動する。このとき、下側に位置する直管部よりも上側に位置する受口の方が外側に位置しているため、直管部によって排水をせき止めることができない。その結果、隙間から排水が漏れ出す。
【0008】
これに対し、下側に位置する直管部が受口であると、上述のように隙間に排水が移動しても、重力に逆らって上側に移動することはない。つまり、集合部の直管接続部が受口部の内側に挿入される構造とすることで、直管接続部と受口部との間に隙間が生じた場合でも、隙間から排水が漏れ出すことを防ぐことができる。よって、上側に位置する集合部を受口にする場合と比較して、止水性を確保することができる。
【0009】
更に、直管部の上端は拡径された受口部である。つまり、受口部は直管部の上端に一体に成形されている。これにより、集合継手の構成を集合部と直管部のみとすることができる。よって、部材の数を少なくすることによって、低コストとすることができる。
【0010】
また、前記受口部と前記直管部との間にテーパ部が設けられていてもよい。
(【0011】以降は省略されています)
この特許をJ-PlatPat(特許庁公式サイト)で参照する
関連特許
積水化学工業株式会社
雨樋システム
27日前
積水化学工業株式会社
太陽電池設置構造
12日前
積水化学工業株式会社
太陽電池設置構造
12日前
積水化学工業株式会社
太陽電池設置構造
12日前
積水化学工業株式会社
基板積層体の製造方法
24日前
積水化学工業株式会社
基板積層体の製造方法
27日前
積水化学工業株式会社
太陽電池モジュールの取付構造
12日前
積水化学工業株式会社
竪樋支持具および排水システム
27日前
積水化学工業株式会社
熱膨張性マイクロカプセル用組成物
26日前
積水化学工業株式会社
ポリオルガノシロキサン、樹脂組成物
3日前
積水化学工業株式会社
超音波トランスデューサ、及び超音波センサ
12日前
積水化学工業株式会社
超音波トランスデューサおよび超音波センサ
12日前
積水化学工業株式会社
継手
24日前
積水化学工業株式会社
継手
17日前
積水化学工業株式会社
ガス製造装置
3日前
積水化学工業株式会社
施工管理システム
1か月前
積水化学工業株式会社
防食用粘着テープ
1か月前
積水化学工業株式会社
光ファイバ担持管梱包体および光ファイバ担持管梱包体用の支持部材
19日前
積水化学工業株式会社
集合継手及び配管構造
24日前
積水化学工業株式会社
電気融着継手、配管システム、配管付き電気融着継手、及び配管更生構造
27日前
積水化学工業株式会社
アダプタおよび継手構造
11日前
積水化学工業株式会社
多口継手及び配管システム
11日前
積水化学工業株式会社
ドレン部材、軒樋、及び雨樋
17日前
積水化学工業株式会社
還元剤およびガスの製造方法
11日前
積水化学工業株式会社
雨樋用曲がり配管及び雨樋システム
24日前
積水化学工業株式会社
軒樋、軒樋システム、及び軒樋梱包体
3日前
積水化学工業株式会社
導電性粒子、ソケット、導電材料及び接続構造体
1か月前
積水化学工業株式会社
補強用接着シートおよびその巻回体並びに風力発電用ブレードの補修方法および風力発電用ブレード
1か月前
積水化学工業株式会社
区画貫通処理構造、区画貫通処理材、及び区画貫通処理構造の施工方法
1か月前
積水化学工業株式会社
ポリオール含有組成物、発泡性ウレタン樹脂組成物、及びポリウレタン発泡体
1か月前
積水化学工業株式会社
ポリオール含有組成物、発泡性ポリウレタン組成物及びポリウレタンフォーム
3日前
積水化学工業株式会社
調光素子用シール剤、硬化性樹脂組成物の調光素子用シール剤としての使用、調光素子、及び、合わせガラス
1か月前
丸一株式会社
排水配管部材
12日前
株式会社田中設備
蓋体
1か月前
TOTO株式会社
トイレ装置
1か月前
一文機工株式会社
トイレ装置
17日前
続きを見る
他の特許を見る