TOP
|
特許
|
意匠
|
商標
特許ウォッチ
Twitter
他の特許を見る
公開番号
2025170536
公報種別
公開特許公報(A)
公開日
2025-11-19
出願番号
2024075193
出願日
2024-05-07
発明の名称
太陽電池モジュールの取付構造
出願人
積水化学工業株式会社
代理人
弁護士法人クレオ国際法律特許事務所
主分類
E04F
13/08 20060101AFI20251112BHJP(建築物)
要約
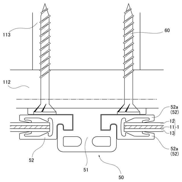
【課題】太陽電池モジュールを容易に交換することができる太陽電池モジュールの取付構造を提供する。
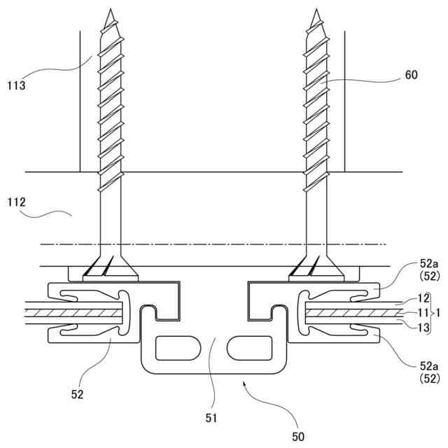
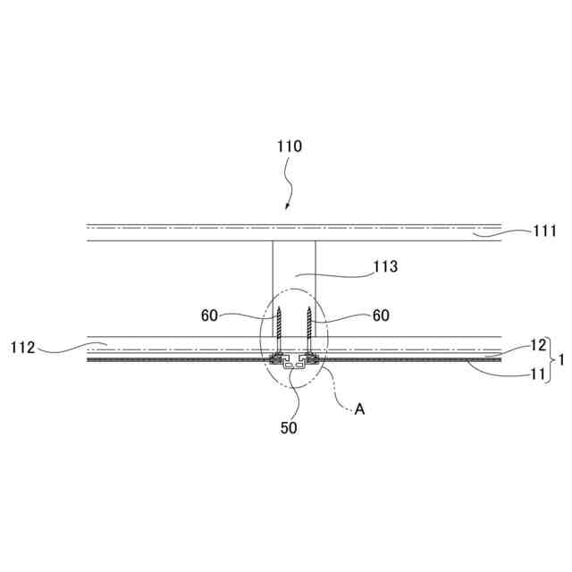
【解決手段】ペロブスカイト化合物を含む太陽電池モジュール1の取付構造は、バルコニー100の壁部110に取り付けられるとともに、壁部110から室外方向に突出する突出部51と、突出部51の突出する方向と交差する方向に突出し、太陽電池モジュール1を壁部110の延びる方向に沿って把持する把持部52とを備え、把持部52は、太陽電池モジュール1を厚み方向の両側から着脱可能に挟んで保持する一対の爪部52aを有している
【選択図】図4
特許請求の範囲
【請求項1】
ペロブスカイト化合物を含む太陽電池モジュールの取付構造であって、
バルコニーの壁部に取り付けられるとともに、前記壁部から室外方向に突出する突出部と、
前記突出部の突出する方向と交差する方向に突出し、前記太陽電池モジュールを前記壁部の延びる方向に沿って把持する把持部とを備え、
前記把持部は、前記太陽電池モジュールを厚み方向の両側から着脱可能に挟んで保持する一対の爪部を有していることを特徴とする太陽電池モジュールの取付構造。
続きを表示(約 320 文字)
【請求項2】
前記太陽電池モジュールから延びる配線及び前記配線を収容する配線箱が、笠木内に収容されていることを特徴とする請求項1に記載の太陽電池モジュールの取付構造。
【請求項3】
前記太陽電池モジュールは、正面視で長方形状に形成されており、
前記把持部は、前記太陽電池モジュールの長辺側又は短辺側の何れかの部分を把持することを特徴とする請求項1又は2に記載の太陽電池モジュールの取付構造。
【請求項4】
前記太陽電池モジュールは太陽電池パネルを有し、前記太陽電池パネルの室外側の表面は、透明な保護部材により覆われていることを特徴とする請求項1又は2に記載の太陽電池モジュールの取付構造。
発明の詳細な説明
【技術分野】
【0001】
本発明は、太陽電池モジュールの取付構造に関し、特にペロブスカイト化合物を含む太陽電池モジュールの取付構造に関するものである。
続きを表示(約 1,300 文字)
【背景技術】
【0002】
近年、二酸化炭素等の温室効果ガス削減を目的として、太陽電池パネルによる発電システムの使用が広がっている。太陽電池パネルは、発電効率を高めるため、通常建物の屋上や屋根に設置されている。太陽電池パネルを屋上や屋根に設置するためには、ビスや接着剤を用いる等の様々な手法がとられている。
【0003】
例えば、特許文献1には、建築物の屋上の縁部に沿って立設された手摺り壁の上端面に設置された金属製笠木を利用した太陽電池取り付け型金属製笠木が開示されている。建物屋上の縁部に沿って立設された手摺り壁(パラペット)の上部に設置された金属製笠木の天端部には、フレキシブル太陽電池が取り付けられている。フレキシブル太陽電池は、接着剤により金属製笠木の天端部に接着されている。
【先行技術文献】
【特許文献】
【0004】
特開2006-342573号公報
【発明の概要】
【発明が解決しようとする課題】
【0005】
ところで、近年ペロブスカイト化合物を有する太陽電池パネルが開発されている。ペロブスカイト化合物は、一般的に寿命が短く耐久性に劣るという性質がある。そのため、屋根や屋上に接着剤等により完全に固定してしまうと、取り換える際に容易に交換できないという不都合があった。
【0006】
そこで、本発明は、太陽電池モジュールを容易に交換することができる太陽電池モジュールの取付構造を提供することを目的としている。
【課題を解決するための手段】
【0007】
上記課題に対して、本発明は、ペロブスカイト化合物を含む太陽電池モジュールの取付構造であって、バルコニーの壁部に取り付けられるとともに、前記壁部から室外方向に突出する突出部と、前記突出部の突出する方向と交差する方向に突出し、前記太陽電池モジュールを前記壁部の延びる方向に沿って把持する把持部とを備え、前記把持部は、前記太陽電池モジュールを厚み方向の両側から着脱可能に挟んで保持する一対の爪部を有していることを特徴とする。
【0008】
ここで、前記太陽電池モジュールから延びる配線及び前記配線を収容する配線箱が、笠木内に収容されていることが望ましい。
【0009】
また、前記太陽電池モジュールは、正面視で長方形状に形成されており、前記把持部は、前記太陽電池モジュールの長辺側又は短辺側の何れかの部分を把持することが望ましい。また、前記太陽電池モジュールは太陽電池パネルを有し、前記太陽電池パネルの室外側の表面は、透明な保護部材により覆われていることが望ましい。
【発明の効果】
【0010】
本発明の太陽電池モジュールの取付構造は、バルコニーの壁部から室外方向に突出する突出部と、太陽電池モジュールを壁部の延びる方向に沿って把持する把持部とを備え、把持部は、太陽電池モジュールを厚み方向の両側から着脱可能に挟んで保持する一対の爪部を有している。
(【0011】以降は省略されています)
この特許をJ-PlatPat(特許庁公式サイト)で参照する
関連特許
積水化学工業株式会社
樹脂管
1か月前
積水化学工業株式会社
配管構造
1か月前
積水化学工業株式会社
集合継手
1か月前
積水化学工業株式会社
製管装置
1か月前
積水化学工業株式会社
積層構造体
1か月前
積水化学工業株式会社
雨樋システム
20日前
積水化学工業株式会社
両面粘着テープ
1か月前
積水化学工業株式会社
配管の接続構造
1か月前
積水化学工業株式会社
両面粘着テープ
1か月前
積水化学工業株式会社
更生管の製管装置
1か月前
積水化学工業株式会社
防食用粘着テープ
1か月前
積水化学工業株式会社
太陽電池設置構造
5日前
積水化学工業株式会社
太陽電池設置構造
5日前
積水化学工業株式会社
太陽電池設置構造
5日前
積水化学工業株式会社
基板積層体の製造方法
20日前
積水化学工業株式会社
基板積層体の製造方法
17日前
積水化学工業株式会社
継手構造および接続構造
1か月前
積水化学工業株式会社
床の施工方法及び建築物
1か月前
積水化学工業株式会社
配管構造及びプレハブ配管
1か月前
積水化学工業株式会社
配管構造及びプレハブ配管
1か月前
積水化学工業株式会社
太陽電池モジュールの取付構造
5日前
積水化学工業株式会社
軒樋支持具および雨樋システム
1か月前
積水化学工業株式会社
竪樋支持具および排水システム
20日前
積水化学工業株式会社
集合継手及び集合継手の製造方法
1か月前
積水化学工業株式会社
粒体、地盤改良材及び地盤改良方法
1か月前
積水化学工業株式会社
マスターバッチ、及びその製造方法
1か月前
積水化学工業株式会社
熱膨張性マイクロカプセル用組成物
19日前
積水化学工業株式会社
防火区画貫通処理シート及び防火区画材
1か月前
積水化学工業株式会社
超音波トランスデューサおよび超音波センサ
5日前
積水化学工業株式会社
超音波トランスデューサ、及び超音波センサ
5日前
積水化学工業株式会社
光ファイバ担持樹脂成形体及びその製造方法
1か月前
積水化学工業株式会社
継手
17日前
積水化学工業株式会社
継手
10日前
積水化学工業株式会社
コンクリート試験体、及びコンクリート試験体の製造方法
1か月前
積水化学工業株式会社
熱伝導性シート保持体、及び熱伝導性シートの貼り付け方法
1か月前
積水化学工業株式会社
防食用粘着テープ
1か月前
続きを見る
他の特許を見る