TOP
|
特許
|
意匠
|
商標
特許ウォッチ
Twitter
他の特許を見る
10個以上の画像は省略されています。
公開番号
2025158897
公報種別
公開特許公報(A)
公開日
2025-10-17
出願番号
2024178283
出願日
2024-10-10
発明の名称
配管構造及びプレハブ配管
出願人
積水化学工業株式会社
,
シーケー金属株式会社
代理人
個人
,
個人
,
個人
,
個人
主分類
F16L
23/04 20060101AFI20251009BHJP(機械要素または単位;機械または装置の効果的機能を生じ維持するための一般的手段)
要約
【課題】組み立て作業の作業効率の低下を抑制することが可能な配管構造及びプレハブ配管の提供。
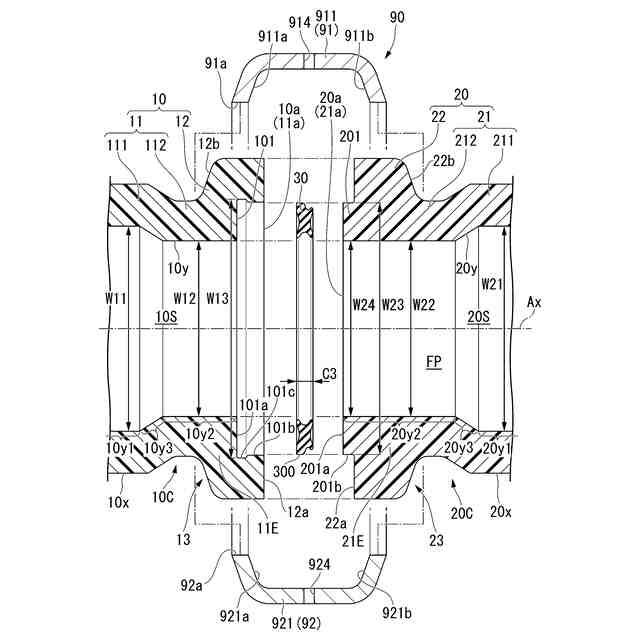
【解決手段】第1係合部13が、第2係合部23と対向する第1突き合わせ面12aと第2係合部23と対向し第1管状部11の開口部11aの周方向に形成された閉環状の凹条部101とを有し、第2係合部23が、第1係合部13と対向し第1突き合わせ面12aに突き合わせられる第2突き合わせ面22aと第1係合部13と対向し第2管状部21の開口部21aの周方向に形成され凹条部101に嵌合する閉環状の凸条部201とを有し、シール部材30が凹条部101と凸条部201とに挟持され、凹条部101のシール部材30と管軸方向に当接する第1当接部101aから第1配管部材10の管軸方向の第2配管部材20側の先端までの長さがシール部材30の管軸方向の長さC3よりも長い。
【選択図】図2
特許請求の範囲
【請求項1】
両端が開口する管状の第1管状部と、前記第1管状部の一端に設けられた第1膨出部と、を有し、前記第1管状部の前記一端と前記第1膨出部とが第1係合部を構成する第1配管部材と、
両端が開口する管状の第2管状部と、前記第2管状部の一端に設けられた第2膨出部と、を有し、前記第2管状部の前記一端と前記第2膨出部とが第2係合部を構成するとともに、前記第2係合部が前記第1係合部に連結される第2配管部材と、
前記第1係合部と前記第2係合部との連結箇所において、前記第1係合部と前記第2係合部とに液密に挟持される閉環状のシール部材と、を備え、
前記第1係合部は、前記第2係合部と対向する第1突き合わせ面と、前記第2係合部と対向し前記第1管状部の開口部の周方向に形成された閉環状の凹条部とを有し、
前記第2係合部は、前記第1係合部と対向し前記第1突き合わせ面に突き合わせられる第2突き合わせ面と、前記第1係合部と対向し前記第2管状部の開口部の周方向に形成され、前記凹条部に嵌合する閉環状の凸条部とを有し、
前記シール部材は、前記凹条部と前記凸条部とに挟持され、
前記シール部材は、前記第1係合部の前記凹条部と前記第2係合部とに挟持され、
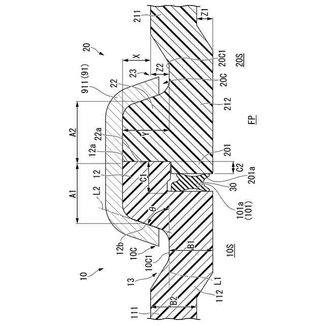
前記凹条部の前記シール部材と管軸方向に当接する第1当接部から第1配管部材の管軸方向の第2配管部材側の先端までの長さが、前記連結前の前記シール部材の管軸方向の長さよりも長い配管構造。
続きを表示(約 390 文字)
【請求項2】
前記凹条部の前記第1当接部から前記凸条部の前記シール部材と管軸方向に当接する第2当接部までの管軸方向の長さは、前記連結前の前記シール部材の管軸方向の長さよりも短い請求項1に記載の配管構造。
【請求項3】
前記凹条部の径方向内側は、前記第1管状部の開口部に露出している請求項1に記載の配管構造。
【請求項4】
前記第1係合部の前記第1突き合わせ面及び前記凹条部を形成する第1金属板と、
前記第2係合部の前記第2突き合わせ面及び前記凸条部を形成する第2金属板と、
を有する請求項2に記載の配管構造。
【請求項5】
請求項1から4のいずれか1項に記載の配管構造を有し、
前記第1管状部の他端及び前記第2管状部の他端の少なくとも一方に、樹脂材料で形成された継手が接続されているプレハブ配管。
発明の詳細な説明
【技術分野】
【0001】
本発明は、配管構造及びプレハブ配管に関する。
続きを表示(約 1,700 文字)
【背景技術】
【0002】
従来、内部に流体を流動させる配管において、配管部材同士を連結する構造として、配管部材の端部にそれぞれ設けられたフランジを対向させ、フランジ間にパッキン(シール部材)を挟持させた状態で互いのフランジ同士を係合させる配管構造が知られている(例えば、特許文献1参照)。配管構造の用途としては、給水用、給湯用、排水用、空調用、ガス用、燃料用の配管が知られている。
【先行技術文献】
【特許文献】
【0003】
特開2023-043265号公報
【発明の概要】
【発明が解決しようとする課題】
【0004】
上記特許文献1に記載の配管構造では、一方の配管部材のフランジ部の他方の配管部材側の端面に凹条部を設け、この凹条部にパッキンを配置して一方の配管部材のフランジ部と他方の配管部材のフランジ部とを合わせるようになっている。この配管構造においては、凹条部に配置されたパッキンが一方の配管部材から外側に突出しているため、一方の配管部材から脱落し易い。このため、一方の配管部材のフランジ部と他方の配管部材のフランジ部とを合わせる際にパッキンが凹条部から脱落しないように注意して作業する必要がある。そのため、配管構造の組み立て時の作業効率が低下するおそれがある。
【0005】
本発明はこのような事情に鑑みてなされたものであって、組み立て作業の作業効率の低下を抑制することが可能な配管構造を提供することを目的とする。また、このような配管構造を備えたプレハブ配管を提供することを合わせて目的とする。
【課題を解決するための手段】
【0006】
上記の課題を解決するため、本発明の一態様は、以下の態様を包含する。
【0007】
[1]両端が開口する管状の第1管状部と、前記第1管状部の一端に設けられた第1膨出部と、を有し、前記第1管状部の前記一端と前記第1膨出部とが第1係合部を構成する第1配管部材と、両端が開口する管状の第2管状部と、前記第2管状部の一端に設けられた第2膨出部と、を有し、前記第2管状部の前記一端と前記第2膨出部とが第2係合部を構成するとともに、前記第2係合部が前記第1係合部に連結される第2配管部材と、前記第1係合部と前記第2係合部との連結箇所において、前記第1係合部と前記第2係合部とに液密に挟持される閉環状のシール部材と、を備え、前記第1係合部は、前記第2係合部と対向する第1突き合わせ面と、前記第2係合部と対向し前記第1管状部の開口部の周方向に形成された閉環状の凹条部とを有し、前記第2係合部は、前記第1係合部と対向し前記第1突き合わせ面に突き合わせられる第2突き合わせ面と、前記第1係合部と対向し前記第2管状部の開口部の周方向に形成され、前記凹条部に嵌合する閉環状の凸条部とを有し、前記シール部材は、前記凹条部と前記凸条部とに挟持され、前記凹条部の前記シール部材と管軸方向に当接する第1当接部から第1配管部材の管軸方向の第2配管部材側の先端までの長さが、前記連結前の前記シール部材の管軸方向の長さよりも長い配管構造。
【0008】
[2]前記第2係合部は、前記第1係合部と対向し前記第2管状部の開口部の周方向に形成され、前記凹条部に嵌合する閉環状の凸条部を有し、前記シール部材は、前記凸条部と前記凹条部との間に配置され、前記凹条部の前記第1当接部から前記凸条部の前記シール部材と管軸方向に当接する第2当接部までの管軸方向の長さは、前記連結前の前記シール部材の管軸方向の長さよりも短い[1]に記載の配管構造。
【0009】
[3]前記凹条部の径方向内側は、前記第1管状部の開口部に露出している[1]に記載の配管構造。
【0010】
[4]前記第1係合部の前記第1突き合わせ面及び前記凹条部を形成する第1金属板と、前記第2係合部の前記第2突き合わせ面及び前記凸条部を形成する第2金属板と、を有する[2]に記載の配管構造。
(【0011】以降は省略されています)
この特許をJ-PlatPat(特許庁公式サイト)で参照する
関連特許
積水化学工業株式会社
粘着テープ
6日前
積水化学工業株式会社
粘着テープ
6日前
積水化学工業株式会社
太陽電池設置構造
22日前
積水化学工業株式会社
表示素子用封止剤
2日前
積水化学工業株式会社
太陽電池設置構造
22日前
積水化学工業株式会社
太陽電池設置構造
22日前
積水化学工業株式会社
基板積層体の製造方法
1か月前
積水化学工業株式会社
液晶デバイス用シール剤
2日前
積水化学工業株式会社
表面材及び表面材付き基材
6日前
積水化学工業株式会社
竪樋支持具および排水システム
1か月前
積水化学工業株式会社
太陽電池モジュールの取付構造
22日前
積水化学工業株式会社
熱膨張性マイクロカプセル用組成物
1か月前
積水化学工業株式会社
既設管更生方法および既設管更生設備
7日前
積水化学工業株式会社
ポリオルガノシロキサン、樹脂組成物
13日前
積水化学工業株式会社
硬化性樹脂組成物及び表示素子用封止剤
2日前
積水化学工業株式会社
超音波トランスデューサ、及び超音波センサ
22日前
積水化学工業株式会社
超音波トランスデューサおよび超音波センサ
22日前
積水化学工業株式会社
継手
27日前
積水化学工業株式会社
継手
1か月前
積水化学工業株式会社
ガス製造装置
13日前
積水化学工業株式会社
光ファイバ担持管梱包体および光ファイバ担持管梱包体用の支持部材
29日前
積水化学工業株式会社
集合継手及び配管構造
1か月前
積水化学工業株式会社
アダプタおよび継手構造
21日前
積水化学工業株式会社
電気融着継手、配管システム、配管付き電気融着継手、及び配管更生構造
1か月前
積水化学工業株式会社
多口継手及び配管システム
21日前
積水化学工業株式会社
ポリビニルアセタール樹脂
2日前
積水化学工業株式会社
ポリビニルアセタール樹脂
6日前
積水化学工業株式会社
ポリビニルアセタール樹脂
6日前
積水化学工業株式会社
ポリビニルアセタール樹脂
6日前
積水化学工業株式会社
ポリビニルアセタール樹脂
6日前
積水化学工業株式会社
ポリビニルアセタール樹脂
6日前
積水化学工業株式会社
ポリビニルアセタール樹脂
6日前
積水化学工業株式会社
ポリビニルアセタール樹脂
6日前
積水化学工業株式会社
ポリビニルアセタール樹脂
6日前
積水化学工業株式会社
ポリビニルアセタール樹脂
6日前
積水化学工業株式会社
ポリビニルアセタール樹脂
6日前
続きを見る
他の特許を見る