TOP
|
特許
|
意匠
|
商標
特許ウォッチ
Twitter
他の特許を見る
公開番号
2025170168
公報種別
公開特許公報(A)
公開日
2025-11-14
出願番号
2025154050,2023172313
出願日
2025-09-17,2019-08-28
発明の名称
継手
出願人
積水化学工業株式会社
代理人
個人
,
個人
,
個人
,
個人
主分類
E03C
1/12 20060101AFI20251107BHJP(上水;下水)
要約
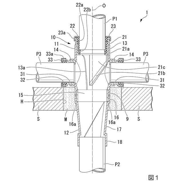
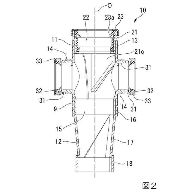
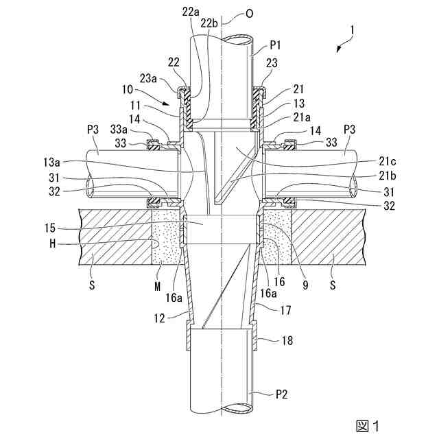
【課題】本発明は、様々な厚みのスラブであっても耐火性を確実に発現でき、低コストで実施できる継手の提供を目的とする。
【解決手段】本発明の継手10は、上部接続管11と、この上部接続管11に接続された中間管15と、この中間管15に接続された下部接続管12と、を備える継手であって、前記中間管15に熱膨張性耐火材料を含み、前記中間管15の高さを150mm以下としたことを特徴とする。
【選択図】図1
特許請求の範囲
【請求項1】
上部接続管と、この上部接続管に接続された中間管と、この中間管に接続された下部接続管と、を備える継手であって、
前記中間管に熱膨張性耐火材料を含み、前記中間管の高さを150mm以下としたことを特徴とする継手。
続きを表示(約 780 文字)
【請求項2】
上部接続管と、この上部接続管に接続された中間管と、この中間管に接続された下部接続管と、を備える継手であって、
前記中間管の周囲に相当する前記上部接続管の下端部外周と前記下部接続管の上端部外周に、熱膨張性耐火材料を含む耐火層を設け、前記耐火層の高さを150mm以下としたことを特徴とする継手。
【請求項3】
前記上部接続管の下端部と前記中間管と前記下部接続管の上端部が床スラブの貫通孔内に配置される部材であり、
前記下部接続管の上部側に前記中間管に接続する接続管部を形成し、前記下部接続管の下部側に下窄まり状の傾斜管部を形成するとともに、
前記接続管部全体と前記傾斜管部の上部を前記床スラブの貫通孔内に配置することを特徴とする請求項1または請求項2に記載の継手。
【請求項4】
前記接続管部下端の外径を前記傾斜管部上端の外径より大きく形成し、前記接続管部と前記傾斜管部の境界部分に周段部を形成したことを特徴とする請求項3に記載の継手。
【請求項5】
前記上部接続管の下端部と前記中間管と前記下部接続管の上端部が床スラブの貫通孔内に配置される場合、これらを囲むように前記貫通孔内に充填材を充填したことを特徴とする請求項3または請求項4に記載の継手。
【請求項6】
前記上部接続管の内部側であって前記中間管より上方に旋回羽根を設けたことを特徴とする請求項1~請求項5のいずれか一項に記載の継手。
【請求項7】
上部接続管と、この上部接続管に接続された下部接続管と、を備える継手であって、 前記上部接続管と前記下部接続管とが接続されている部分の周囲に、熱膨張性耐火材料を含む耐火層を設け、前記耐火層の高さを150mm以下としたことを特徴とする継手。
発明の詳細な説明
【技術分野】
【0001】
本発明は、継手に関する。
続きを表示(約 1,700 文字)
【背景技術】
【0002】
従来から、例えば以下の特許文献1、2に記載されているような、樹脂製排水集合継手の耐火性を発現させる構造が知られている。
特許文献1には、建築物の床スラブを上下に貫通する排水管継手が記載されている。この構造において、排水立管が床スラブを貫通する部分に、貫通部分の全周を囲むように熱膨張性耐火材からなるパイプが内在されている。
特許文献2には、上胴部と下胴部からなる排水管継手が床スラブを貫通する構造が記載されている。この構造では、排水管継手の内部に火災の熱により膨張する熱膨張性材料からなる内装部材が設けられている。この内装部材の内周部には旋回ガイドと称される羽根部材が複数形成され、流下する排水の流速を減少させながら排水を旋回させることができる。
【先行技術文献】
【特許文献】
【0003】
特開2014-98305号公報
特開2015-175187号公報
【発明の概要】
【発明が解決しようとする課題】
【0004】
特許文献1に記載の構造では、熱膨張性耐火材のパイプが火災の熱によって膨張し、排水管路を閉塞することで火炎や煙等の流通を遮断する。
特許文献1に記載の構造では、排水を旋回流とするための旋回羽根が排水管継手の内部に設けられているので、熱膨張性耐火材のパイプの設置位置と旋回羽根の設置位置を高さ方向でずらす必要がある。旋回羽根の部分で管路を閉塞しようとすると、旋回羽根が邪魔となり、スムーズな管路の閉塞に支承を来すおそれがあるためである。
【0005】
ところが、実際に集合継手を設置する位置のスラブ厚みや諸条件が様々なため、スラブ内に熱膨張性耐火材のパイプを埋設した上にスラブの下方に旋回羽根を位置させることができない問題があった。
例えば、一般的なスラブの厚みは150~300mm程度で種々多彩であり、集合継手の設置環境によってはスラブの厚みが異なっているので、特許文献1に記載の構造を全ての設置環境に適用することが難しい問題があった。
【0006】
特許文献2に記載の構造では、耐火性を発現するために、パイプを閉塞できる程度の大きな旋回羽根を設置する必要があった。しかし、スラブ厚みが薄い場合、集合継手の下部がスラブに埋設されないため、下の階に火炎が発生した場合に継手下部が旋回羽根とともに燃え落ちてしまうおそれがあり、場合によっては耐火性が発現されないおそれがある。
【0007】
本発明は、前述した事情に鑑みてなされたものであって、様々な厚みのスラブであっても耐火性を確実に発現でき、低コストで実施できる継手を提供することを目的とする。
【課題を解決するための手段】
【0008】
前記課題を解決するために、本発明は以下の形態を提案している。
「1」本形態に係る継手は、上部接続管と、この上部接続管に接続された中間管と、この中間管に接続された下部接続管と、を備える集合継手であって、前記中間管に熱膨張性耐火材料を含み、前記中間管の高さを150mm以下としたことを特徴とする。
【0009】
床スラブの貫通孔に上部接続管の下端部と下部接続管の上端部を挿入し、貫通孔に充填材を充填した構造とする場合、上部接続管の下端部と下部接続管の上端部を接続した中間管に熱膨張性耐火材料を含んでいる。
火災時に火炎や煙によってスラブと貫通孔周りが加熱された場合、中間管に含まれる熱膨張性耐火材料が膨張し、上部接続管と下部接続管の接続部分を閉塞する。このため、下の階の火炎や煙が上の階に伝わることを防止でき、火災の延焼防止効果を発現する。
【0010】
中間管の高さが150mm以下であれば、床スラブ厚が150~300mmの範囲で種々多彩な厚みであり、異なる設置環境であっても、中間管を床スラブの貫通孔内に確実に配置でき、火災延焼防止効果を確実に発現できる。このため、本実施形態の構造は、一般的なスラブ厚の建築物であればいずれの建築物にも広く適用でき、汎用性に優れている。
(【0011】以降は省略されています)
この特許をJ-PlatPat(特許庁公式サイト)で参照する
関連特許
積水化学工業株式会社
粘着テープ
5日前
積水化学工業株式会社
粘着テープ
5日前
積水化学工業株式会社
雨樋システム
1か月前
積水化学工業株式会社
太陽電池設置構造
21日前
積水化学工業株式会社
太陽電池設置構造
21日前
積水化学工業株式会社
表示素子用封止剤
1日前
積水化学工業株式会社
太陽電池設置構造
21日前
積水化学工業株式会社
基板積層体の製造方法
1か月前
積水化学工業株式会社
基板積層体の製造方法
1か月前
積水化学工業株式会社
液晶デバイス用シール剤
1日前
積水化学工業株式会社
表面材及び表面材付き基材
5日前
積水化学工業株式会社
竪樋支持具および排水システム
1か月前
積水化学工業株式会社
太陽電池モジュールの取付構造
21日前
積水化学工業株式会社
熱膨張性マイクロカプセル用組成物
1か月前
積水化学工業株式会社
既設管更生方法および既設管更生設備
6日前
積水化学工業株式会社
ポリオルガノシロキサン、樹脂組成物
12日前
積水化学工業株式会社
硬化性樹脂組成物及び表示素子用封止剤
1日前
積水化学工業株式会社
超音波トランスデューサ、及び超音波センサ
21日前
積水化学工業株式会社
超音波トランスデューサおよび超音波センサ
21日前
積水化学工業株式会社
継手
1か月前
積水化学工業株式会社
継手
26日前
積水化学工業株式会社
ガス製造装置
12日前
積水化学工業株式会社
施工管理システム
1か月前
積水化学工業株式会社
光ファイバ担持管梱包体および光ファイバ担持管梱包体用の支持部材
28日前
積水化学工業株式会社
集合継手及び配管構造
1か月前
積水化学工業株式会社
アダプタおよび継手構造
20日前
積水化学工業株式会社
電気融着継手、配管システム、配管付き電気融着継手、及び配管更生構造
1か月前
積水化学工業株式会社
ポリビニルアセタール樹脂
1日前
積水化学工業株式会社
多口継手及び配管システム
20日前
積水化学工業株式会社
ポリビニルアセタール樹脂
5日前
積水化学工業株式会社
ポリビニルアセタール樹脂
5日前
積水化学工業株式会社
ポリビニルアセタール樹脂
5日前
積水化学工業株式会社
ポリビニルアセタール樹脂
5日前
積水化学工業株式会社
ポリビニルアセタール樹脂
5日前
積水化学工業株式会社
ポリビニルアセタール樹脂
5日前
積水化学工業株式会社
ポリビニルアセタール樹脂
5日前
続きを見る
他の特許を見る