TOP
|
特許
|
意匠
|
商標
特許ウォッチ
Twitter
他の特許を見る
10個以上の画像は省略されています。
公開番号
2025165133
公報種別
公開特許公報(A)
公開日
2025-11-04
出願番号
2024069038
出願日
2024-04-22
発明の名称
雨樋システム
出願人
積水化学工業株式会社
代理人
個人
,
個人
,
個人
,
個人
主分類
E04D
13/064 20060101AFI20251027BHJP(建築物)
要約
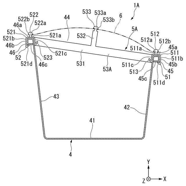
【課題】樋部材内に落ち葉等の異物が入り込むことを抑制することができる雨樋システムを提供する。
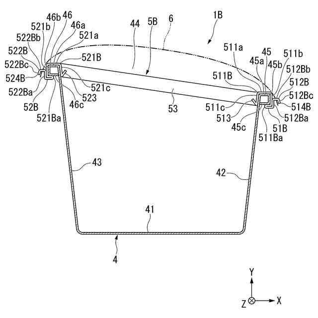
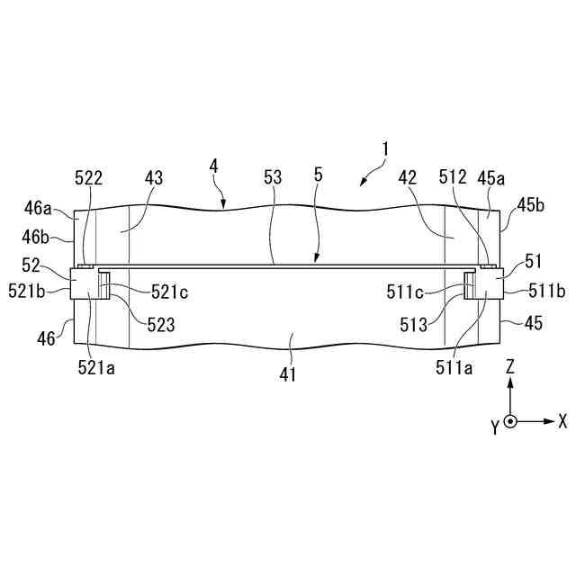
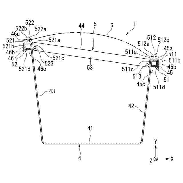
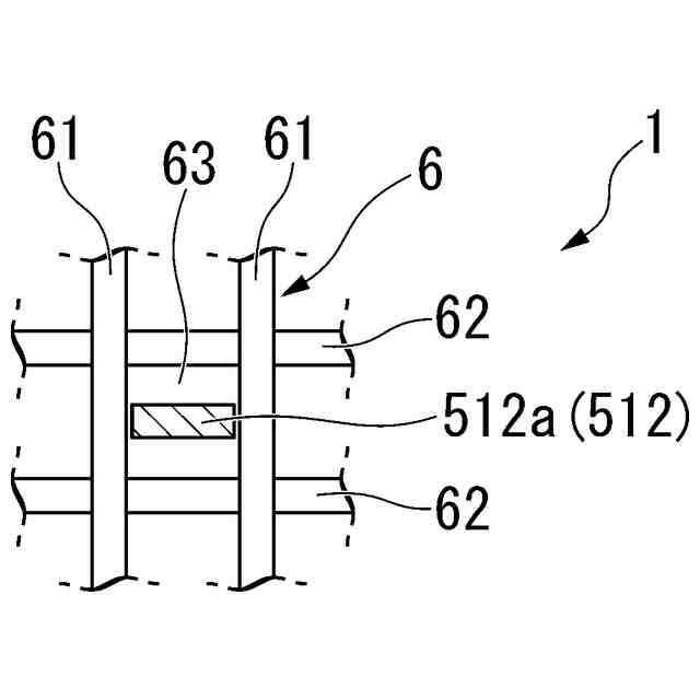
【解決手段】雨樋システム1は、底板41と、底板41の幅方向両端それぞれから立ち上がると共に上端に耳部45,46が設けられた側板42,43とを備え、両側の側板42,43の上端部間が開口部44とされた樋部材4と、両側の耳部45,46それぞれに係合する治具51,52と、を有し、両側の治具51,52は、樋部材4の開口部44を覆うネット部材6に係合するネット係止部512,522を備える。
【選択図】図4
特許請求の範囲
【請求項1】
底板と、該底板の幅方向両端それぞれから立ち上がると共に上端に耳部が設けられた側板とを備え、両側の前記側板の上端部間が開口部とされた樋部材と、
両側の前記耳部それぞれに係合する治具と、を有し、
両側の前記治具は、前記樋部材の前記開口部を覆うネット部材に係合するネット係止部 を備える雨樋システム。
続きを表示(約 210 文字)
【請求項2】
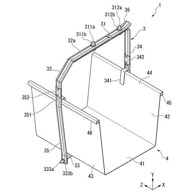
両側の前記治具同士を連結して前記樋部材を補強する補強部材を有する請求項1に記載の雨樋システム。
【請求項3】
屋根に取り付けられて前記樋部材を支持する支持具に前記治具が設けられている請求項1に記載の雨樋システム。
【請求項4】
前記治具は、前記樋部材内で跳ね返る雨水の前記開口部からの飛び出しを抑制する水返し部を有する請求項1から3のいずれか一項に記載の雨樋システム。
発明の詳細な説明
【技術分野】
【0001】
本発明は、雨樋システムに関する。
続きを表示(約 1,300 文字)
【背景技術】
【0002】
屋根から落下する雨水を排水するための軒樋(谷状に配置された二か所の屋根から落下する雨水を排水する谷樋を含む)は、天候等の影響を受けやすく、温度変化や風雨等にさらされているため、劣化や変形を生じやすい。蛇行や湾曲等の変形を抑制するため、軒樋を高強度化することが行われている。また、軒樋では、軒樋の各部分に応じて要求される強度、耐熱性等が異なる場合があるため、各部分の強度、耐熱性の調節が容易な軒樋が提案されている(例えば、特許文献1参照)。
【先行技術文献】
【特許文献】
【0003】
特開2022-52521号公報
【発明の概要】
【発明が解決しようとする課題】
【0004】
ところで、雨樋システムにおいて、樋部材内に落ち葉等の異物が入り込んで貯まると排水性が低下してしまう。このため、樋部材から異物を取り除くといった手間がかかる作業が頻繁に必要になってしまう。特に、樋部材が大型化すると落ち葉等の異物が入り込み易くなる。
【0005】
本発明は、前述した事情に鑑みてなされたものであって、樋部材内に落ち葉等の異物が入り込むことを抑制することができる雨樋システムを提供することを目的とする。
【課題を解決するための手段】
【0006】
本発明は以下の態様を有する。
(1)本発明に係る雨樋システムの一態様は、
底板と、該底板の幅方向両端それぞれから立ち上がると共に上端に耳部が設けられた側板とを備え、両側の前記側板の上端部間が開口部とされた樋部材と、
両側の前記耳部それぞれに係合する治具と、を有し、
両側の前記治具は、前記樋部材の前記開口部を覆うネット部材に係合するネット係止部 を備える。
【0007】
上述の雨樋システムの態様は、ネット部材で樋部材の開口部を覆うため、樋部材内に落ち葉等の異物が入り込むことをネット部材で抑制することができる。よって、貯まった異物を樋部材から取り除くといった手間がかかる作業の頻度を減らすことができる。
しかも、樋部材の両側の耳部それぞれに係合する治具を有しており、これら両側の治具のネット係止部にネット部材を支持するため、樋部材の形状を変更することなく、樋部材の開口部を覆うようにネット部材を取り付けることが容易にできる。
【0008】
(2)上記(1)の態様において、両側の前記治具同士を連結して前記樋部材を補強する補強部材を有していても良い。
【0009】
この場合、補強部材で樋部材を補強することができるため、風等の影響による樋部材の変形を抑制することができる。
しかも、両側の治具を補強部材が連結するため、これらを予め連結しておけば施工時の作業数を減らすことができる。
【0010】
(3)上記(1)の態様において、屋根に取り付けられて前記樋部材を支持する支持具に前記治具が設けられていても良い。
(【0011】以降は省略されています)
この特許をJ-PlatPat(特許庁公式サイト)で参照する
関連特許
積水化学工業株式会社
太陽電池設置構造
12日前
積水化学工業株式会社
太陽電池設置構造
12日前
積水化学工業株式会社
太陽電池設置構造
12日前
積水化学工業株式会社
基板積層体の製造方法
24日前
積水化学工業株式会社
太陽電池モジュールの取付構造
12日前
積水化学工業株式会社
竪樋支持具および排水システム
27日前
積水化学工業株式会社
熱膨張性マイクロカプセル用組成物
26日前
積水化学工業株式会社
ポリオルガノシロキサン、樹脂組成物
3日前
積水化学工業株式会社
超音波トランスデューサおよび超音波センサ
12日前
積水化学工業株式会社
超音波トランスデューサ、及び超音波センサ
12日前
積水化学工業株式会社
継手
17日前
積水化学工業株式会社
継手
24日前
積水化学工業株式会社
ガス製造装置
3日前
積水化学工業株式会社
光ファイバ担持管梱包体および光ファイバ担持管梱包体用の支持部材
19日前
積水化学工業株式会社
集合継手及び配管構造
24日前
積水化学工業株式会社
アダプタおよび継手構造
11日前
積水化学工業株式会社
電気融着継手、配管システム、配管付き電気融着継手、及び配管更生構造
27日前
積水化学工業株式会社
多口継手及び配管システム
11日前
積水化学工業株式会社
還元剤およびガスの製造方法
11日前
積水化学工業株式会社
ドレン部材、軒樋、及び雨樋
17日前
積水化学工業株式会社
雨樋用曲がり配管及び雨樋システム
24日前
積水化学工業株式会社
軒樋、軒樋システム、及び軒樋梱包体
3日前
積水化学工業株式会社
ポリオール含有組成物、発泡性ポリウレタン組成物及びポリウレタンフォーム
3日前
個人
接合構造
1か月前
個人
タッチミー
1か月前
個人
屋台
2か月前
個人
野良猫ハウス
2か月前
個人
転落防止用手摺
2か月前
個人
フェンス
3か月前
個人
安心補助てすり
1か月前
ニチハ株式会社
建築板
3か月前
個人
筋交自動設定装置
2か月前
個人
居住車両用駐車場
3か月前
積水樹脂株式会社
柵体
2か月前
個人
ベンリナアングル
1か月前
個人
地下型マンション
5か月前
続きを見る
他の特許を見る