TOP
|
特許
|
意匠
|
商標
特許ウォッチ
Twitter
他の特許を見る
公開番号
2025168865
公報種別
公開特許公報(A)
公開日
2025-11-12
出願番号
2024073682
出願日
2024-04-30
発明の名称
光ファイバ担持管梱包体および光ファイバ担持管梱包体用の支持部材
出願人
積水化学工業株式会社
代理人
個人
,
個人
,
個人
,
個人
主分類
B65H
75/02 20060101AFI20251105BHJP(運搬;包装;貯蔵;薄板状または線条材料の取扱い)
要約
【課題】長尺の光ファイバ担持管を収納することができ、かつ必要に応じて巻き出すことができる、光ファイバ担持管梱包体を提供する。
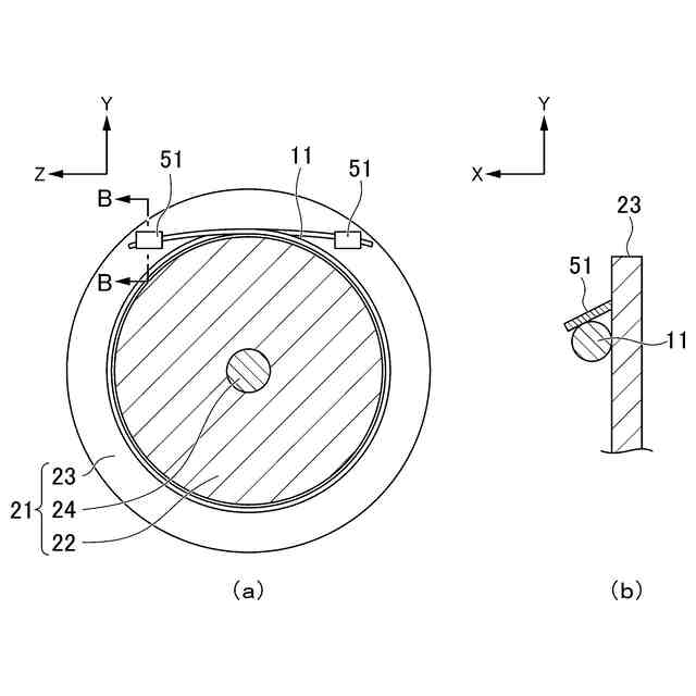
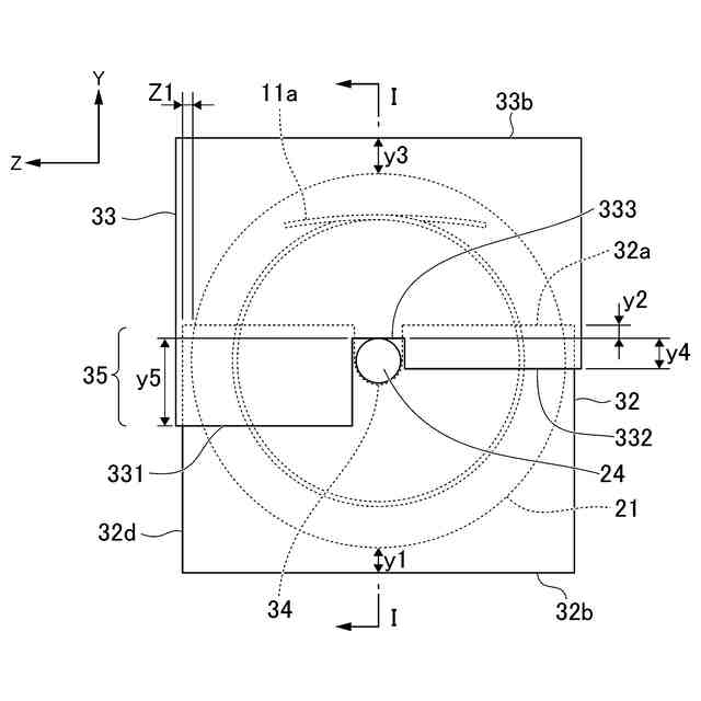
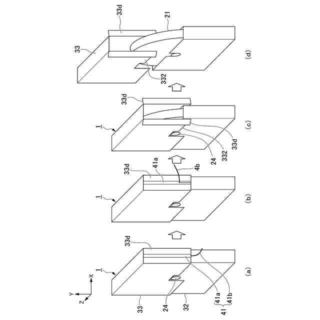
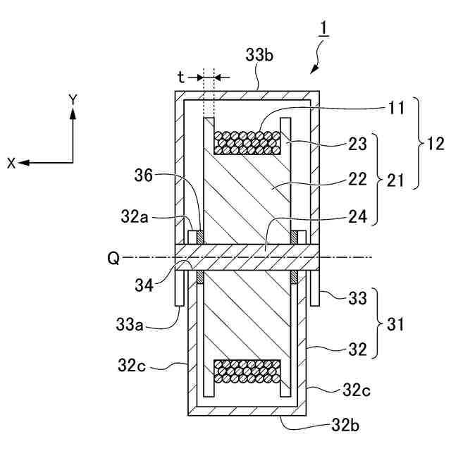
【解決手段】長尺の円筒状であり、筒壁内に1本以上の光ファイバを有する光ファイバ担持管11と、円柱状の胴部22、胴部22の両端に存在する鍔部23および胴部22を貫通する回転軸24とを有するボビン21に、光ファイバ担持管11を巻き付けた巻回体12と、巻回体12を収容する箱体31とを備え、箱体31は、上部が開口している下箱32と、下箱32の開口部を着脱可能に閉じる上箱33とを有し、下箱32は、回転軸24を回動可能に保持する軸受け部34を有する、光ファイバ担持管梱包体1。
【選択図】図1
特許請求の範囲
【請求項1】
長尺の円筒状であり、筒壁内に1本以上の光ファイバを有する光ファイバ担持管と、
円柱状の胴部、前記胴部の両端に存在する鍔部、および前記胴部を貫通する回転軸を有するボビンに、前記光ファイバ担持管を巻き付けた巻回体と、
前記巻回体を収容する箱体と、を備え、
前記箱体は、上部が開口している下箱と、前記下箱の開口部を着脱可能に閉じる上箱とを有し、
前記下箱は、前記回転軸を回動可能に保持する軸受け部を有する、光ファイバ担持管梱包体。
続きを表示(約 700 文字)
【請求項2】
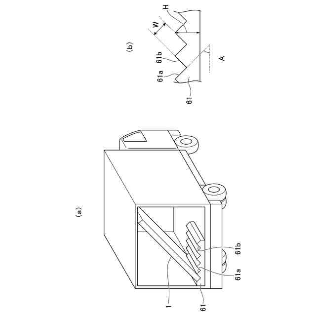
前記上箱は、前記回転軸の軸線方向に対して平行な側面が開口可能である、請求項1に記載の光ファイバ担持管梱包体。
【請求項3】
前記開口可能な側面は、前記回転軸の軸線方向に対して垂直な方向に延在する易開封部を有する、請求項2に記載の光ファイバ担持管梱包体。
【請求項4】
前記下箱内に、前記ボビンを、前記回転軸の軸線方向に対して平行な方向に押圧する摩擦材が存在する、請求項1に記載の光ファイバ担持管梱包体。
【請求項5】
前記ボビンは、前記光ファイバ担持管を前記ボビンの前記鍔部の内側面に接して固定する固定部材を有する、請求項1に記載の光ファイバ担持管梱包体。
【請求項6】
前記下箱の、前記回転軸の軸線方向に対して垂直な側面に、1個以上の手掛け穴が存在する、請求項1に記載の光ファイバ担持管梱包体。
【請求項7】
前記下箱の、前記回転軸の軸線方向に対して垂直な側面に、転倒防止材を係止する係止穴が存在する、請求項1に記載の光ファイバ担持管梱包体。
【請求項8】
前記下箱及び前記上箱が、樹脂製の段ボールからなる、請求項1に記載の光ファイバ担持管梱包体。
【請求項9】
請求項1~8のいずれか一項に記載の光ファイバ担持管梱包体を支持する、板状の支持部材であって、
上面に複数のV字溝が溝幅方向に連続して存在し、前記V字溝の一方の壁面は前記光ファイバ担持管梱包体の底面に当接し、他方の壁面は前記光ファイバ担持管梱包体の側面に当接する、光ファイバ担持管梱包体用の支持部材。
発明の詳細な説明
【技術分野】
【0001】
本発明は光ファイバ担持管梱包体および光ファイバ担持管梱包体用の支持部材に関する。
続きを表示(約 2,200 文字)
【背景技術】
【0002】
光ファイバを用いて構造物の変位を監視できるセンサーとして、例えば、光ファイバを備えた光ファイバ担持管が用いられている。
光ファイバ担持管は、例えば、長尺の樹脂管と、樹脂管の軸方向に延びる光ファイバとを一体的に備える。光ファイバ担持管を所望の場所に敷設し、光ファイバを計測機器に接続し、光ファイバのレイリー散乱の周波数変化又は位相変化から、樹脂管に生じた曲げ、伸び、ねじりの各ひずみ変化、圧力変化、温度変化を計測機器で常時監視できる。
【0003】
特許文献1には、同軸ケーブル、電線等の線材を運搬する形態として、線材を巻回したボビンを回転可能に収納し、必要に応じて巻き出すことができる収納箱が提案されている。
【先行技術文献】
【特許文献】
【0004】
登録実用新案第3038095号公報
【発明の概要】
【発明が解決しようとする課題】
【0005】
しかしながら、光ファイバは応力によって断線しやすいため取り扱いが難しく、同軸ケーブル、電線等における技術を、光ファイバ担持管に転用することは難しい。
本発明は、長尺の光ファイバ担持管を収納することができ、かつ必要に応じて巻き出すことができる、光ファイバ担持管梱包体を目的とする。
【課題を解決するための手段】
【0006】
本発明は以下の態様を有する。
<1> 長尺の円筒状であり、筒壁内に1本以上の光ファイバを有する光ファイバ担持管と、
円柱状の胴部、前記胴部の両端に存在する鍔部、および前記胴部を貫通する回転軸を有するボビンに、前記光ファイバ担持管を巻き付けた巻回体と、
前記巻回体を収容する箱体と、を備え、
前記箱体は、上部が開口している下箱と、前記下箱の開口部を着脱可能に閉じる上箱とを有し、
前記下箱は、前記回転軸を回動可能に保持する軸受け部を有する、光ファイバ担持管梱包体。
<2> 前記上箱は、前記回転軸の軸線方向に対して平行な側面が開口可能である、<1>に記載の光ファイバ担持管梱包体。
<3> 前記開口可能な側面は、前記回転軸の軸線方向に対して垂直な方向に延在する易開封部を有する、<2>に記載の光ファイバ担持管梱包体。
<4> 前記下箱内に、前記ボビンを、前記回転軸の軸線方向に対して平行な方向に押圧する摩擦材が存在する、<1>~<3>のいずれか一項に記載の光ファイバ担持管梱包体。
<5> 前記ボビンは、前記光ファイバ担持管を前記ボビンの前記鍔部の内側面に接して固定する固定部材を有する、<1>~<4>のいずれか一項に記載の光ファイバ担持管梱包体。
<6> 前記下箱の、前記回転軸の軸線方向に対して垂直な側面に、1個以上の手掛け穴が存在する、<1>~<5>のいずれか一項に記載の光ファイバ担持管梱包体。
<7> 前記下箱の、前記回転軸の軸線方向に対して垂直な側面に、転倒防止材を係止する係止穴が存在する、<1>~<6>のいずれか一項に記載の光ファイバ担持管梱包体。
<8> 前記下箱及び前記上箱が、樹脂製の段ボールからなる、<1>~<7>のいずれか一項に記載の光ファイバ担持管梱包体。
<9> 前記<1>~<8>のいずれか一項に記載の光ファイバ担持管梱包体を支持する、板状の支持部材であって、
上面に複数のV字溝が溝幅方向に連続して存在し、前記V字溝の一方の壁面は前記光ファイバ担持管梱包体の底面に当接し、他方の壁面は前記光ファイバ担持管梱包体の側面に当接する、光ファイバ担持管梱包体用の支持部材。
【発明の効果】
【0007】
本発明によれば、長尺の光ファイバ担持管を収納することができ、かつ必要に応じて巻き出すことができる光ファイバ担持管梱包体、および光ファイバ担持管梱包体用の支持部材が得られる。
【図面の簡単な説明】
【0008】
本発明の一実施形態に係る光ファイバ担持管梱包体の断面図である。
図1の光ファイバ担持管梱包体の正面図である。
図1の光ファイバ担持管梱包体の開梱方法の説明図である。
光ファイバ担持管梱包体の使用方法の説明図である。
光ファイバ担持管梱包体の変形例を示す(a)断面図と(b)B-B線に沿う要部拡大断面図である。
光ファイバ担持管梱包体の変形例を示す正面図である。
光ファイバ担持管梱包体の変形例を示す斜視図である。
本発明の一実施形態に係る光ファイバ担持管梱包体用の支持部材を示すもので(a)は使用状態を示す斜視図、(b)は要部拡大図である。
【発明を実施するための形態】
【0009】
本明細書及び特許請求の範囲において、数値範囲を示す「~」は、その前後に記載した数値を下限値及び上限値として含むことを意味する。
【0010】
以下、図面を参照し、本発明の実施形態に係る光ファイバ担持管梱包体を説明する。
なお、以下の図は、その構成をわかりやすく説明するための模式図である。
(【0011】以降は省略されています)
この特許をJ-PlatPat(特許庁公式サイト)で参照する
関連特許
積水化学工業株式会社
集合継手
1か月前
積水化学工業株式会社
製管装置
1か月前
積水化学工業株式会社
雨樋システム
11日前
積水化学工業株式会社
配管の接続構造
24日前
積水化学工業株式会社
防食用粘着テープ
1か月前
積水化学工業株式会社
更生管の製管装置
1か月前
積水化学工業株式会社
基板積層体の製造方法
8日前
積水化学工業株式会社
基板積層体の製造方法
11日前
積水化学工業株式会社
配管構造及びプレハブ配管
29日前
積水化学工業株式会社
配管構造及びプレハブ配管
29日前
積水化学工業株式会社
軒樋支持具および雨樋システム
29日前
積水化学工業株式会社
竪樋支持具および排水システム
11日前
積水化学工業株式会社
熱膨張性マイクロカプセル用組成物
10日前
積水化学工業株式会社
粒体、地盤改良材及び地盤改良方法
1か月前
積水化学工業株式会社
マスターバッチ、及びその製造方法
1か月前
積水化学工業株式会社
継手
1日前
積水化学工業株式会社
継手
8日前
積水化学工業株式会社
熱伝導性シート保持体、及び熱伝導性シートの貼り付け方法
1か月前
積水化学工業株式会社
防食用粘着テープ
22日前
積水化学工業株式会社
施工管理システム
16日前
積水化学工業株式会社
光ファイバ担持管梱包体および光ファイバ担持管梱包体用の支持部材
3日前
積水化学工業株式会社
集合継手及び配管構造
8日前
積水化学工業株式会社
電気融着継手、配管システム、配管付き電気融着継手、及び配管更生構造
11日前
積水化学工業株式会社
集合継手および継手構造
29日前
積水化学工業株式会社
ドレン部材、軒樋、及び雨樋
1日前
積水化学工業株式会社
雨樋用曲がり配管及び雨樋システム
8日前
積水化学工業株式会社
フレキシブルGHLC素子用シール剤
29日前
積水化学工業株式会社
排水口用保護具及びルーフドレーンの施工方法
29日前
積水化学工業株式会社
導電性粒子、ソケット、導電材料及び接続構造体
22日前
積水化学工業株式会社
補強用接着シートおよびその巻回体並びに風力発電用ブレードの補修方法および風力発電用ブレード
17日前
積水化学工業株式会社
調光素子用シール剤、硬化性樹脂組成物の調光素子用シール剤としての使用、調光素子、及び、合わせガラス
1か月前
積水化学工業株式会社
区画貫通処理構造、区画貫通処理材及び区画貫通処理構造の施工方法
1か月前
積水化学工業株式会社
区画貫通処理構造、区画貫通処理材、及び区画貫通処理構造の施工方法
16日前
積水化学工業株式会社
ポリオール組成物、難燃性ウレタン樹脂組成物、及びポリウレタン発泡体
1か月前
積水化学工業株式会社
ポリオール含有組成物、発泡性ウレタン樹脂組成物、及びポリウレタン発泡体
22日前
積水化学工業株式会社
アレルゲン低減化剤、アレルゲン低減化溶液、アレルゲン低減化塗料、樹脂組成物、アレルゲン低減化製品及びアレルゲン低減化方法
25日前
続きを見る
他の特許を見る